GM Service Manual Online
For 1990-2009 cars only

Range Selector Displays Incorrect Range 3.8L


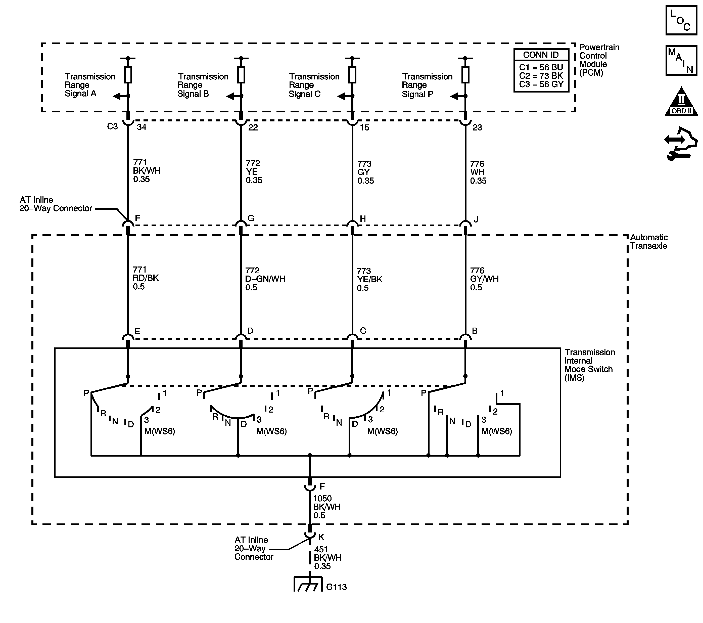
Object Number: 1546486  Size: LF
Master Electrical Component List
Automatic Transmission Controls Schematics
OBD II Symbol Description Notice
Control Module References

Circuit Description

The transmission internal mode switch (IMS) is a sliding contact switch attached to the selector detent inside the transmission side cover. The 4 inputs to the PCM indicate the position of the transmission range selector. The input voltage level at the PCM is high, B+, when the IMS is open and low when the switch is closed to ground. The 4 input parameters represented are Signals A, B, C and P, Parity. Refer to Transmission Internal Mode Switch Logic .

Test Description

The numbers below refer to the step numbers on the diagnostic table.

  1. HI values for all signals in all ranges indicates the ground circuit is OPEN.

  2. With the 20-way connector disconnected, all signals should indicate HI.

  3. If one circuit affects the other, this indicates a short between the two circuits.

  4. This step tests the internal transmission harness. If no fault is found in the harness, the fault will be in the switch.

Step

Action

Value(s)

Yes

No

1

  1. Install a scan tool.
  2. Turn ON the ignition, with the engine OFF.
  3. Select IMS on the scan tool.
  4. Place the range selector in each transmission range: P, R, N, D4, D3, D2 and D1.

Does each range selected match the scan tool IMS display?

--

Go to Intermittent Conditions in Engine Controls - 3.8L

Go to Step 2

2

  1. Select IMS A/B/C/P on the scan tool.
  2. Place the range selector in each transmission range: P, R, N, D4, D3, D2 and D1.

Does the IMS A/B/C/P display the specified values for each range?

HI/HI/HI/HI

Go to Step 12

Go to Step 3

3

  1. Turn OFF the ignition.
  2. Disconnect the AT Inline 20-way connector. Additional DTCs may set.
  3. Turn ON the ignition, with the engine OFF.
  4. Select IMS A/B/C/P on the scan tool.

Do the scan tool IMS A/B/C/P signals all indicate HI?

--

Go to Step 4

Go to Step 8

4

  1. Turn OFF the ignition.
  2. Install the J 44152 jumper harness on the engine side of the AT Inline 20-way connector.
  3. Turn ON the ignition, with the engine OFF.
  4. Using the J 39200 digital multimeter (DMM) and the J 35616 GM terminal test kit, measure the voltage at the TR signal A circuit of the J 44152 .
  5. Refer to Automatic Transmission Inline 20-Way Connector End View .

  6. Measure the voltage at the TR signal B circuit of the J 44152 .
  7. Measure the voltage at the TR signal C circuit of the J 44152 .
  8. Measure the voltage at the TR signal P circuit of the J 44152 .

Does the voltage measure ignition voltage at all four terminals?

--

Go to Step 5

Go to Step 9

5

Connect a fused jumper wire from the TR signal A circuit of the J 44152 to ground while monitoring the scan tool IMS A/B/C/P parameter.

Refer to Automatic Transmission Inline 20-Way Connector End View .

When the TR signal A circuit is grounded, do any other signal circuits indicate LOW?

--

Go to Step 10

Go to Step 6

6

Connect a fused jumper wire from the TR signal B circuit of the J 44152 to ground while monitoring the scan tool IMS A/B/C/P parameter.

Refer to Automatic Transmission Inline 20-Way Connector End View .

When the TR signal B circuit is grounded, do any other signal circuits indicate LOW?

--

Go to Step 10

Go to Step 7

7

Connect a fused jumper wire from the TR signal C circuit of the J 44152 to ground while monitoring the scan tool IMS A/B/C/P parameter.

Refer to Automatic Transmission Inline 20-Way Connector End View .

When the TR signal C circuit is grounded, do any other signal circuits indicate LOW?

--

Go to Step 10

Go to Step 11

8

Test the TR signal circuits of the IMS that did not indicate HI for a short to ground between the PCM and the AT Inline 20-way connector.

Refer to Testing for Short to Ground and Wiring Repairs in Wiring Systems.

Did you find and correct the condition?

--

Go to Step 17

Go to Step 16

9

Test the TR signal circuits of the IMS that did not indicate ignition voltage for an open between the PCM and the AT Inline 20-way connector.

Refer to Testing for Continuity and Wiring Repairs in Wiring Systems.

Did you find and correct the condition?

--

Go to Step 17

Go to Step 16

10

Test the affected TR signal circuits of the IMS for a shorted together condition between the PCM and the AT Inline 20-way connector.

Refer to Circuit Testing and Wiring Repairs in Wiring Systems.

Did you find and correct the condition?

--

Go to Step 17

Go to Step 16

11

Test the TR signal circuits of the IMS for an open or shorted condition between the AT Inline 20-way connector and the IMS.

Refer to Circuit Testing in Wiring Systems.

Did you find the condition?

--

Go to Step 14

Go to Step 15

12

Test the ground circuit of the IMS for an open between the AT Inline 20-way connector and the ground connection to the chassis.

Refer to Testing for Continuity and Wiring Repairs in Wiring Systems.

Did you find and correct the condition?

--

Go to Step 17

Go to Step 13

13

Test the ground circuit of the IMS for an open between the AT Inline 20-way connector and the IMS.

Refer to Testing for Continuity in Wiring Systems.

Did you find the condition?

--

Go to Step 14

Go to Step 15

14

Replace the automatic transmission wiring harness assembly.

Refer to Wiring Harness Replacement .

Did you complete the replacement?

--

Go to Step 17

--

15

Replace the lever assembly-manual shaft detent with internal mode switch.

Refer to Manual Shift Detent Lever with Shaft Position Switch Assembly Removal in Transmission Unit Repair Manual.

Did you complete the replacement?

--

Go to Step 17

--

16

Replace the PCM.

Refer to Control Module References in Computer/Integrating Systems for replacement, set-up and programming.

Did you complete the replacement?

--

Go to Step 17

--

17

  1. Turn ON the ignition, with the engine OFF.
  2. With the scan tool, observe the IMS display while selecting each transmission range: P, R, N, D4, D3, D2, and D1.

Does each selected transmission range match the scan tool IMS display?

--

System OK

Go to Step 1

Range Selector Displays Incorrect Range 3.6L


Object Number: 1530924  Size: LF
Master Electrical Component List
Automatic Transmission Controls Schematics
OBD II Symbol Description Notice
Control Module References

Circuit Description

The transmission internal mode switch (IMS) is a sliding contact switch attached to the selector detent inside the transmission side cover. The 4 inputs to the TCM indicate the position of the transmission range selector. The input voltage level at the TCM is high, B+, when the IMS is open and low when the switch is closed to ground. The 4 input parameters represented are Signals A, B, C and P, Parity. Refer to Transmission Internal Mode Switch Logic .

Test Description

The numbers below refer to the step numbers on the diagnostic table.

  1. HI values for all signals in all ranges indicates the ground circuit is OPEN.

  2. With the 20-way connector disconnected, all signals should indicate HI.

  3. If a circuit affects the other, this indicates a short between the 2 circuits.

  4. This step tests the internal transmission harness. If no fault is found in the harness, the fault will be in the switch.

Step

Action

Value(s)

Yes

No

1

  1. Install a scan tool.
  2. Turn ON the ignition, with the engine OFF.
  3. Select IMS on the scan tool.
  4. Place the range selector in each transmission range: P, R, N, D4, D3, D2 and D1.

Does each range selected match the scan tool IMS display?

--

Go to Intermittent Conditions in Engine Controls - 3.6L

Go to Step 2

2

  1. Select IMS A/B/C/P on the scan tool.
  2. Place the range selector in each transmission range: P, R, N, D4, D3, D2 and D1.

Does the IMS A/B/C/P display the specified values for each range?

HI/HI/HI/HI

Go to Step 12

Go to Step 3

3

  1. Turn OFF the ignition.
  2. Disconnect the AT Inline 20-way connector. Additional DTCs may set.
  3. Turn ON the ignition, with the engine OFF.
  4. Select IMS A/B/C/P on the scan tool.

Do the scan tool IMS A/B/C/P signals all indicate HI?

--

Go to Step 4

Go to Step 8

4

  1. Turn OFF the ignition.
  2. Install the J 44152 jumper harness on the engine side of the AT Inline 20-way connector.
  3. Turn ON the ignition, with the engine OFF.
  4. Using the J 39200 digital multimeter (DMM) and the J 35616 GM terminal test kit, measure the voltage at the TR signal A circuit of the J 44152 .
  5. Refer to Automatic Transmission Inline 20-Way Connector End View .

  6. Measure the voltage at the TR signal B circuit of the J 44152 .
  7. Measure the voltage at the TR signal C circuit of the J 44152 .
  8. Measure the voltage at the TR signal P circuit of the J 44152 .

Does the voltage measure ignition voltage at all four terminals?

--

Go to Step 5

Go to Step 9

5

Connect a fused jumper wire from the TR signal A circuit of the J 44152 to ground while monitoring the scan tool IMS A/B/C/P parameter.

Refer to Automatic Transmission Inline 20-Way Connector End View .

When the TR signal A circuit is grounded, do any other signal circuits indicate LOW?

--

Go to Step 10

Go to Step 6

6

Connect a fused jumper wire from the TR signal B circuit of the J 44152 to ground while monitoring the scan tool IMS A/B/C/P parameter.

Refer to Automatic Transmission Inline 20-Way Connector End View .

When the TR signal B circuit is grounded, do any other signal circuits indicate LOW?

--

Go to Step 10

Go to Step 7

7

Connect a fused jumper wire from the TR signal C circuit of the J 44152 to ground while monitoring the scan tool IMS A/B/C/P parameter.

Refer to Automatic Transmission Inline 20-Way Connector End View .

When the TR signal C circuit is grounded, do any other signal circuits indicate LOW?

--

Go to Step 10

Go to Step 11

8

Test the the TR signal circuits of the IMS that did not indicate HI for a short to ground between the TCM and the AT Inline 20-way connector.

Refer to Testing for Short to Ground and Wiring Repairs in Wiring Systems.

Did you find and correct the condition?

--

Go to Step 17

Go to Step 16

9

Test the the TR signal circuits of the IMS that did not indicate ignition voltage for an open between the TCM and the AT Inline 20-way connector.

Refer to Testing for Continuity and Wiring Repairs in Wiring Systems.

Did you find and correct the condition?

--

Go to Step 17

Go to Step 16

10

Test the affected the TR signal circuits of the IMS for a shorted together condition between the TCM and the AT Inline 20-way connector.

Refer to Circuit Testing and Wiring Repairs in Wiring Systems.

Did you find and correct the condition?

--

Go to Step 17

Go to Step 16

11

Test the the TR signal circuits of the IMS for an open or shorted condition between the AT Inline 20-way connector and the IMS.

Refer to Circuit Testing in Wiring Systems.

Did you find the condition?

--

Go to Step 14

Go to Step 15

12

Test the ground circuit of the IMS for an open between the AT Inline 20-way connector and the ground connection to the chassis.

Refer to Testing for Continuity and Wiring Repairs in Wiring Systems.

Did you find and correct the condition?

--

Go to Step 17

Go to Step 13

13

Test the ground circuit of the IMS for an open between the AT Inline 20-way connector and the IMS.

Refer to Testing for Continuity in Wiring Systems.

Did you find the condition?

--

Go to Step 14

Go to Step 15

14

Replace the automatic transmission wiring harness assembly.

Refer to Wiring Harness Replacement .

Did you complete the replacement?

--

Go to Step 17

--

15

Replace the lever assembly-manual shaft detent with internal mode switch.

Refer to Manual Shift Detent Lever with Shaft Position Switch Assembly Removal in Transmission Unit Repair Manual.

Did you complete the replacement?

--

Go to Step 17

--

16

Replace the TCM.

Refer to Control Module References in Computer/Integrating Systems for replacement, set-up and programming.

Did you complete the replacement?

--

Go to Step 17

--

17

  1. Turn ON the ignition, with the engine OFF.
  2. With the scan tool, observe the IMS display while selecting each transmission range: P, R, N, D4, D3, D2, and D1.

Does each selected transmission range match the scan tool IMS display?

--

System OK

Go to Step 1