GM Service Manual Online
For 1990-2009 cars only

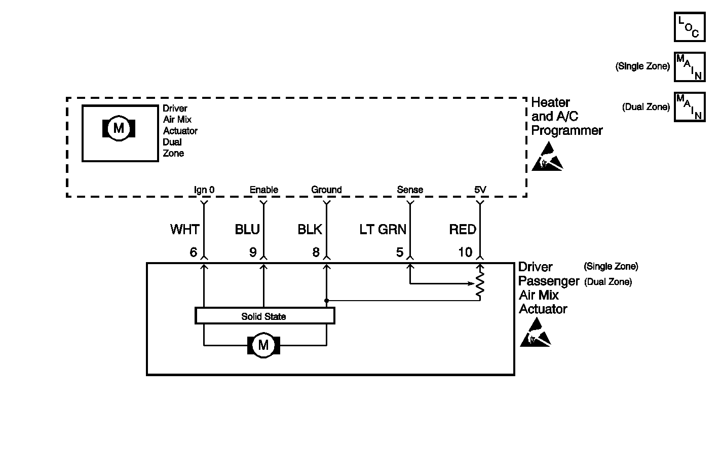
Object Number: 499594  Size: MF
HVAC Components
Cell 68: Vacuum Tank - Pontiac
Cell 68: Passenger Air Mix Actuator (Buick)
Handling ESD Sensitive Parts Notice
Handling ESD Sensitive Parts Notice

Circuit Description

The HVAC programmer commands the actuator to move by suppling battery voltage. The feedback supplied to the HVAC programmer is a regulated 5 volts. The feedback voltage is a function of the motor position with a high voltage of 4-5 volts indicating full cold door position. A low voltage of less than 1 volt indicates the full hot position. Operation of the air mix door actuator can be evaluated through the Scan Tool .

Conditions for Setting the DTC

The ignition is ON.

Action Taken When the DTC Sets

Only the full hot or full cold may be used by the system.

Conditions for Clearing the DTC

    • Using a Scan Tool .
    • A history DTC will clear when 40 consecutive IGN cycles have occurred without a malfunction.
    • HVAC programmer battery voltage is interrupted.

Step

Action

Value(s)

Yes

No

1

  1. Turn the ignition switch to the RUN position.
  2. Disconnect the passenger air mix valve actuator connector.
  3. Measure the voltage between passenger air mix valve actuator connector (harness side) terminal 8 and terminal 1.
  4. Refer to Measuring Voltage in Wiring Systems.

Does the voltage equal the specified value?

5 V

Go to Step 2

Go to Step 3

2

Measure the voltage between passenger air mix valve actuator connector (harness side) terminal 8 and terminal 9.

Refer to Measuring Voltage in Wiring Systems.

Is the voltage greater than or equal to the specified value?

4 V

Go to Step 4

Go to Step 3

3

  1. Inspect the following components for proper terminal contact and wiring:
  2. Refer to Intermittents and Poor Connections Diagnosis in Wiring Systems.

    • The passenger air mix valve actuator
    • The HVAC programmer
  3. If the terminal contact and wiring are OK, replace the HVAC programmer. Refer to Programmer Replacement .

Is the repair complete?

--

System OK

--

4

  1. Inspect the passenger air mix valve actuator for the following conditions:
  2. • Binding
    • Broken components
  3. Inspect the passenger air mix valve actuator connector for proper terminal contact.
  4. Refer to Intermittents and Poor Connections Diagnosis in Wiring Systems.

  5. If all components are OK, replace the passenger air mix valve actuator. Refer to Air Mix Actuator Replacement - Passenger .

Is the repair complete?

--

System OK

--