GM Service Manual Online
For 1990-2009 cars only

Removal Procedure

    CAUTION: Be careful when you handle a sensing and diagnostic module (SDM). Do not strike or jolt the SDM. Before applying power to the SDM:

       • Remove any dirt, grease, etc. from the mounting surface
       • Position the SDM horizontally on the mounting surface
       • Point the arrow on the SDM toward the front of the vehicle
       • Tighten all of the SDM fasteners and SDM bracket fasteners to the specified torque value
    Failure to follow the correct procedure could cause air bag deployment, personal injury, or unnecessary SIR system repairs.

  1. Disable the SIR system. Refer to Disabling the SIR System .
  2. Remove the passenger front seat. Refer to Seat Replacement in Seats.
  3. Remove the right carpet retainer. Refer to Front Floor Mat/Carpet Replacement in Interior Trim.

  4. Object Number: 186911  Size: SH
  5. Lift up the carpet and insulation in order to access the inflatable restraint sensing and diagnostic module (SDM).
  6. Remove the connector position assurance (CPA) (3) from the SDM harness connector (2).

  7. Object Number: 186917  Size: SH
  8. Disconnect the SDM harness connector (2) from the SDM (1).

  9. Object Number: 186921  Size: SH
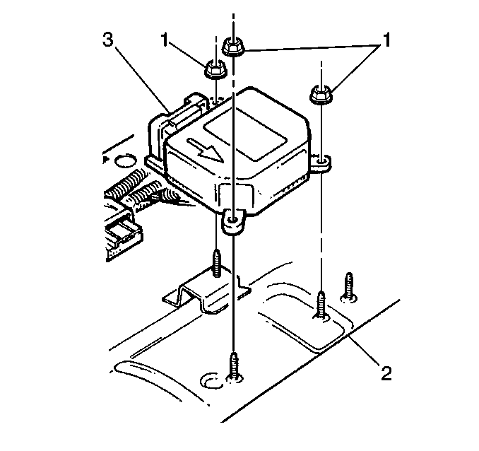
  10. Remove the SDM (3) mounting fasteners (1).
  11. Remove the SDM (3) from the floor sheet metal (2).

Installation Procedure


    Object Number: 186921  Size: SH
  1. Install the SDM (3) to the floor sheet metal (2).
  2. Notice: Use the correct fastener in the correct location. Replacement fasteners must be the correct part number for that application. Fasteners requiring replacement or fasteners requiring the use of thread locking compound or sealant are identified in the service procedure. Do not use paints, lubricants, or corrosion inhibitors on fasteners or fastener joint surfaces unless specified. These coatings affect fastener torque and joint clamping force and may damage the fastener. Use the correct tightening sequence and specifications when installing fasteners in order to avoid damage to parts and systems.

  3. Install the SDM mounting fasteners (1).
  4. Tighten
    Tighten fasteners to 9 N·m (80 lb in).


    Object Number: 186917  Size: SH
  5. Install the SDM harness connector (2) to the SDM (1).

  6. Object Number: 186911  Size: SH
  7. Install the connector position assurance (CPA) (3) to the SDM harness (2) connector.
  8. Install the right carpet retainer. Refer to Front Floor Mat/Carpet Replacement in Interior Trim.
  9. Install the passenger front seat. Refer to Seat Replacement in Seats.
  10. Important: The AIR BAG indicator may remain ON after the SDM has been replaced. DTC B1001 may set requiring the SDM part number to be set in multiple modules. If the indicator remains ON after enabling the SIR system, perform the diagnostic system check and follow the steps thoroughly to ensure that the SDM is set properly.

  11. Enable the SIR system. Refer to Enabling the SIR System .