GM Service Manual Online
For 1990-2009 cars only

Instrument Cluster Replacement Buick

Removal Procedure

    Caution: This vehicle is equipped with a Supplemental Inflatable Restraint (SIR) System. Failure to follow the correct procedure could cause the following conditions:

       • Air bag deployment
       • Personal injury
       • Unnecessary SIR system repairs
    In order to avoid the above conditions, observe the following guidelines:
       • Refer to SIR Component Views in order to determine if you are performing service on or near the SIR components or the SIR wiring.
       • If you are performing service on or near the SIR components or the SIR wiring, disable the SIR system. Refer to Disabling the SIR System.

  1. Disable the SIR system. Refer to Disabling the SIR System in SIR.
  2. Remove the IP trim plate. Refer to Instrument Cluster Trim Panel Replacement .

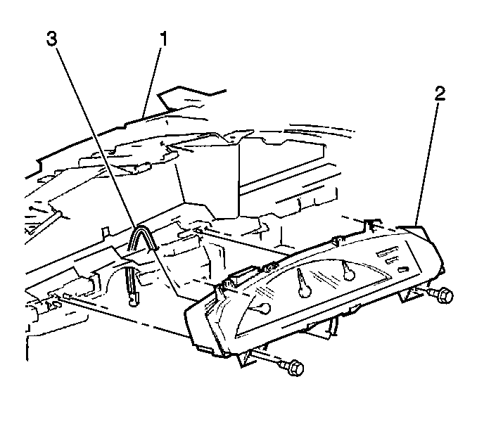
  3. Object Number: 324721  Size: SH
  4. Remove the PRNDL cable (1).
  5. Remove the panel lights twilight sentinel/traction control switch. Refer to Instrument Panel Multifunction Switch Assembly Replacement .

  6. Object Number: 324720  Size: SH
  7. Remove the cluster fasteners (1).
  8. Remove the instrument cluster (2).

Installation Procedure


    Object Number: 324720  Size: SH

    Notice: Use the correct fastener in the correct location. Replacement fasteners must be the correct part number for that application. Fasteners requiring replacement or fasteners requiring the use of thread locking compound or sealant are identified in the service procedure. Do not use paints, lubricants, or corrosion inhibitors on fasteners or fastener joint surfaces unless specified. These coatings affect fastener torque and joint clamping force and may damage the fastener. Use the correct tightening sequence and specifications when installing fasteners in order to avoid damage to parts and systems.

  1. Install the instrument cluster (2) and the fasteners (1).
  2. Tighten
    Tighten the fasteners to 1.5 N·m (14 lb in).

  3. Install the panel lights twilight sentinel/traction control switch. Refer to Instrument Panel Multifunction Switch Assembly Replacement .

  4. Object Number: 324721  Size: SH
  5. Install the PRNDL cable (1).
  6. Install the IP trim plate. Refer to Instrument Cluster Trim Panel Replacement .
  7. Enable the SIR system. Refer to Enabling the SIR System in SIR.

Instrument Cluster Replacement Oldsmobile

Removal Procedure

  1. Remove the IP cluster trim plate. Refer to Instrument Cluster Trim Panel Replacement .

  2. Object Number: 324724  Size: SH
  3. Remove the PRNDL cable (3), if equipped.
  4. Remove the instrument cluster fasteners to the IP (1).
  5. Pull the cluster rearward.

  6. Disconnect the cluster connector.
  7. Remove the instrument cluster.

Installation Procedure


    Object Number: 324724  Size: SH
  1. Connect the instrument cluster connector to the cluster (2).
  2. Install the PRNDL cable (3), if equipped.
  3. Notice: Use the correct fastener in the correct location. Replacement fasteners must be the correct part number for that application. Fasteners requiring replacement or fasteners requiring the use of thread locking compound or sealant are identified in the service procedure. Do not use paints, lubricants, or corrosion inhibitors on fasteners or fastener joint surfaces unless specified. These coatings affect fastener torque and joint clamping force and may damage the fastener. Use the correct tightening sequence and specifications when installing fasteners in order to avoid damage to parts and systems.

  4. Install the instrument cluster to the IP fasteners.
  5. Tighten
    Tighten the fasteners to 1.6 N·m (14 lb in).

  6. Install the IP cluster trim plate. Refer to Instrument Cluster Trim Panel Replacement .

Instrument Cluster Replacement Pontiac

Removal Procedure

    Caution: This vehicle is equipped with a Supplemental Inflatable Restraint (SIR) System. Failure to follow the correct procedure could cause the following conditions:

       • Air bag deployment
       • Personal injury
       • Unnecessary SIR system repairs
    In order to avoid the above conditions, observe the following guidelines:
       • Refer to SIR Component Views in order to determine if you are performing service on or near the SIR components or the SIR wiring.
       • If you are performing service on or near the SIR components or the SIR wiring, disable the SIR system. Refer to Disabling the SIR System.

  1. Disable the SIR system. Refer to Disabling the SIR System in SIR.
  2. Remove the steering column filler panel. Refer to Driver Knee Bolster Panel Replacement .
  3. Important: Remove the steering column lower mounting bolts prior to removing the upper mounting bolts or damage to the lower steering column bearing may occur.

  4. Lower the steering column. Refer to Steering Column Replacement in Steering Wheel and Column-Tilt.
  5. Place a protective cloth on the steering column in order to protect the column from scratches.
  6. Remove the IP cluster trim plate. Refer to Instrument Cluster Trim Panel Replacement .

  7. Object Number: 324726  Size: MH
  8. Remove the instrument cluster fasteners (1) to the IP.
  9. 6.1. Pull the right end of the cluster (3) rearward.
    6.2. Rotate the cluster assembly to face upward.
  10. Remove the instrument cluster connector (2) by reaching around the top (UB3) or the bottom (U50 or U2F) right side of the cluster assembly and depressing the locking tab.
  11. 7.1. Pull the bottom of the cluster assembly rearward.
    7.2. Rotate the cluster assembly to face upward.

    Important: The U50 and the U2F have 2 connectors.

  12. For the U50 and the U2F, remove the instrument cluster connector by reaching around the top or the bottom of the cluster assembly and depressing the locking tab.
  13. Remove the instrument cluster from the opening by sliding the cluster toward the center of the vehicle.

Installation Procedure


    Object Number: 324726  Size: MH
  1. Install the instrument panel cluster (3) to the IP.
  2. 1.1. Install the instrument panel cluster to the opening facing upward.
    1.2. Install the instrument panel cluster in to the opening from the center of the vehicle.
    1.3. Rotate the cluster to the proper position.
  3. Install the instrument cluster connectors (2) by reaching around the top or the bottom of the cluster assembly.
  4. Important: Do not force the connectors. Carefully align the connectors before pushing into place. Forcing bends the pins. Use a mirror in order to look down the back side of the cluster from the center of the vehicle in order to guide the connectors.

  5. Inspect for the following conditions:
  6. • Proper connections
    • Bent pins
    • Damaged pins

    Notice: Use the correct fastener in the correct location. Replacement fasteners must be the correct part number for that application. Fasteners requiring replacement or fasteners requiring the use of thread locking compound or sealant are identified in the service procedure. Do not use paints, lubricants, or corrosion inhibitors on fasteners or fastener joint surfaces unless specified. These coatings affect fastener torque and joint clamping force and may damage the fastener. Use the correct tightening sequence and specifications when installing fasteners in order to avoid damage to parts and systems.

  7. Install the instrument cluster (1) fasteners to the IP.
  8. Tighten
    Tighten the fasteners to 1.6 N·m (14 lb in).

  9. Install the IP cluster trim plate. Refer to Instrument Cluster Trim Panel Replacement .
  10. Remove the protective cover from the steering column.
  11. Raise the steering column. Refer to Steering Column Replacement in Steering Wheel and Column-Tilt.
  12. Install the steering column filler panel. Refer to Driver Knee Bolster Panel Replacement .
  13. Enable the SIR system. Refer to Enabling the SIR System in SIR.