GM Service Manual Online
For 1990-2009 cars only

Removal Procedure


    Object Number: 501004  Size: SH
  1. Remove the door. Refer to Door Replacement .
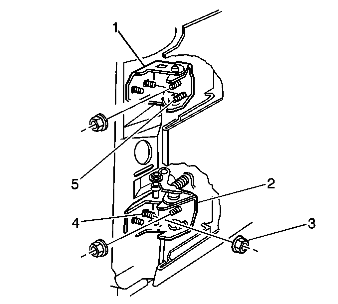
  2. Mark the position of the hinges (1) on the body pillar.
  3. Mark the position of the hinge on the door (2).
  4. Remove the fasteners (3) from the pillar side of the hinge.
  5. Remove the hinge half from the pillar (1).
  6. Important: Be careful to secure the studplate within the door, when removing the hinge half from the door. The studplate is not attached to the door and could fall into the door.

  7. Check for the location of the studplate.
  8. Remove the door trim panel. Refer to Front Side Door Trim Panel Replacement .
  9. Remove the hinge fasteners (3) from the door.
  10. Remove the hinge half from the door.

Installation Procedure

  1. Align the hinge half (1) to the body.

  2. Object Number: 501004  Size: SH

    Notice: Use the correct fastener in the correct location. Replacement fasteners must be the correct part number for that application. Fasteners requiring replacement or fasteners requiring the use of thread locking compound or sealant are identified in the service procedure. Do not use paints, lubricants, or corrosion inhibitors on fasteners or fastener joint surfaces unless specified. These coatings affect fastener torque and joint clamping force and may damage the fastener. Use the correct tightening sequence and specifications when installing fasteners in order to avoid damage to parts and systems.

  3. Install the hinge to the body fasteners (3).
  4. Tighten
    Tighten the fasteners to 47 N·m (35 lb ft).


    Object Number: 508154  Size: SH
  5. Align the door half of the hinge with the marks made on the door during removal.
  6. Install the hinge to door fasteners.
  7. Tighten
    Tighten the fasteners to 47 N·m (35 lb ft).

  8. Install the door. Refer to Door Replacement .
  9. Install the door trim panel. Refer to Front Side Door Trim Panel Replacement .
  10. Notice: Striker alignment is a crucial part of door latch operation. Do not use the door striker to adjust the door to the vehicle. Failure to properly adjust the striker can result in damage to the door latch and the striker.

  11. Inspect the door for proper alignment. Adjust the door as needed.
  12. Touch up any paint damage to the hinge fasteners with body color paint.
  13. Inspect the door alignment.