GM Service Manual Online
For 1990-2009 cars only
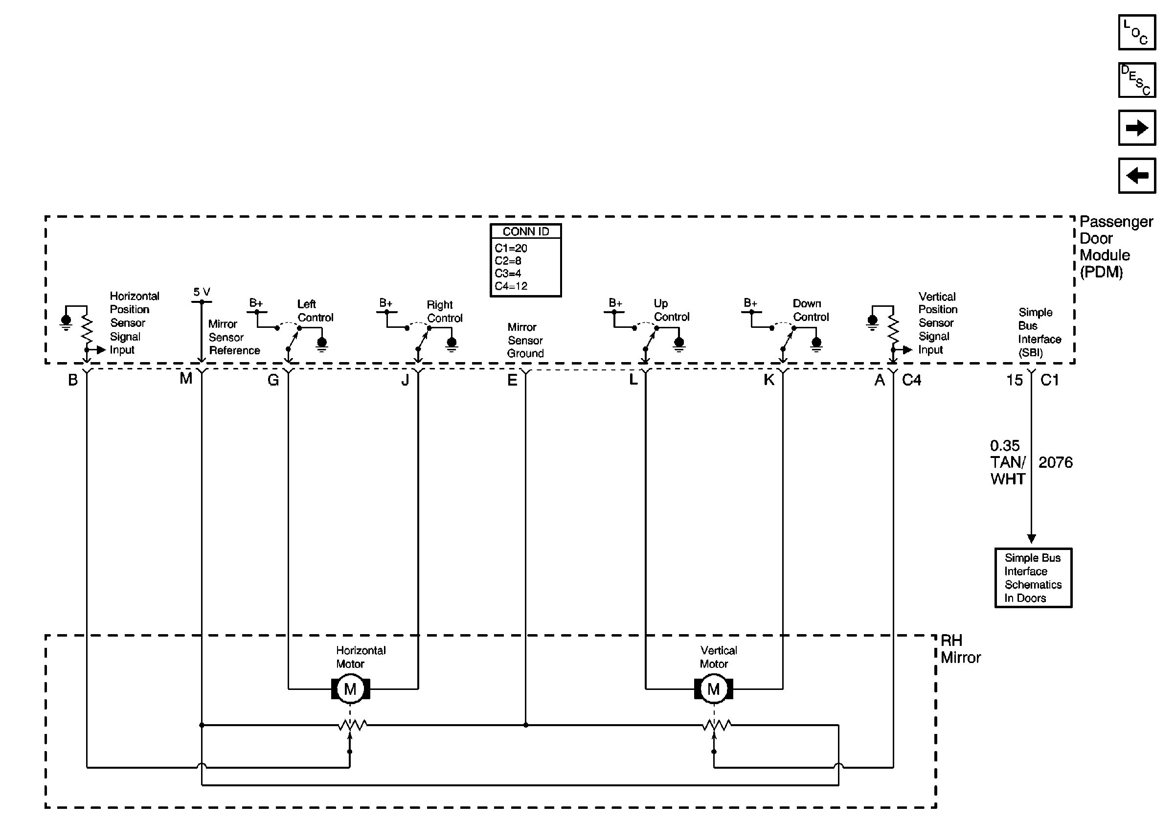
Figure 1:

LH Mirrors


Object Number: 411487  Size: FS
Power Door Systems Components
RH Mirrors
Simple Bus Interface
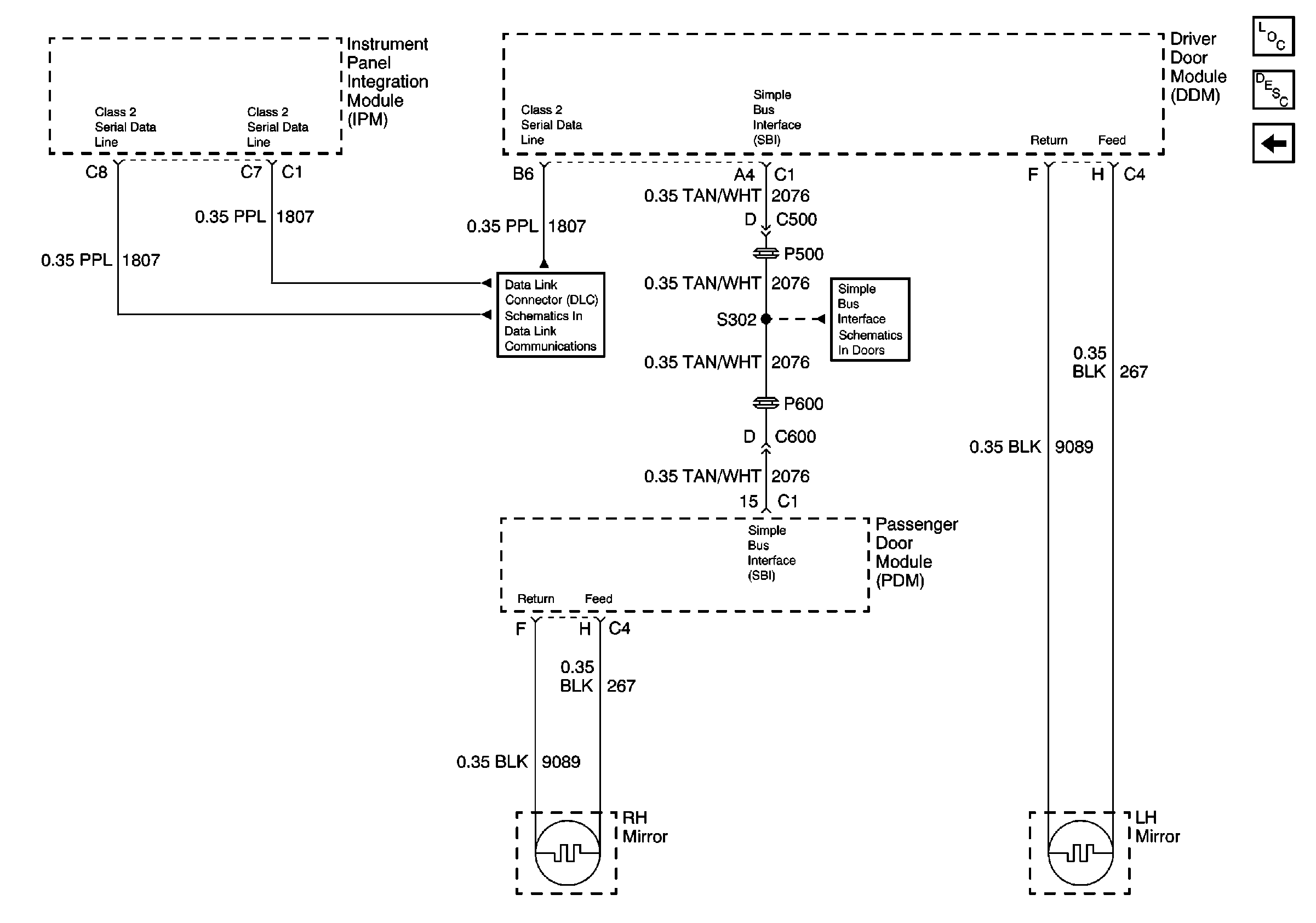
Figure 2:

RH Mirrors


Object Number: 411489  Size: FS
Power Door Systems Components
LH Mirrors W/A45
LH Mirrors
Simple Bus Interface
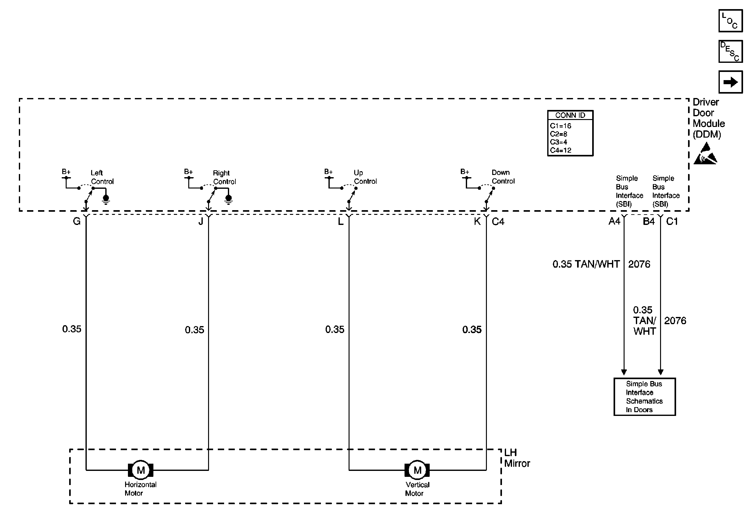
Figure 3:

LH Mirrors W/A45


Object Number: 411481  Size: FS
Power Door Systems Components
RH Mirrors W/A45
RH Mirrors
Simple Bus Interface
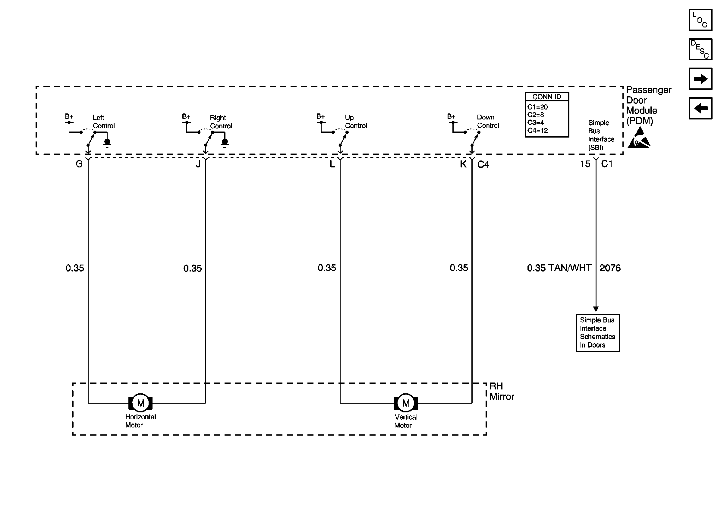
Figure 4:

RH Mirrors W/A45


Object Number: 411483  Size: FS
Power Door Systems Components
Heated Mirrors
LH Mirrors W/A45
Simple Bus Interface
Figure 5:

Heated Mirrors


Object Number: 411476  Size: FS
Power Door Systems Components
RH Mirrors W/A45
Serial Data Class 2
Simple Bus Interface