GM Service Manual Online
For 1990-2009 cars only

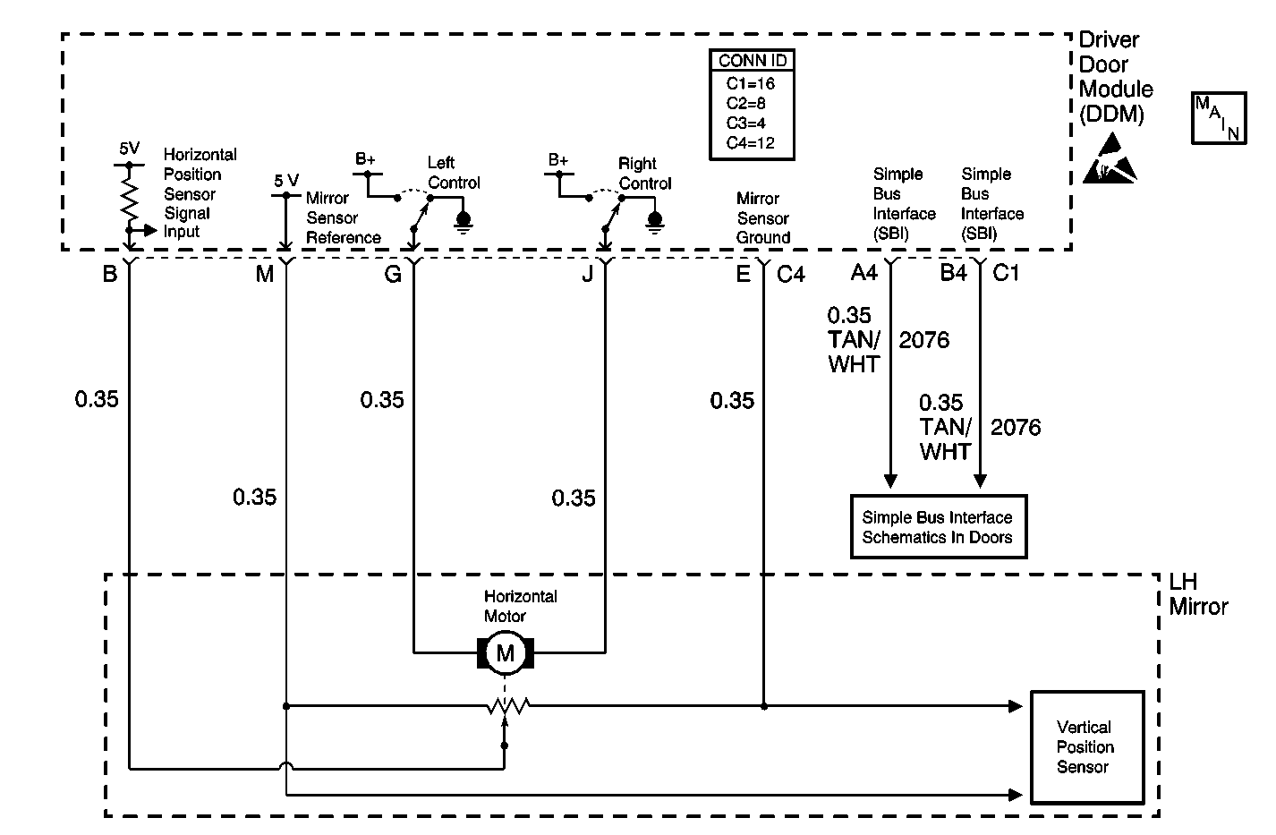
Object Number: 428872  Size: MF
LH Mirrors W/A45
Simple Bus Interface
Handling ESD Sensitive Parts Notice

Circuit Description

The driver mirror horizontal position sensor is a potentiometer. The driver door module (DDM) determines the horizontal position of the mirror based on the signal voltage from the sensor.

Conditions for Running the DTC

The DDM must be powered.

Conditions for Setting the DTC

The driver mirror horizontal position sensor voltage is below 0.25 V for 2 seconds.

Action Taken When the DTC Sets

Memory movements on this axis are disabled. Manual movements are not disabled.

Conditions for Clearing the DTC

When the DDM no longer senses the failure.

Step

Action

Value(s)

Yes

No

1

Did you perform A Diagnostic System Check - Door Systems?

--

Go to Step 2

Go to Diagnostic System Check - Door Systems

2

  1. Install a scan tool.
  2. Turn ON the ignition leaving the engine OFF.
  3. Observe the Lt. Horiz. Mirror Pos. parameter in the driver door module (DDM) data list using the scan tool.
  4. Move the mirror using the control switches.

Does the scan tool indicate that the voltage varies with movement and is within the specified range?

0.25-4.75 V

Go to Step 8

Go to Step 3

3

  1. Turn OFF the ignition.
  2. Disconnect the left-hand (LH) mirror harness connector.
  3. Probe the LH mirror horizontal position sensor signal circuit with a fused jumper connected to the LH mirror horizontal position sensor ground circuit.
  4. Turn ON the ignition leaving the engine OFF.
  5. Observe the Lt. Horiz. Mirror Pos. parameter in the DDM data list using the scan tool.

Does the scan tool indicate the voltage is near the specified value?

0-0.25 V

Go to Step 4

Go to Step 7

4

  1. Turn OFF the ignition.
  2. Measure the voltage of the mirror position sensor 5 volt reference circuit.
  3. Turn ON the ignition leaving the engine OFF.

Is the voltage is near the specified value?

4.75-5.50 V

Go to Step 5

Go to Step 7

5

Inspect for poor connections at the harness connector of the DDM harness connector. Refer to Testing for Intermittent Conditions and Poor Connections and Connector Repairs in Wiring Systems.

Did you find and correct the condition?

--

Go to Step 8

Go to Step 6

6

Replace the mirror . Refer to Power Mirror Replacement

Did you complete the replacement?

--

Go to Step 8

--

7

Replace the DDM . Refer to Door Control Module Replacement

Did you complete the replacement?

--

Go to Step 8

--

8

  1. Clear the DTCs using the scan tool.
  2. Operate the vehicle within the Conditions for Running the DTC as specified in the supporting text.

Does the DTC reset?

--

Go to Step 2

System OK