GM Service Manual Online
For 1990-2009 cars only
Makes
🢒
Buick
🢒
2001
🢒
LeSabre
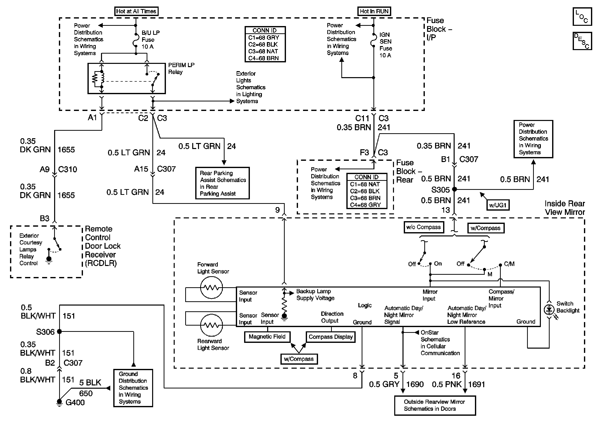
🢒 Inside Rear View Mirror
Inside Rear View Mirror
Master Electrical Component List
Automatic Day-Night Mirror Description and Operation
Underhood Fuse Block- PCM, ABS, HZDT/SG, F/PMP, PK LP Fuses and F/PMP Relay
IP Fuse Block- IGN SEN Fuse/ Rear Fuse Block- HTD BK LITE Relay
IP Fuse Block- IGN SEN Fuse/ Rear Fuse Block- HTD BK LITE Relay
IP Fuse Block- IGN SEN Fuse/ Rear Fuse Block- HTD BK LITE Relay
Backup Lights Schematic
Power and Ground
G400 (1 of 2)
Driver Door Module