GM Service Manual Online
For 1990-2009 cars only
Makes
🢒
Buick
🢒
2001
🢒
LeSabre
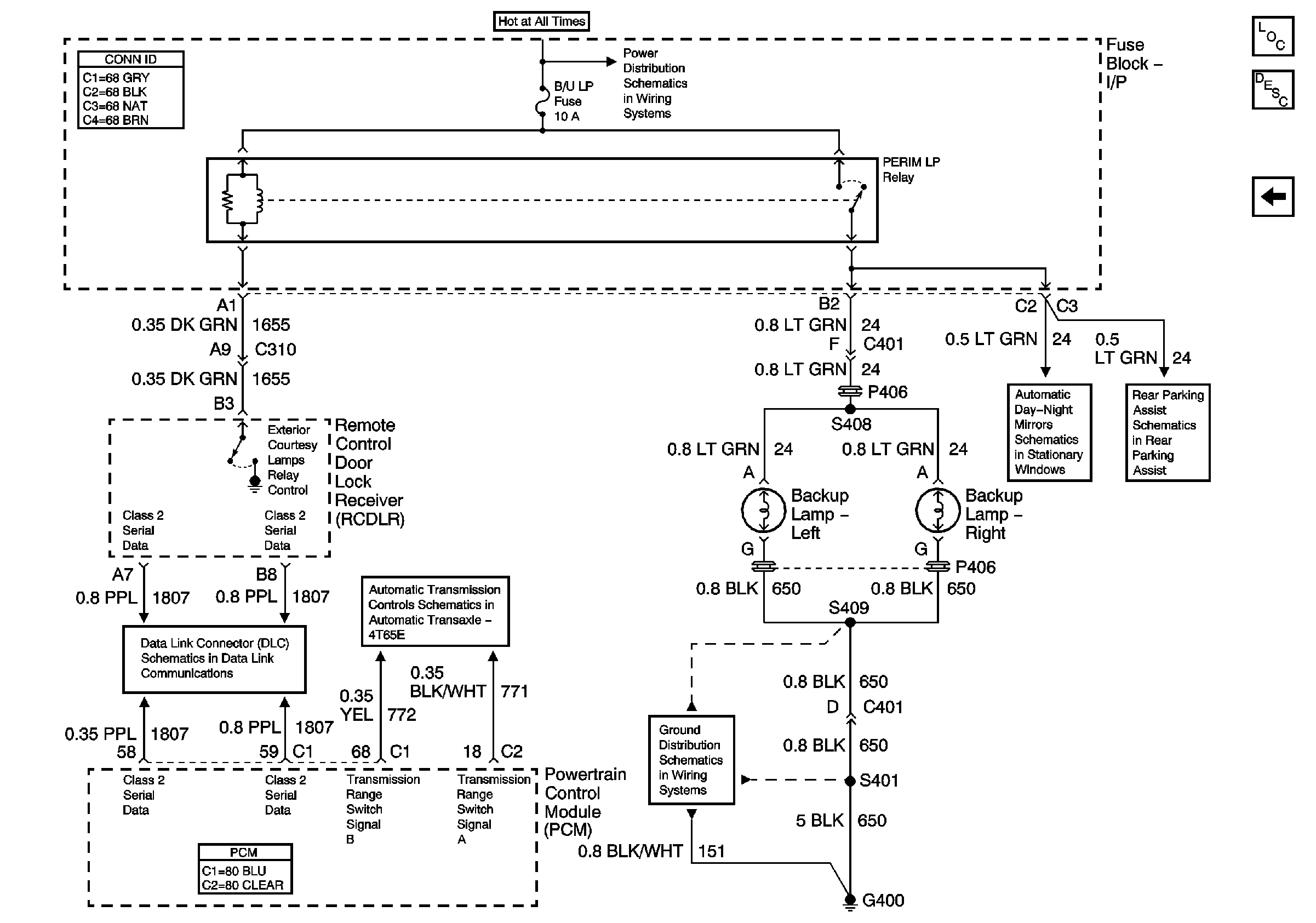
🢒 Backup Lights Schematic
Backup Lights Schematic
Master Electrical Component List
Exterior Lighting Systems Description and Operation
Underhood Fuse Block- PCM, ABS, HZDT/SG, F/PMP, PK LP Fuses and F/PMP Relay
Inside Rear View Mirror
Class 2 Serial Data Line
G400 (1 of 2)