GM Service Manual Online
For 1990-2009 cars only
Makes
🢒
Buick
🢒
2004
🢒
LeSabre
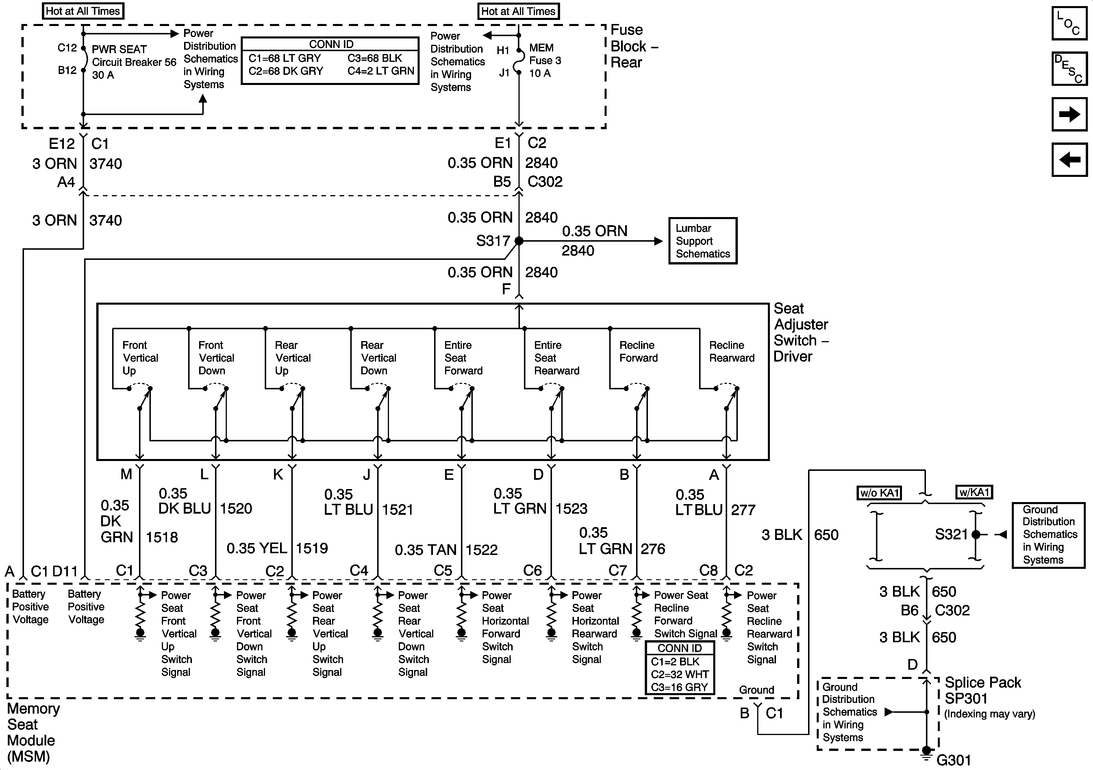
🢒 Power, Ground, Driver Seat Switch and Memory Seat Module (MSM)
Power, Ground, Driver Seat Switch and Memory Seat Module (MSM)
Power, Ground, Driver Seat Switch and Memory Seat Module (MSM)
Master Electrical Component List
Memory Function Switch
Driver Front Heated Seat Switch
G200 (2 of 2)
G200 (2 of 2)
Lumbar (w/ Memory)
HTDST RF, HTDST LF, DIM, and MEM Fuses (Fuse Block Rear)
PWR WDO and PWR SEAT Circuit Breakers (Fuse Block Rear)