GM Service Manual Online
For 1990-2009 cars only
Makes
🢒
Buick
🢒
2005
🢒
LeSabre
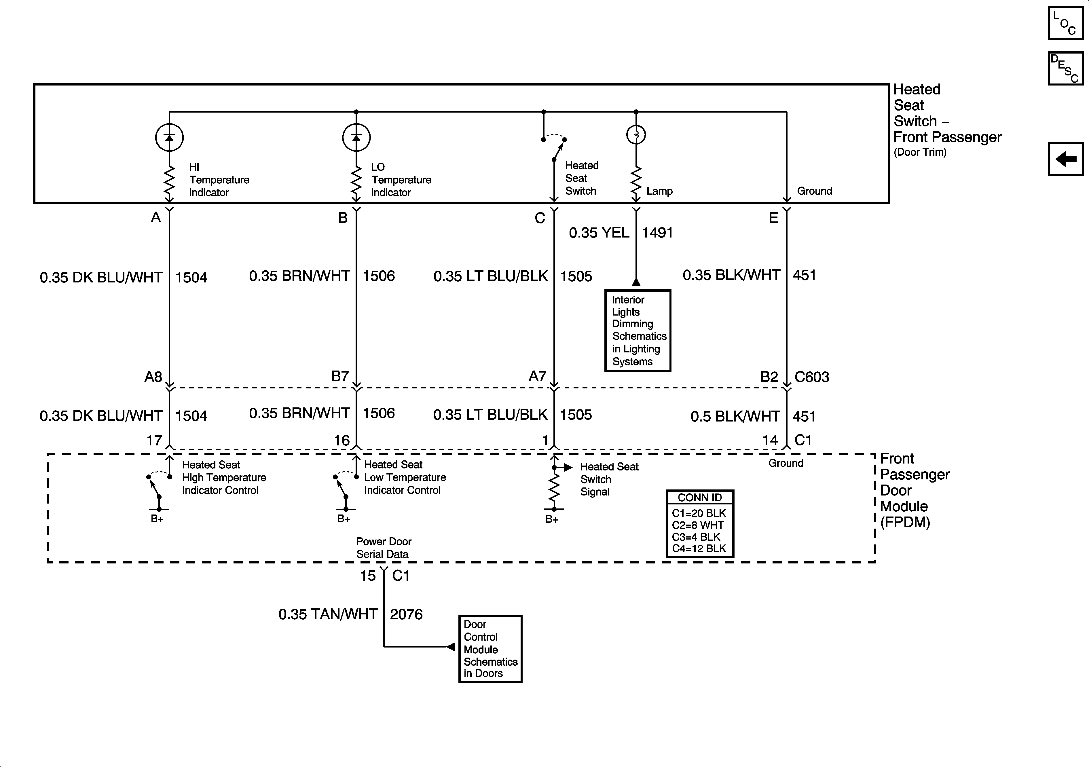
🢒 Front Passenger Front Heated Seat Switch
Front Passenger Front Heated Seat Switch
Front Passenger Front Heated Seat Switch
Master Electrical Component List
Heated Seats Description and Operation
Front Passenger Front Heated Seat Module
Front Doors Dimming
Power Door Serial Data