GM Service Manual Online
For 1990-2009 cars only
Makes
🢒
Buick
🢒
2005
🢒
LeSabre
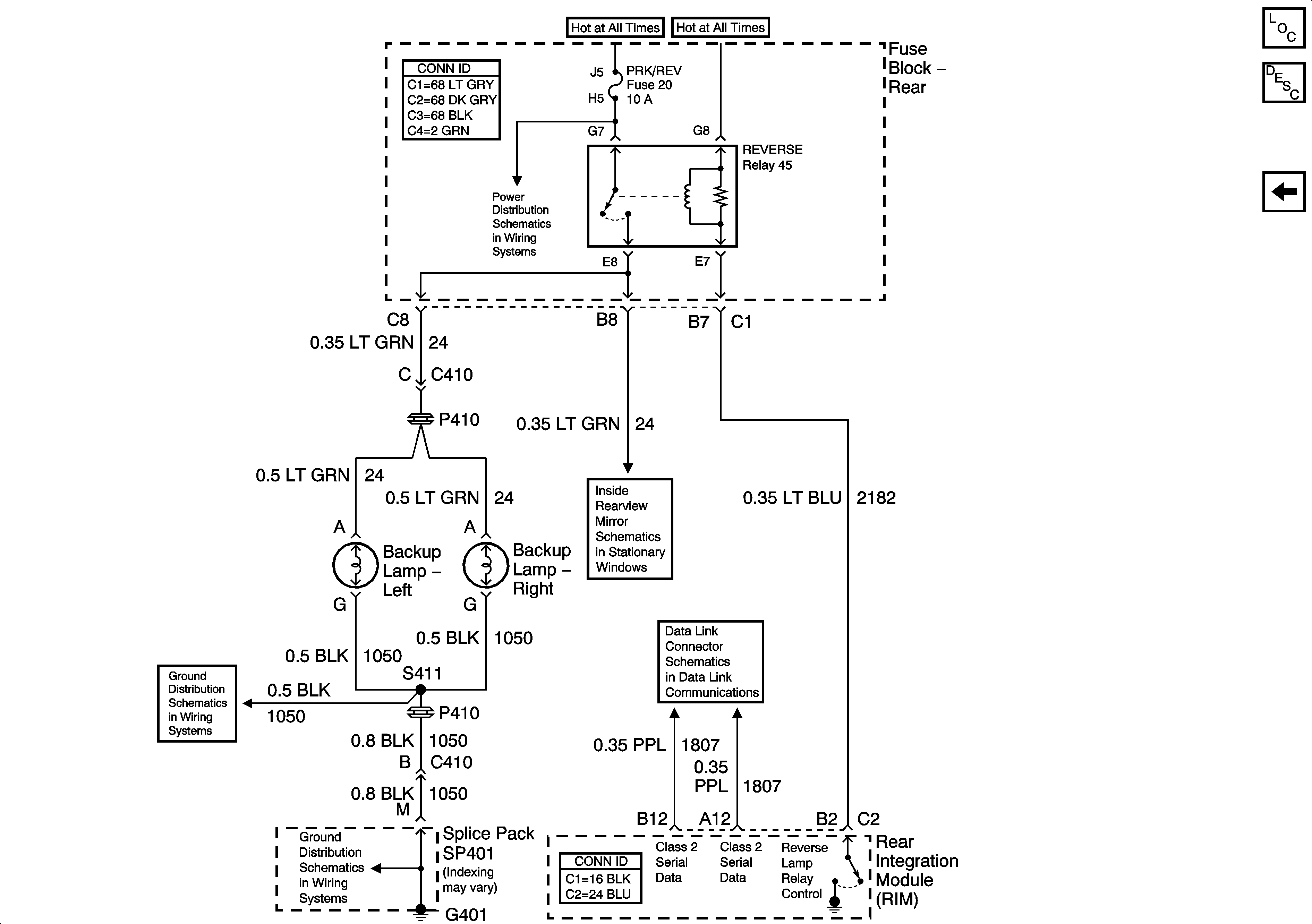
🢒 Backup Lamps
Backup Lamps
Backup Lamps
Master Electrical Component List
Exterior Lighting Systems Description and Operation
Passengers Side Exterior Lamps
Battery Feed to Rear Fuse Block
Inside Rear View Mirror (DD7/DD8)
Serial Data Class 2
G401 - 1 of 2
G401 - 1 of 2