GM Service Manual Online
For 1990-2009 cars only
Makes
🢒
Buick
🢒
2005
🢒
LeSabre
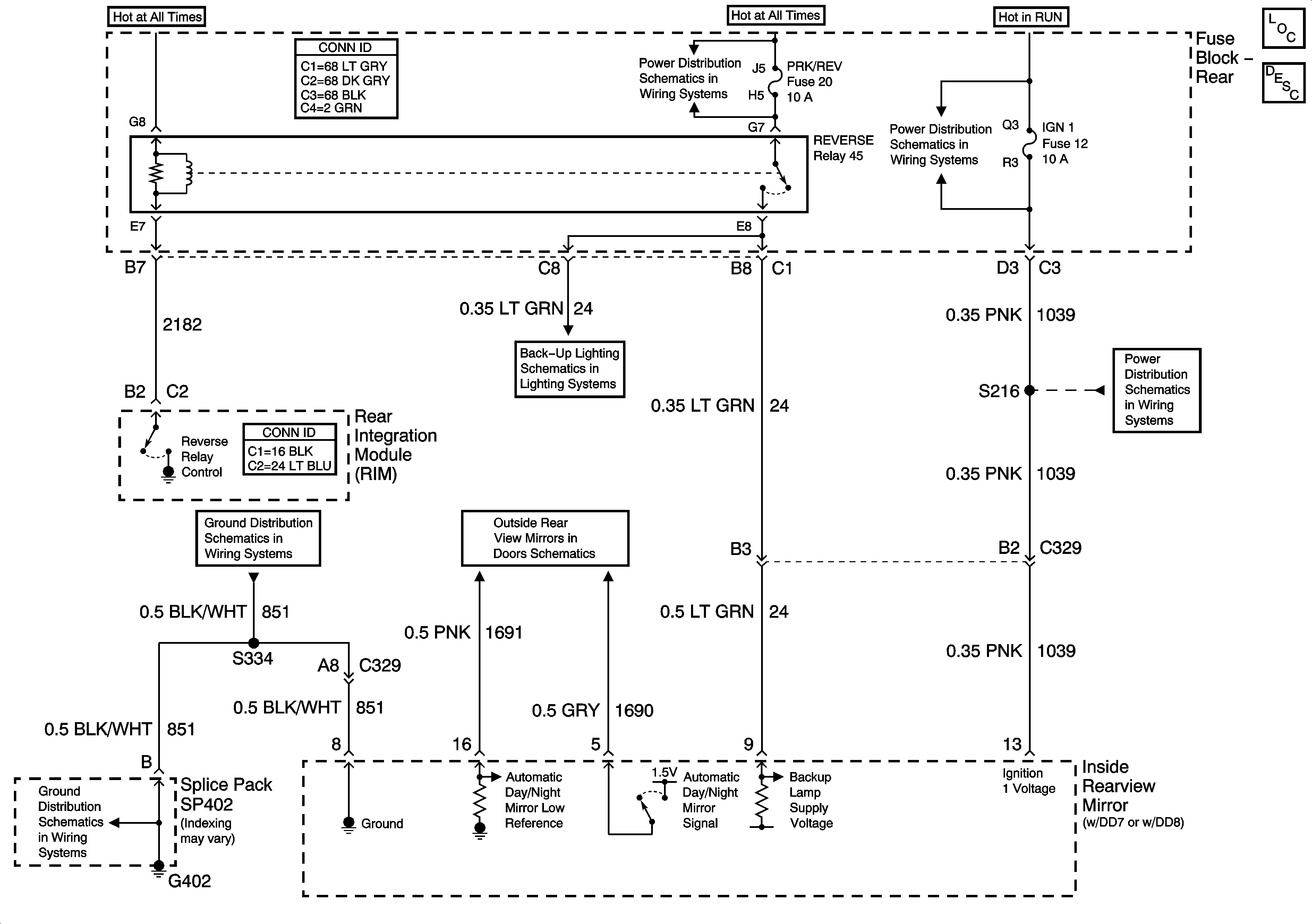
🢒 Inside Rear View Mirror (DD7/DD8)
Inside Rear View Mirror (DD7/DD8)
Inside Rear View Mirror (DD7/DD8)
Master Electrical Component List
Automatic Day-Night Mirror Description and Operation
Fuse Block Rear - IGN SW and NSBU Fuses
Fuse Block Rear - IGN-3 and ABS Fuses
Backup Lamps
Fuse Block Rear - IGN-3 and ABS Fuses
G402
Heated Mirrors
G402