GM Service Manual Online
For 1990-2009 cars only
Makes
🢒
Buick
🢒
1998
🢒
Park Avenue
🢒
Suspension
🢒
Tire Pressure Monitoring
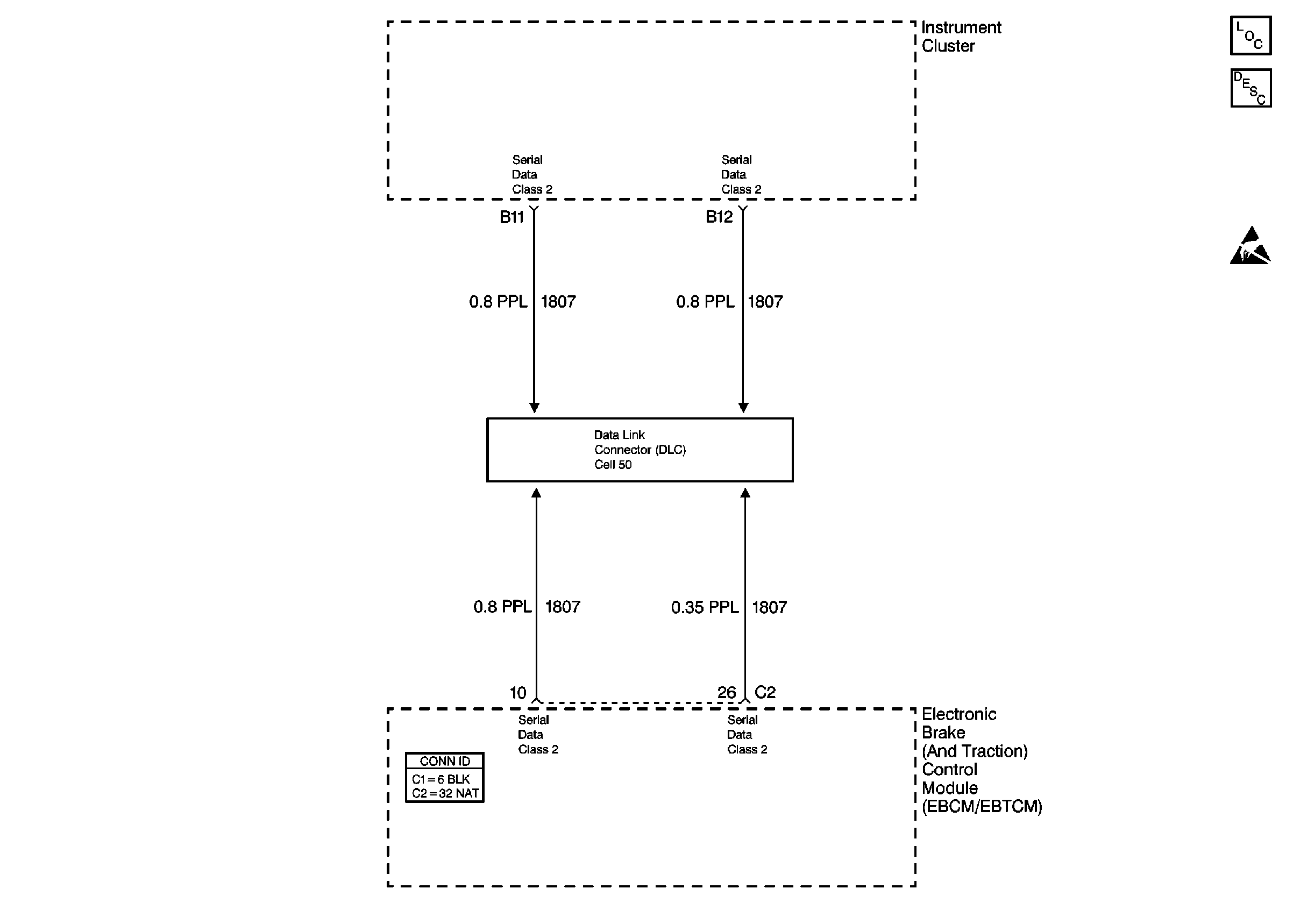
🢒 Tire Pressure Monitoring System Schematics
Cell 48
Tire Pressure Monitoring System Components
Tire Pressure Monitor System Circuit Description
Handling ESD Sensitive Parts Notice
Cell 50: Class 2 Serial Data Line