GM Service Manual Online
For 1990-2009 cars only

Object Number: 397532  Size: MF
ABS Components
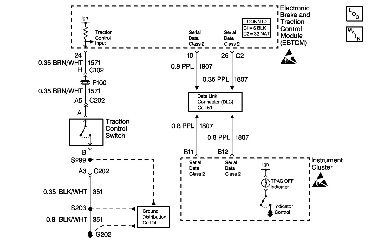
Cell 44: Traction Control Switch and PCM
Handling ESD Sensitive Parts Notice
Cell 14: G202 (1 of 4)
Handling ESD Sensitive Parts Notice
Cell 50: Class 2 Serial Data Line

Circuit Description

The Instrument Panel Cluster (IPC) turn the ABS Indicator on during the IPC bulb check for approximately 3 seconds when the ignition switch is turned to the ON position. If the EBCM/EBTCM sets a Diagnostic Trouble Code (DTC) the EBCM/EBTCM sends the IPC the command to turn the ABS Indicator on.

Test Description

The numbers below refer to step numbers on the diagnostic table.

  1. Checks if the IPC has the ability to turn the ABS Indicator on.

ABS Indicator Inoperative with No DTC Set

Step

Action

Value(s)

Yes

No

DEFINITION: The ABS indicator does not come on during the IPC bulb check.

1

Was the ABS Diagnostic System Check performed?

--

Go to Step  2

Go to Diagnostic System Check

2

Using a scan tool in ABS/TCS Special Functions attempt to turn the ABS indicator on.

Did the ABS indicator turn on?

--

Go to Step  3

Go to Step  4

3

Replace the EBCM/EBTCM. Refer to Electronic Brake Control Module Replacement .

Is the replacement complete?

--

Go to Diagnostic System Check

--

4

Replace the instrument panel cluster. Refer to Instrument Cluster Replacement in Instrument Panel, Gauges and Console.

--

Go to Diagnostic System Check

--