GM Service Manual Online
For 1990-2009 cars only

Removal Procedure

Caution: When you are carrying an undeployed inflator module:

   • Do not carry the inflator module by the wires or connector on the inflator module
   • Make sure the bag opening points away from you
When you are storing an undeployed inflator module, make sure the bag opening points away from the surface on which the inflator module rests. When you are storing a steering column, do not rest the column with the bag opening facing down and the column vertical. Provide free space for the air bag to expand in case of an accidental deployment. Otherwise, personal injury may result.

  1. Disable the SIR system. Refer to Disabling the SIR System .

  2. Object Number: 188195  Size: SH
  3. Remove the Instrument Panel upper trim pad assembly from the IP carrier. Refer to Instrument Panel Upper Trim Pad Replacement in Instrument Panel, Gauges, and Console.
  4. Remove the inflatable restraint IP module mounting fasteners, 2 front and 2 rear.

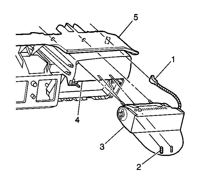
  5. Object Number: 188188  Size: SH
  6. Slide the inflatable restraint IP module (3) from the opening (4) in the IP carrier (5).
  7. Fully deploy the module before disposal. If the module was replaced under warranty, fully deploy and dispose of the module after the required retention period. Refer to Inflator Module Handling, Shipping, and Scrapping .

Installation Procedure


    Object Number: 188188  Size: SH
  1. Route the pigtail and connector (1) through the hole in the front of the IP carrier opening (4).
  2. Slide the inflatable restraint IP module (3) into the IP carrier opening (4).

  3. Object Number: 188195  Size: SH

    Notice: Use the correct fastener in the correct location. Replacement fasteners must be the correct part number for that application. Fasteners requiring replacement or fasteners requiring the use of thread locking compound or sealant are identified in the service procedure. Do not use paints, lubricants, or corrosion inhibitors on fasteners or fastener joint surfaces unless specified. These coatings affect fastener torque and joint clamping force and may damage the fastener. Use the correct tightening sequence and specifications when installing fasteners in order to avoid damage to parts and systems.

  4. Install all of the inflatable restraint IP module mounting fasteners (2 front and 2 rear). Do not tighten the fasteners.
  5. Torque the front fasteners (2) first, then torque the rear fasteners.
  6. Tighten
    Tighten fasteners to 16 N·m (12 lb ft).

  7. Install the IP upper trim pad to the IP carrier. Refer to Instrument Panel Upper Trim Pad Replacement in Instrument Panel, Gauges, and Console.
  8. Enable the SIR system. Refer to Enabling the SIR System .