GM Service Manual Online
For 1990-2009 cars only
Makes
🢒
Buick
🢒
1998
🢒
Park Avenue
🢒
Body and Accessories
🢒
Wipers/Washer Systems
🢒 Wiper/Washer System (Pulse) Schematics
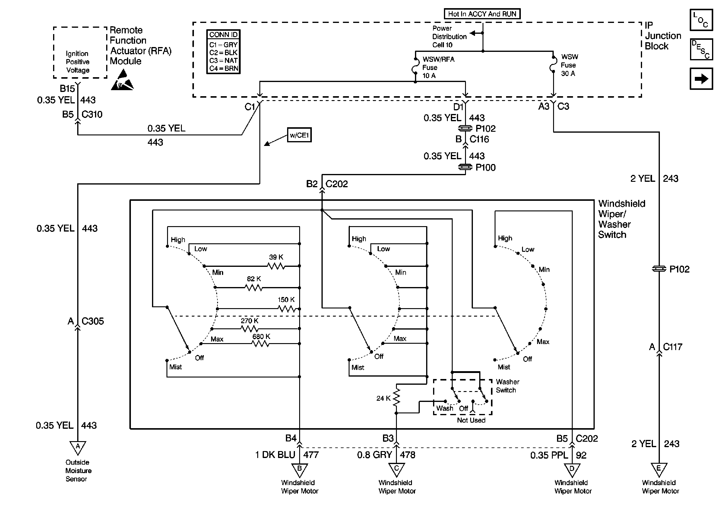
Figure
1:
Cell 91: Windshield Wiper/Washer Switch
Wiper/Washer System Components
Cell 91: Windshield Wiper Motor
Handling ESD Sensitive Parts Notice
Cell 91: Windshield Wiper Motor
Cell 91: Windshield Wiper Motor
Cell 91: Windshield Wiper Motor
Cell 91: Windshield Wiper Motor
Cell 91: Windshield Wiper Motor
Cell 10: WSW, WSW/RFA, HUD, ELC, CR CONT, A/C and HVAC Fuses
Wiper/Washer System Operation
Power and Grounding Connector End Views
Figure
2:
Cell 91: Windshield Wiper Motor
Wiper/Washer System Components
Cell 148: Inside Rear View Mirror
Cell 14: G400 (1 of 2)
Handling ESD Sensitive Parts Notice
Cell 14: G106 and G104
Cell 91: Windshield Wiper/Washer Switch
Cell 91: Windshield Wiper/Washer Switch
Cell 91: Windshield Wiper/Washer Switch
Cell 91: Windshield Wiper/Washer Switch
Cell 91: Windshield Wiper/Washer Switch
Cell 91: Windshield Wiper/Washer Switch
Wiper/Washer System Operation