GM Service Manual Online
For 1990-2009 cars only
Figure 1:

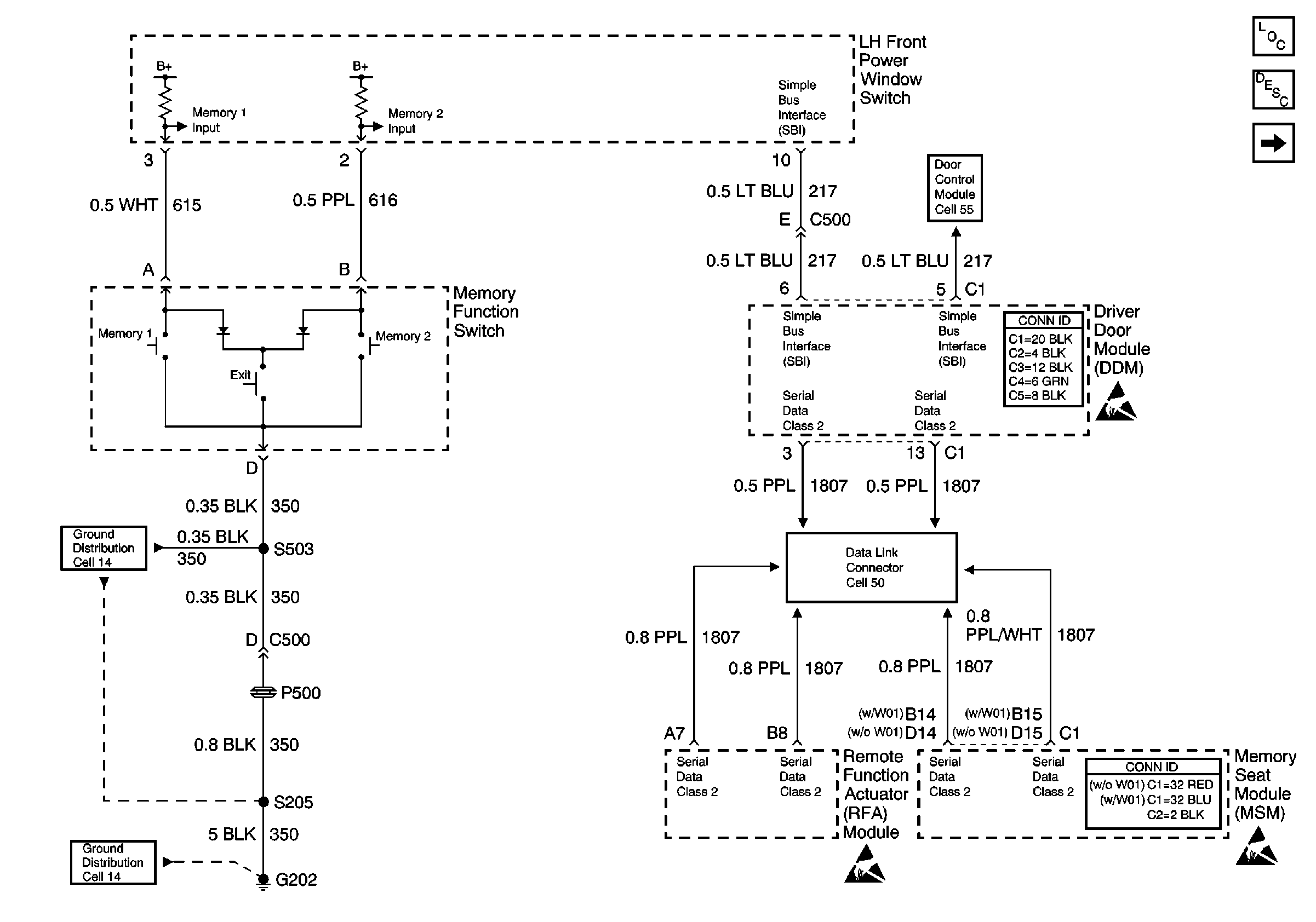
Cell 141: Memory Seat/Mirror Switch


Object Number: 455816  Size: FS
Power Door Systems Connector End Views
Power Seat Connector End Views
Door Control Module Schematics
Handling ESD Sensitive Parts Notice
Handling ESD Sensitive Parts Notice
Handling ESD Sensitive Parts Notice
Data Link Connector Schematics
Ground Distribution Schematics
Ground Distribution Schematics
Power Seat Systems Components
Memory Seat Circuit Description
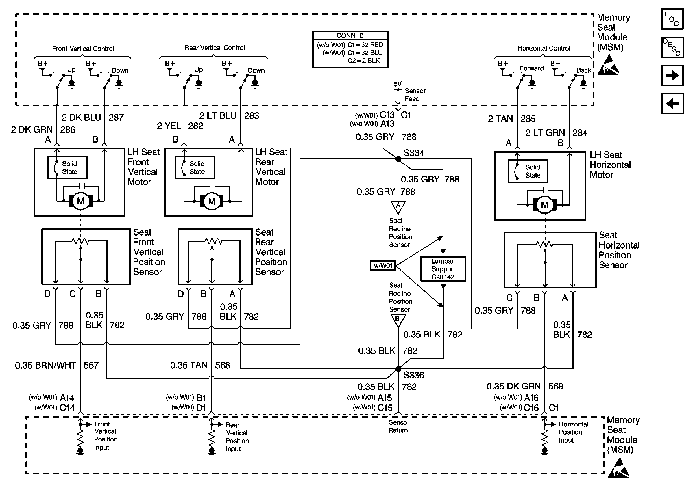
Cell 141: Left Seat Switch
Figure 2:

Cell 141: Left Seat Switch


Object Number: 455819  Size: FS
Power Distribution Schematics
Power Distribution Schematics
Power Distribution Schematics
Power Seat Connector End Views
Power and Grounding Connector End Views
Ground Distribution Schematics
Ground Distribution Schematics
Handling ESD Sensitive Parts Notice
Cell 141: Memory Seat/Mirror Switch
Cell 141: Left Seat Motors
Memory Seat Circuit Description
Power Seat Systems Components
Figure 3:

Cell 141: Left Seat Motors


Object Number: 455821  Size: FS
Power Seat Connector End Views
Lumbar Support Schematics
Power Seat Systems Components
Memory Seat Circuit Description
Cell 141: Left Seat Recline Motor and Seat Headrest Motor
Cell 141: Left Seat Switch
Handling ESD Sensitive Parts Notice
Cell 141: Left Seat Recline Motor and Seat Headrest Motor
Cell 141: Left Seat Recline Motor and Seat Headrest Motor
Handling ESD Sensitive Parts Notice
Figure 4:

Cell 141: Left Seat Recline Motor and Seat Headrest Motor


Object Number: 455823  Size: FS
Power and Grounding Connector End Views
Power Distribution Schematics
Power Distribution Schematics
Power Seat Systems Components
Memory Seat Circuit Description
Cell 141: Left Seat Motors
Handling ESD Sensitive Parts Notice
Cell 141: Left Seat Motors
Cell 141: Left Seat Motors
Handling ESD Sensitive Parts Notice
Power Seat Connector End Views