GM Service Manual Online
For 1990-2009 cars only

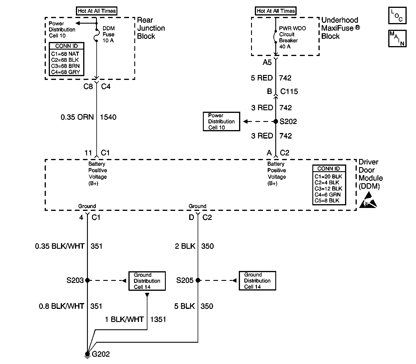
Object Number: 460194  Size: LF
Cell 10: BATT 1, RDM, C/LTR, DDM, HTDST L, TRK REL, PDM, SBM, and CSTR/SBM FuseS
Cell 10: SUNROOF Fuse and PWR WDO Circuit Breaker
Power Door Systems Components
Cell 55: DDM, PDM and RDM
Handling ESD Sensitive Parts Notice
Cell 14: G202 (1 of 4)
Cell 14: G202 (3 of 4)
Power Door Systems Connector End Views
Power and Grounding Connector End Views

Circuit Description

The battery positive voltage (B+) is supplied to the driver door module (DDM) at the DDM connector C1 terminal 11, CKT 1540 (ORN). The DDM monitors this voltage in order to determine if the voltage is within a valid operating range.

Conditions for Setting the DTC

The B+ level falls below 9 volts for 1 second or more.

Action Taken When the DTC Sets

    • DTC B1983 is stored in the driver door module (DDM) memory.
    • The DDM does not respond to any manual or memory inputs when the voltage is less than 9 volts.
    • No driver warning is displayed for this DTC.
    • The DDM switch failure and the position sensor failure DTCs will not set while DTC B1983 is current.

Conditions for Clearing the DTC

    • The B+ rises above 9.5 volts for approximately 1.2 seconds.
    • The history DTC clears after 50 ignition cycles.
    • Use a scan tool in order to clear a history DTC.

Diagnostic Aids

The driver door module (DDM) does not test for low B+ during, and for 2 seconds following, the engine crank mode. This ensures that DTC B1983 is not improperly set .

Test Description

The number(s) below refer to the step number(s) on the diagnostic table.

  1. Perform the system check before diagnosing DTC B1983.

  2. This step verifies that the DTC was not incorrectly set.

  3. This step determines whether the malfunction is in the charging system or in the driver door module (DDM).

  4. Clear all of the DTCs after completing the repair procedure.

Step

Action

Value(s)

Yes

No

1

Did you perform the Power Door Diagnostic System Check?

--

Go to Step 2

Go to Diagnostic System Check - Power Door Systems

2

  1. Turn ON the ignition.
  2. Connect a scan tool to the data link connector (DLC).
  3. Select DATA from the driver door module (DDM) data list.

Is the battery positive voltage greater than the specified value?

9 V

Go to Step 4

Go to Step 3

3

  1. Turn OFF the ignition.
  2. Disconnect the DDM connector C1.
  3. Measure the voltage between the DDM connector C1 terminal 11, CKT 1540 (ORN), and ground.

Is the voltage less than the specified value?

9 V

Go to Charging System Check in Engine Electrical

Go to Step 4

4

Replace the DDM. Refer to Front Door Module Replacement .

Did you complete the repair?

--

Go to Step 5

--

5

  1. Turn OFF the ignition.
  2. Reconnect or reinstall any of the connectors or the components that were disconnected or removed.
  3. Turn ON the ignition.
  4. Clear any DTCs.

Did you clear all of the DTCs?

--

Go to Diagnostic System Check - Power Door Systems

--