GM Service Manual Online
For 1990-2009 cars only
Table 1: Door Travel Value

Object Number: 452102  Size: MF
HVAC Components
Cell 68: Temperature Actuators
Handling ESD Sensitive Parts Notice
Cell 68: Temperature Actuators
Cell 68: Temperature Actuators
Cell 10: WSW, WSW/RFA, HUD, ELC, CR CONT, A/C and HVAC Fuses

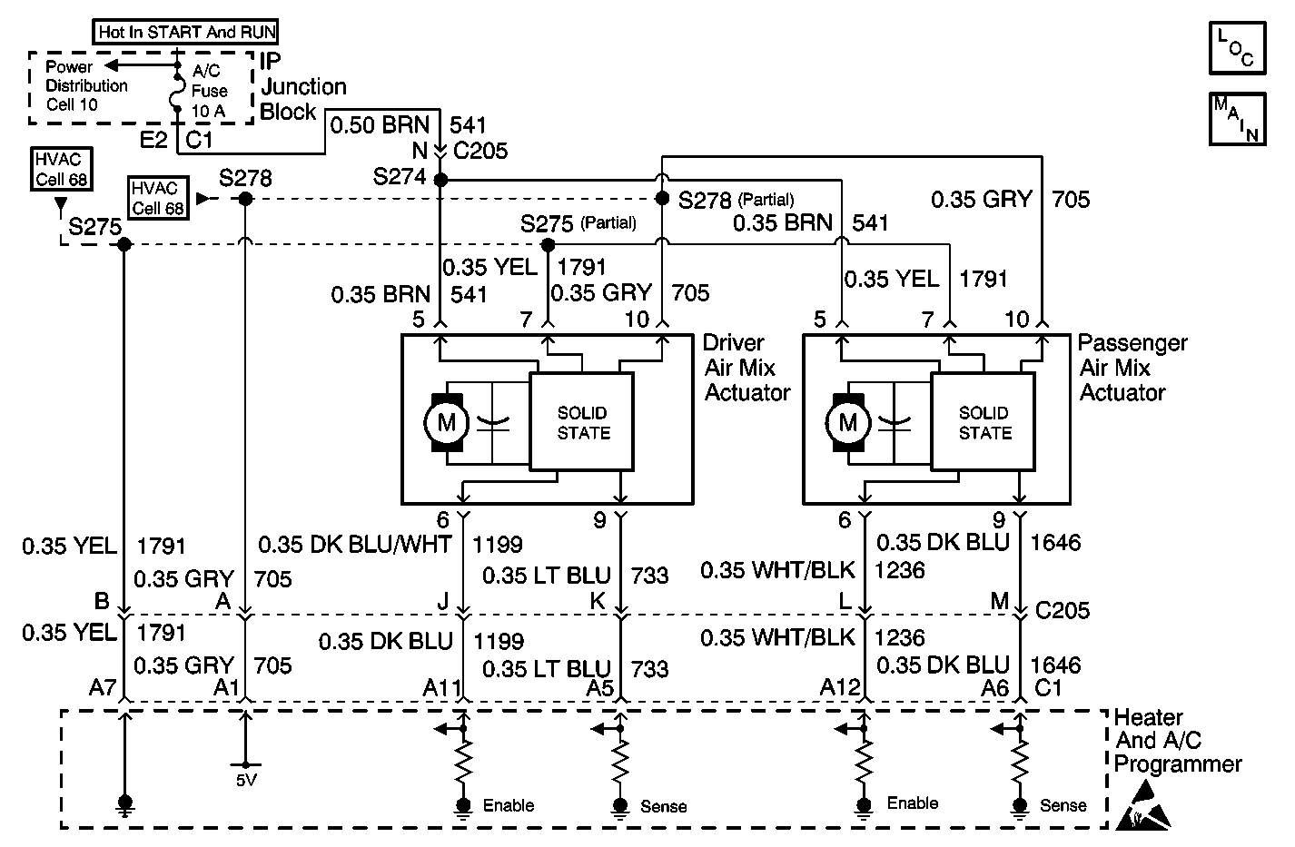
Circuit Description

The rear junction block supplies ignition voltage through CKT 141 (BRN). The heater and A/C programmer commands the actuator to move by suppling voltage on the command line CKT 1199 (DK BLU). The command line voltage and motor actions are as follows:

    • 0 volts moves toward full hot.
    • 2.5 volts stops the motor.
    • 5 volts moves toward full cold.

The heater and A/C programmer determines the current position by monitoring the voltage on the feedback CKT 733 (LT BLU). A feedback potentiometer supplies a regulated 5 volt signal by the heater and A/C programmer on CKT 705 (GRY), and a ground from the heater and A/C programmer CKT 1791 (YEL). The pot is gear driven inside the actuator. The feedback voltage is a function of the motor position with a high voltage of 4-5 volts indicating full cold door position. A low voltage of less than 1 volt indicates the full hot position. Operation of the air mix door actuator can be evaluated through Scan Tool data.

Conditions for Setting the DTC

    • The ignition is on.
    • The feedback circuit is open or shorted.

Action Taken When the DTC Sets

    • A default value of 128 counts will be used by the heater and A/C programmer.
    • This default value results in only 2 positions of the actuator, full hot and full cold, being used by the system.

Conditions for Clearing the DTC

    • Use a Scan Tool .
    • A history DTC will clear after 50 consecutive ignition cycles have occurred without a malfunction.
    • Battery voltage to the body control module is interrupted.

Test Description

The numbers below refer to the step numbers on the diagnostic table.

  1. Perform the Body Control Module Diagnostic Symptom Check before continuing with the diagnosis of this DTC.

  2. This test allows the Scan Tool to recalibrate the actuator.

Step

Action

Value(s)

Yes

No

1

Was the BCM Diagnostic System Check performed?

--

Go to Step 2

Go to Diagnostic System Check - Body Control System

2

  1. Turn the ignition switch to the RUN position.
  2. Connect a Scan Tool .
  3. Establish communication with the heater and A/C programmer
  4. Select outputs and exercise suspect actuator.
  5. Use the door travel table below in order to determine if the suspect door is being commanded to the high and low values.

Is the door being commanded to the proper values?

--

Go to Step 3

Go to Step 8

3

Compare the actual high and low stop values with shown on the Scan Tool with the values listed in the door travel table below.

Are the values within the specified ranges?

--

Go to Step 8

Go to Step 4

4

  1. Disconnect the suspect actuator.
  2. Test for one of the following conditions:
  3. • Test pin 10 CKT 705 (GRY) for 5 volts. Refer to Measuring Voltage in Wiring Systems.
    • Test CKT 541 (BRN) for an open or a short to B+.
    • Test the actuator "sense" CKT for an open.

Are any of the actuator CKTs faulty?

--

Go to Step 7

Go to Step 5

5

Inspect the suspect actuator door for the proper alignment, a broken shaft bushing, obstructions, etc.

Are any of these conditions present?

 

Go to Step 6

Go to Step 9

6

Repair the actuator.

Did you complete the repair?

--

Go to Diagnostic System Check - Body Control System

--

7

Repair the suspect CKT. Refer to Wiring Repairs in Wiring Systems.

Did you complete the repair?

--

Go to Step 8

--

8

Replace the heater and A/C programmer. Refer to Programmer Replacement .

Did you complete the repair?

--

Go to Diagnostic System Check - Body Control System

--

9

Replace the suspect actuator. Refer to Programmer Replacement or to Air Mix Actuator Replacement - Passenger .

Did you complete the repair?

--

Go to Diagnostic System Check - Body Control System

--

Door Travel Value

Actuator

"Com" High

"Com" Low

Act High

Act Low

Air Mix #1 (Driver)

245

10

198 - 206

41 - 47

Air Mix #2 (Pass)

198 - 207

48 - 57

Def/Heat Door

178 - 188

59 - 72

A/C Door

188 - 197

51 - 60

Air Inlet Door

213 - 221

38 - 47