GM Service Manual Online
For 1990-2009 cars only

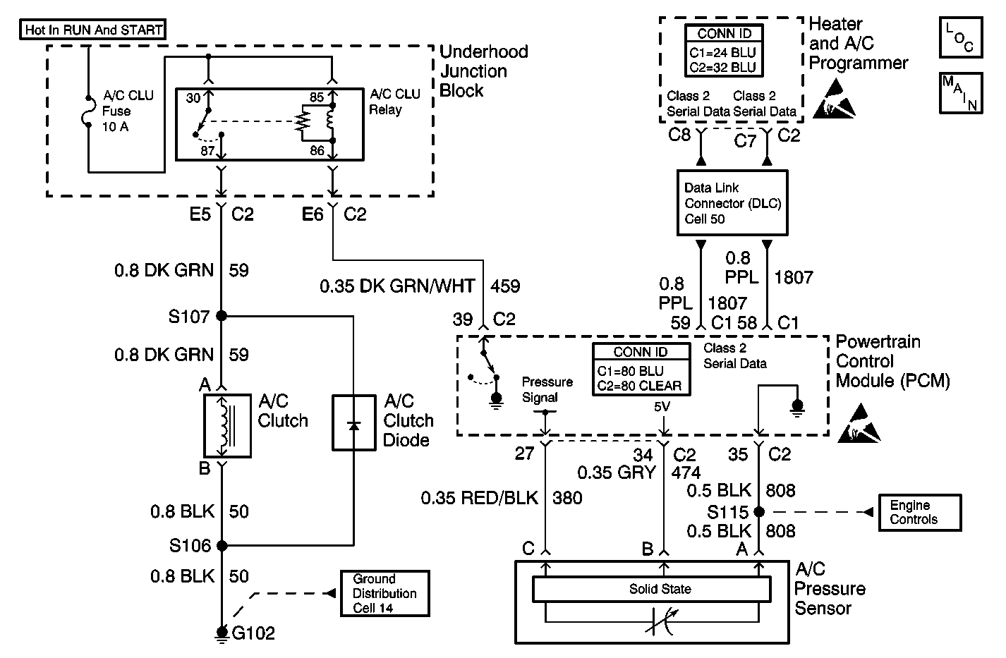
Object Number: 452105  Size: MF
HVAC Components
Cell 67
Handling ESD Sensitive Parts Notice
Handling ESD Sensitive Parts Notice
Cell 50: Class 2 Serial Data Line
Powertrain Control Module Connector End Views
HVAC Connector End Views
Cell 20: Engine Controls - PCM Fuel Tank Pressure Sensor, EVAP Canister Vent Solenoid
Cell 14: G100, G101, G102 and G103

Circuit Description

The A/C pressure sensor is a variable voltage transducer. The PCM determines the pressure of the refrigerant system based on the voltage from the sensor. When the pressure is low, the sensors voltage is low. When the pressure is high, the sensors voltage is high. The PCM sends the A/C pressure to the DIM over the Class 2 communication line. The DIM will not request A/C clutch engagement if the A/C pressure is high.

Conditions for Running the DTC

The DIM must be powered.

Conditions for Setting the DTC

The A/C refrigerant pressure is greater than 2 968 kPa (430 psi) for more than 500 milliseconds.

Action Taken When the DTC Sets

The A/C clutch turns off.

Conditions for Clearing the DTC

    • When the A/C refrigerant pressure drops to less than 1 386 kPa (201 psi) the DIM will clear the current DTC and go to a history DTC. The history DTC will clear after 50 consecutive ignition cycles have occurred without a malfunction.
    • Use a Scan Tool in order to clear the DTC.

Diagnostic Aids

    • If DTC P1324 is stored as a history code, this indicates that the DIM received a high A/C refrigerant pressure message from the PCM. The code may have been caused by an intermittent short to voltage on the sensor signal circuit. This would cause the PCM to set DTC P0530. The code may be the result of an actual A/C refrigerant over-pressure condition.
    • The following conditions may cause the refrigerant system pressure to exceed 2 968 kPa (430 psi) during extended engine idle speed, with the A/C on in very high ambient temperatures (greater than 110 degrees F, 43.3 degrees  C):
       - An overcharged A/C system
       - A failed A/C pressure sensor
       - Non-operating engine cooling fans
       - Blockage in a refrigerant line
    • The following conditions may cause an intermittent between the PCM and the A/C pressure sensor:
       - A bent terminal
       - A backed out terminal
       - A damaged terminal
       - Poor terminal tension
       - A chafed wire
       - A broken wire inside the insulation
    • When diagnosing for an intermittent short or an open, manipulate the A/C pressure sensor wire harness while monitoring the test equipment for changes.

Step

Action

Value(s)

Yes

No

1

Did you perform the HVAC Diagnostic System Check?

--

Go to Step 2

Go to Diagnostic System Check

2

  1. Install a Scan Tool .
  2. Turn ON the ignition leaving the engine OFF.
  3. Wait for 1 minute for A/C system pressure to equalize.
  4. Test for current and history DTCs in the Dash Integration Module menu using the Scan Tool .

Is DTC P1540 stored as current?

--

Go to Step 3

Go to System Performance Test

3

  1. Connect the Scan Tool .
  2. Observe the A/C pressure parameter in the dash integration module data list using the Scan Tool .

Does the Scan Tool indicate system pressure near the gauge pressure within the specified range?

-138 kPa to 138 kPa (-20 psi to 20 psi)

Go to Cooling Insufficient - Air Conditioning (A/C) Inoperative

Go to Step 4

4

Replace the A/C pressure sensor. Refer to Air Conditioning (A/C) Refrigerant Pressure Sensor Replacement

Did you complete the repair?

--

Go to Step 5

--

5

  1. Clear the DTCs using the Scan Tool .
  2. Operate the vehicle within the Conditions for Running the DTC as specified in the supporting text.

Does the DTC reset?

--

Go to Step 2

System OK