GM Service Manual Online
For 1990-2009 cars only

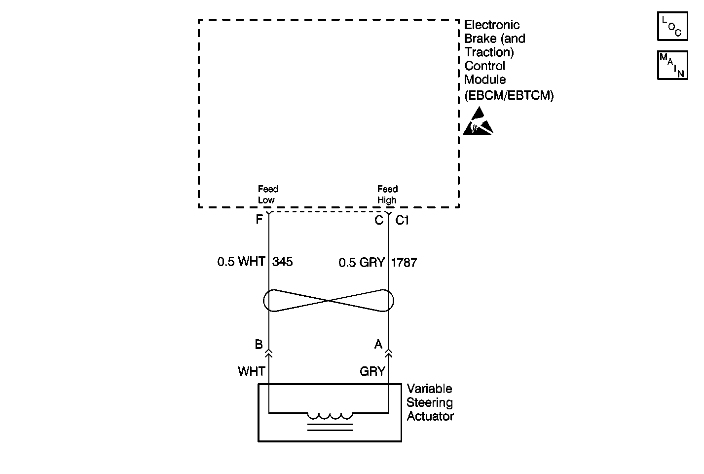
Object Number: 451881  Size: MF
Steering Controls Components
Cell 45
Handling ESD Sensitive Parts Notice

Circuit Description

The EBCM/EBTCM controls a bi-directional magnetic rotary solenoid. The solenoid is in the steering gear. The solenoid adjusts the amount of power steering assist in order to achieve a given level of driver effort in turning the vehicle. The EBCM/EBTCM varies the steering assist by adjusting the current flow through the solenoid. The amount of steering assist adjusted for steering is dependent upon vehicle speed. As the vehicle speed increases, the following actions occur:

    • The steering assist decreases.
    • The driver effort increases.

As the vehicle speed decreases, the following actions occur:

    • The steering assist increases.
    • The driver effort decreases.

The EBCM/EBTCM detects an open or a short in the steering circuit by comparing feedback current to the commanded current. If the feedback current is less than 360 mA while the absolute value of the commanded current is greater than 826 mA for 0.5 seconds, a fault is present.

Conditions for Setting the DTC

All of the following conditions occur:

    • The ignition switch is in the ON position.
    • The EBCM/EBTCM detects one of the following conditions:
       - An open
       - A short to ground
       - A short to voltage

Action Taken When the DTC Sets

    • A malfunction DTC is stored.
    • The variable effort steering is disabled.

Conditions for Clearing the DTC

    • The condition for the DTC is no longer present and you used the scan tool Clear DTC function.
    • The EBCM/EBTCM does not detect the DTC in 50 drive cycles.

Diagnostic Aids

    • Perform a thorough inspection of the wiring and the connectors. Failure to carefully and completely inspect the wiring and the connectors may result in misdiagnosis. Misdiagnosis may cause part replacement with reappearance of the malfunction.
    • An intermittent malfunction may be caused by the following conditions:
       - Poor connections
       - Broken insulation
       - A wire that is broken inside the insulation.
    • If an intermittent malfunction exists, refer to Intermittents and Poor Connections Diagnosis in Wiring Systems.

Step

Action

Value(s)

Yes

No

1

Did you perform the Variable Effort Steering System Check?

--

Go to Step 2

Go to Variable Effort Steering System Check

2

Inspect the wiring and the connectors for damage.

Is physical damage evident?

--

Go to Step 3

Go to Step 4

3

Repair damage to the wiring and connectors. Refer to Wiring Repairs in Wiring Systems.

Did you complete the repair?

--

Go to Variable Effort Steering System Check

--

4

  1. Turn the ignition switch to the OFF position.
  2. Disconnect the EBCM/EBTCM connector.
  3. Install the J 39700 using the J 39700-25 to the EBCM/EBTCM harness connector only.
  4. Use the J 39200 digital multimeter (DMM) in order to measure the resistance between the J 39700 terminal C and terminal F.

Is the resistance within the specified range?

1.6-3.1 ohms

Go to Step 19

Go to Step 5

5

  1. Disconnect the variable steering actuator connector.
  2. Use the J 39200 DMM in order to measure the resistance between the variable steering actuator terminal A and terminal C.

Is the resistance within the specified range?

1.6-3.1 ohms

Go to Step 6

Go to Step 12

6

Use the J 39200 DMM in order to measure the resistance between the J 39700 terminal C and the variable steering actuator connector terminal A.

Is the resistance less than the specified value?

0.5 ohms

Go to Step 7

Go to Step 13

7

Use the J 39200 DMM in order to measure the resistance between the J 39700 terminal F and the variable steering actuator connector terminal B.

Is the resistance less than the specified value?

0.5 ohms

Go to Step 8

Go to Step 14

8

Use the J 39200 DMM in order to measure the resistance between the J 39700 terminal F and a good ground.

Is the resistance less than the specified value?

OL

Go to Step 15

Go to Step 9

9

Use the J 39200 DMM in order to measure the resistance between the J 39700 terminal F and a good ground.

Is the resistance greater than the specified value?

1 V

Go to Step 16

Go to Step 10

10

Use the J 39200 DMM in order to measure the resistance between the J 39700 terminal C and a good ground.

Is the resistance less than the specified value?

OL

Go to Step 17

Go to Step 11

11

Use the J 39200 DMM in order to measure the resistance between the J 39700 terminal C and a good ground.

Is the resistance greater than the specified value?

1 V

Go to Step 18

Go to Step 19

12

Replace the variable steering actuator. Refer to Steering Gear Replacement in Power Steering System.

Did you complete the repair?

--

Go to Variable Effort Steering System Check

--

13

Repair the open in CKT 1787. Refer to Wiring Repairs in Wiring Systems.

Did you complete the repair?

--

Go to Variable Effort Steering System Check

--

14

Repair the open in CKT 345. Refer to Wiring Repairs in Wiring Systems.

Did you complete the repair?

--

Go to Variable Effort Steering System Check

--

15

Repair the short to ground in CKT 345. Refer to Wiring Repairs in Wiring Systems.

Did you complete the repair?

--

Go to Variable Effort Steering System Check

--

16

Repair the short to voltage in CKT 345. Refer to Wiring Repairs in Wiring Systems.

Did you complete the repair?

--

Go to Variable Effort Steering System Check

--

17

Repair the short to ground in CKT 1787. Refer to Wiring Repairs in Wiring Systems.

Did you complete the repair?

--

Go to Variable Effort Steering System Check

--

18

Repair the short to voltage in CKT 1787. Refer to Wiring Repairs in Wiring Systems.

Did you complete the repair?

--

Go to Variable Effort Steering System Check

--

19

Replace the EBCM/EBTCM. Refer to Electronic Brake Control Module Replacement in Antilock Brakes System.

Did you complete the repair?

--

Go to Variable Effort Steering System Check

--