GM Service Manual Online
For 1990-2009 cars only

Object Number: 486297  Size: MF
Body Control Module Components
Body Control System Schematics
Headlights Schematics
Ground Distribution Schematics
Handling ESD Sensitive Parts Notice
Tilt Wheel/Column Connector End Views

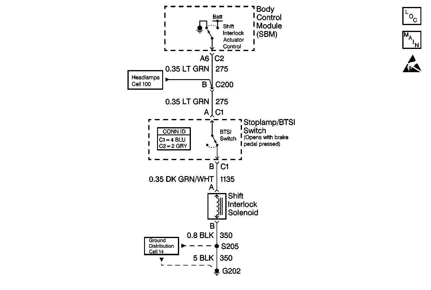
Circuit Description

The body control module (SBM) supplies voltage to CKT 275 when the following conditions occur:

    • The ignition switch is in RUN.
    • The transaxle is in the PARK position.

The SBM monitors the output and determines the actual voltage at terminal A6 every 0.3 seconds.

Conditions for Setting the DTC

The SBM detects a short to voltage on terminal A6 for more than 0.1 seconds.

Action Taken When the DTC Sets

    • DTC B0803 is stored in the SBM memory.
    • No driver warning message is displayed.

Conditions for Clearing the DTC

    • The battery voltage is no longer detected by the SBM on terminal A6.
    • The history DTC clears after 50 consecutive ignition cycles if the condition for the malfunction is no longer present.

Diagnostic Aids

A short to battery positive voltage (B+) in CKT 275 or CKT 1135 may cause this DTC to set.

Test Description

The numbers below refer to the step numbers on the diagnostic table.

  1. Always perform the SBM Diagnostic System Check before attempting to diagnose a DTC B0803.

  2. This step determines if a short to battery positive voltage (B+) exists on CKT 275 or CKT 1135.

  3. This step determines if the short to voltage is located in CKT 275 or CKT 1135.

Step

Action

Value(s)

Yes

No

1

Did you perform the Body Control Module Diagnostic System Check?

--

Go to Step 2

Go to Diagnostic System Check - Body Control System

2

  1. Disconnect the body control module (SBM) connector C2.
  2. Turn the ignition switch ON.
  3. Measure the voltage between the SBM connector C2 terminal A6 and ground.

Is voltage present?

--

Go to Step 3

Go to Step 6

3

Press and hold the brake pedal.

Is the voltage still present?

--

Go to Step 5

Go to Step 4

4

Repair the short to B+ in CKT 1135. Refer to Wiring Repairs in Wiring Systems.

Did you complete the repair?

--

Go to Step 7

--

5

Repair the short to B+ in CKT 275. Refer to Wiring Repairs in Wiring Systems.

Did you complete the repair?

--

Go to Step 7

--

6

  1. Replace the body control module (SBM). Refer to Body Control Module Replacement .
  2. Program the SBM. Refer to Body Control Module (BCM) Programming/RPO Configuration .

Did you complete the repair?

--

Go to Step 7

--

7

  1. Turn the ignition switch to the OFF position.
  2. Connect all of the connectors.
  3. Install all of the components.
  4. Clear all of the DTCs. Refer to Clearing DTCs .

Did you complete the repair?

--

Go to Diagnostic System Check - Body Control System

--