GM Service Manual Online
For 1990-2009 cars only

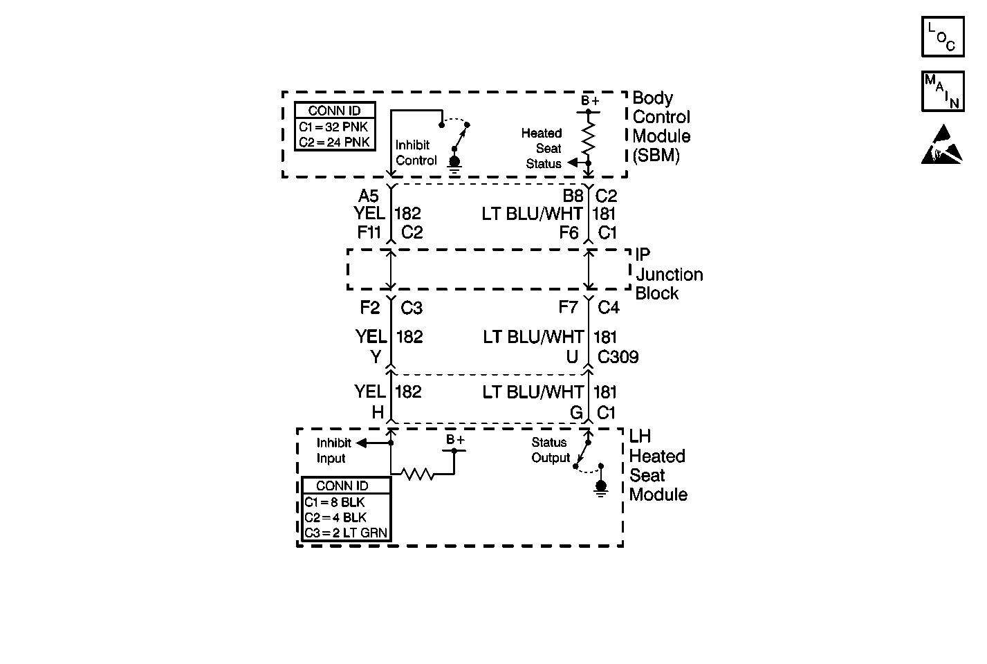
Object Number: 486325  Size: MF
Body Control Module Components
Body Control System Schematics
Body Control System Connector End Views
Power Seat Connector End Views
Handling ESD Sensitive Parts Notice

Circuit Description

During periods of high electrical current drain, the body control module (SBM) may intermittently block selected components from receiving power, including the heated seats. The SBM pulls CKT 182, terminal A5 to ground in order to control the heated seat control module. The heated seat control module disables the heated seats. The SBM monitors CKT 182 terminal A5 for shorts to ground.

Conditions for Setting the DTC

The BCM detects a short to ground in CKT 182.

Action Taken When the DTC Sets

    • DTC B2348 is stored in the BCM memory.
    • No driver warning message will be displayed for this DTC.

Conditions for Clearing the DTC

A history DTC will clear after 50 consecutive ignition cycles if the condition for the malfunction is no longer present.

Step

Action

Value(s)

Yes

No

1

Did you perform the Body Control Module Diagnostic System Check?

--

Go to Step 2

Go to Diagnostic System Check - Body Control System

2

  1. Turn the ignition switch to the RUN position.
  2. Clear the DTC.
  3. Request the SBM diagnostic trouble code display.

Is the DTC still present?

--

Go to Step 3

Go to Diagnostic System Check - Body Control System

3

Test CKT 182 for an open or a short to ground.

Is the SBM replacement complete?

--

Go to Step  5

Go to Step 4

4

Replace the heated seat module. Refer to Heated Seat Module Replacement.

Did you complete the repair?

--

Go to Step  6

--

5

Repair the open or the short to ground in CKT 182.

Did you complete the repair?

--

Go to Step 6

--

6

  1. Turn the ignition switch to the OFF position.
  2. Connect or install any connectors or components that were disconnected or removed.
  3. Clear all DTCs. Refer to Clearing DTCs .

Did you complete the repair?

--

Go to Diagnostic System Check - Body Control System

--