GM Service Manual Online
For 1990-2009 cars only
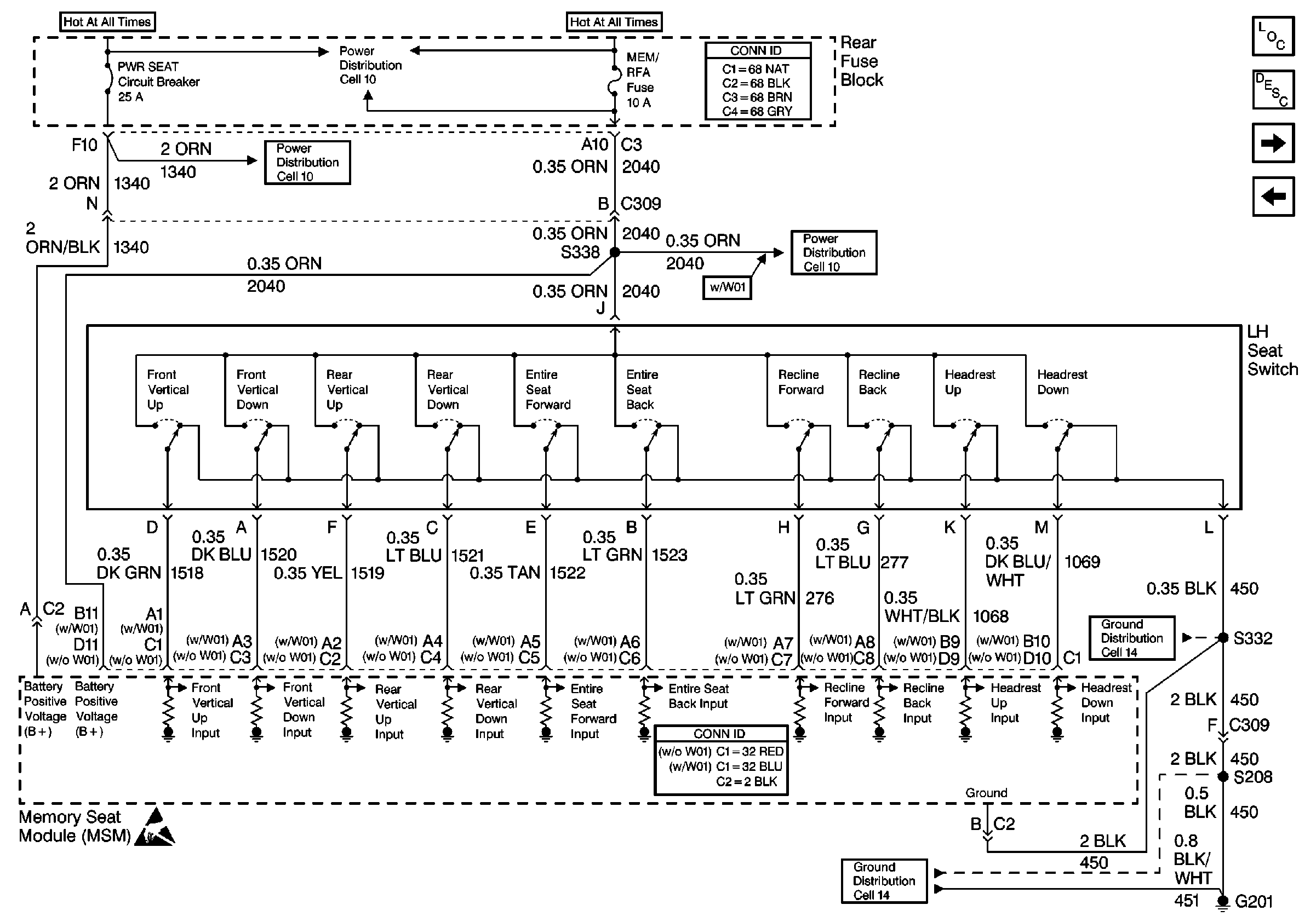
Figure 1:

Cell 141: Memory Seat/Mirror Switch


Object Number: 324284  Size: FS
Power Seat Systems Components
Memory Seat Circuit Description
Cell 141: LH Seat Switch
Door Control Module Schematics
Handling ESD Sensitive Parts Notice
Power Door Systems Connector End Views
Cell 50: Class 2 Serial Data Line
Handling ESD Sensitive Parts Notice
Power Seat Connector End Views
Handling ESD Sensitive Parts Notice
Ground Distribution Schematics
Ground Distribution Schematics
Figure 2:

Cell 141: LH Seat Switch


Object Number: 324280  Size: FS
Power Seat Systems Components
Memory Seat Circuit Description
Cell 141: LH Seat Motors
Cell 141: Memory Seat/Mirror Switch
Power Distribution Schematics
Power Distribution Schematics
Power Distribution Schematics
Handling ESD Sensitive Parts Notice
Power Seat Connector End Views
Power and Grounding Connector End Views
Ground Distribution Schematics
Ground Distribution Schematics
Figure 3:

Cell 141: LH Seat Motors


Object Number: 324281  Size: FS
Power Seat Systems Components
Memory Seat Circuit Description
Cell 141: LH Seat Recline Motor and Seat Headrest Motor
Cell 141: LH Seat Switch
Power Seat Connector End Views
Handling ESD Sensitive Parts Notice
Cell 141: LH Seat Recline Motor and Seat Headrest Motor
Cell 141: LH Seat Recline Motor and Seat Headrest Motor
Lumbar Support Schematics A43
Handling ESD Sensitive Parts Notice
Figure 4:

Cell 141: LH Seat Recline Motor and Seat Headrest Motor


Object Number: 324283  Size: FS
Power Seat Systems Components
Memory Seat Circuit Description
Cell 141: LH Seat Motors
Power Seat Connector End Views
Handling ESD Sensitive Parts Notice
Power and Grounding Connector End Views
Cell 141: LH Seat Motors
Cell 141: LH Seat Motors
Power Distribution Schematics
Power Distribution Schematics
Handling ESD Sensitive Parts Notice