GM Service Manual Online
For 1990-2009 cars only

Refer to

Cell 55


Object Number: 324421  Size: FS
Power Door Systems Components
Power Door Locks Circuit Description
Cell 55: Left Front Door Jamb Switch
Cell 50: Class 2 Serial Data Line
Cell 120: Front Power Window Components
Cell 14: G202 (CKT 351 1 of 2)
Cell 10: Sunroof Fuse
Cell 10: BATT 1, RDM, C/LTR, DDM, HTDST L, TRK REL, PDM, SBM, and CSTR/SBM Fuses
Handling ESD Sensitive Parts Notice
Cell 10: Sunroof Fuse
Cell 148: Driver Door Module
Cell 14: G202 (CKT 350)

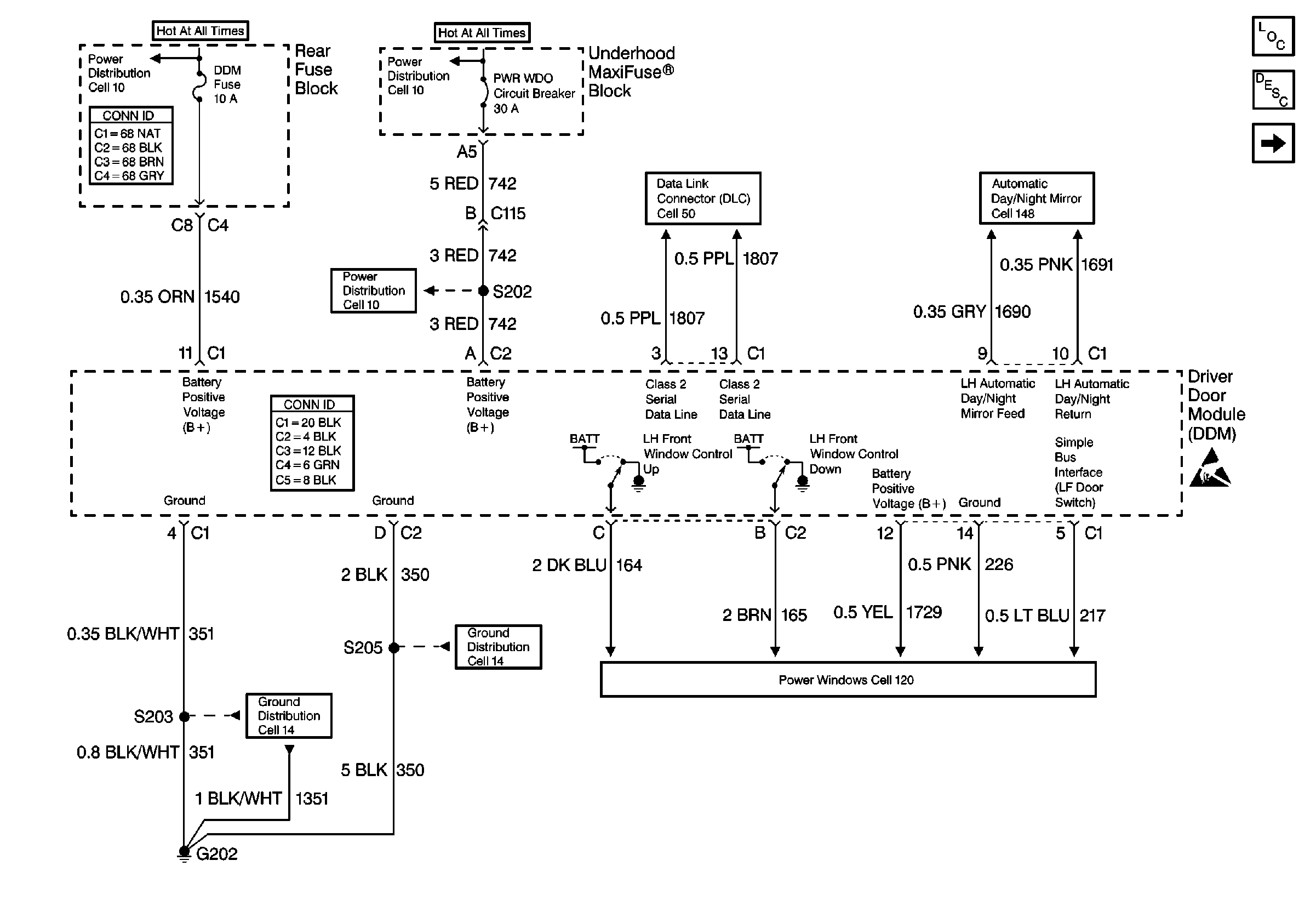
Circuit Description

The battery positive voltage (B+) is supplied to the driver door module (DDM) at the DDM connector C1 terminal 11, CKT 1540 (ORN). The DDM monitors this voltage to determine if the voltage is within a valid operating range.

Conditions for Setting the DTC

The battery positive voltage (B+) exceeds 15.5 V for more than 1 second.

Action Taken When the DTC Sets

    • DTC B1982 is stored in the DDM memory.
    • The DDM will not respond to any manual or memory inputs when the voltage is greater than 16 V.
    • No driver warning message is displayed for this DTC.
    • The DDM switch failure and position sensor failure DTCs will not set while DTC B1982 is current.

Conditions for Clearing the DTC

    • The B+ voltage falls below 15 volts for approximately 1.2 seconds.
    • The history DTC will clear after 50 ignition cycles.
    • Use a scan tool in order to clear the history DTC.

Diagnostic Aids

This DTC may set when the vehicle is placed on a battery charger set to FAST CHARGE for a long period of time.

Test Description

The number(s) below refer to the step number(s) on the diagnostic table.

  1. Perform the power door diagnostic system check before diagnosing DTC B1982.

  2. This verifies that the DTC was not incorrectly set.

  3. This determines whether the malfunction is in the charging system or the driver door module (DDM).

  4. Clear any DTCs after completing the repair procedure.

B1982 Source/Battery Voltage High

Step

Action

Value(s)

Yes

No

1

Did you perform the Power Door Diagnostic System Check?

--

Go to Step 2

Go to Diagnostic System Check - Power Door Systems

2

  1. Turn on the ignition.
  2. Connect a scan tool to the data link connector (DLC).
  3. Select DATA from the DDM data list.

Is the B+ voltage less than the specified value?

15.5 V

Go to Step 4

Go to Step 3

3

  1. Turn off the ignition.
  2. Disconnect the DDM connector C1.
  3. Measure the voltage between the DDM connector C1 terminal 11, CKT 1540 (ORN), and ground.

Is the voltage greater than the specified value?

15.5 V

Refer to Charging System Check

Go to Step 4

4

Replace the DDM. Refer to Front Door Module Replacement .

Did you complete the repair?

--

Go to Step 5

--

5

  1. Turn OFF the ignition.
  2. Reconnect or reinstall any connectors or components that were disconnected or removed.
  3. Turn ON the ignition.
  4. Clear any DTCs.

Did you clear all of the DTCs?

--

Go to Diagnostic System Check - Power Door Systems

--