GM Service Manual Online
For 1990-2009 cars only

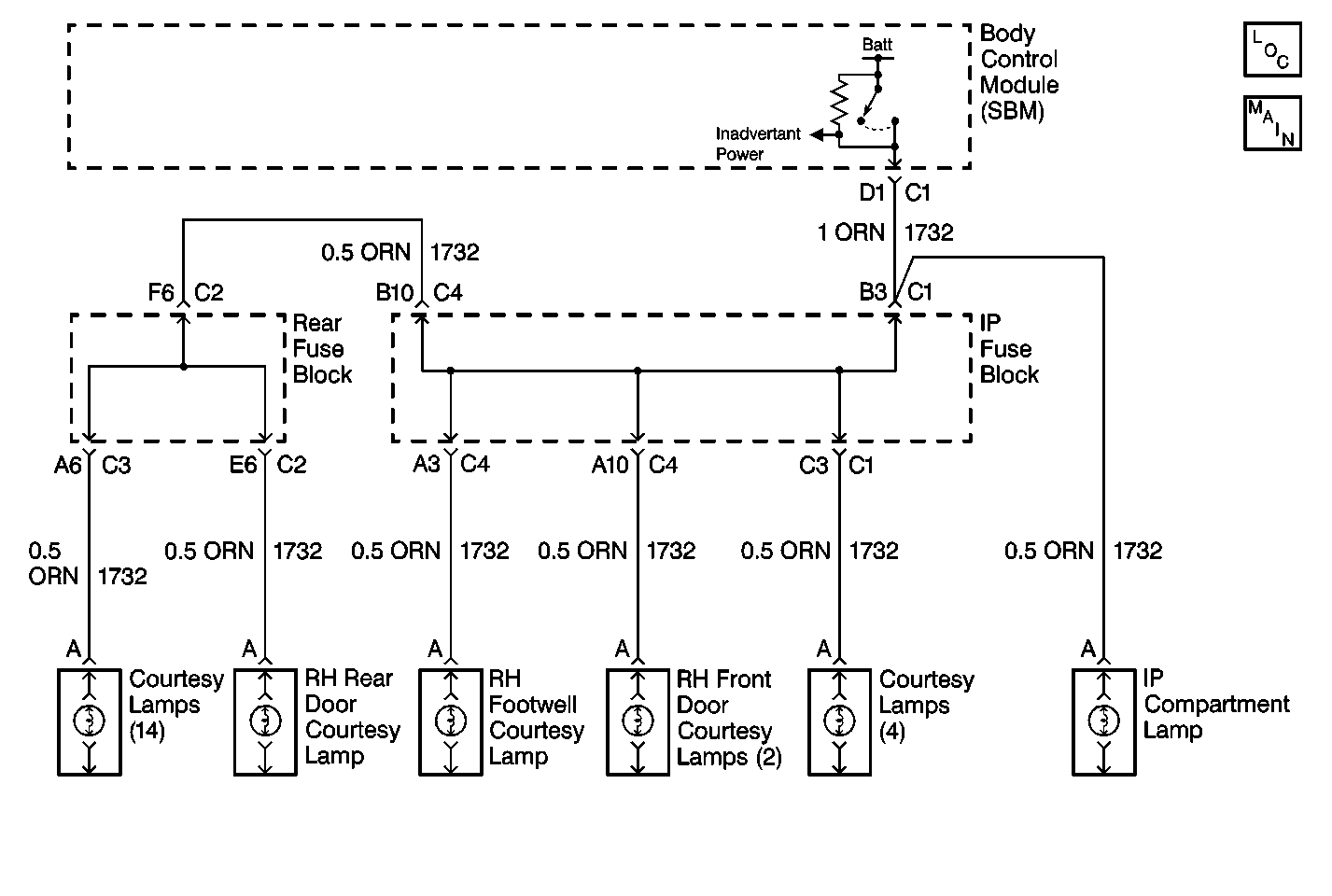
Object Number: 324013  Size: MF
Body Control Module Components
Body Control System Schematics

Circuit Description

The inadvertent power circuit acts as both of the following components:

    • An input
    • An output

While one of several switches provides a ground to CKT 1732, Terminal D1 acts as an input. The ground causes the SBM to wake up.

Terminal D1 provides the following functions:

    • An output
    • Voltage to the courtesy lamps through CKT 1732

If the SBM detects a short to ground on CKT 1732, a DTC will set.

Conditions for Setting the DTC

    • The SBM detects a short to ground in CKT 1732.
    • The SBM may only test for this condition when the SBM attempts to activate the courtesy lamps.
    • The condition is present for more than 0.1 seconds.

Action Taken When the DTC Sets

    • DTC B0807 stores in the SBM memory.
    • No driver warning message displays for this DTC.

Conditions for Clearing the DTC

    • Under all fault conditions, cycle the ignition before changing the DTC from current to history.
    • The SBM no longer detects a short to ground.
    • A history DTC will clear after 50 consecutive ignition cycles if the condition for the malfunction is no longer present.
    • Use the on-board (clear DTCs) feature.
    • Use a scan tool.

Diagnostic Aids

An intermittent short to ground in CKT 1732 may cause an intermittent malfunction to occur.

If the DTC is a history DTC, the condition may be intermittent. Try performing the tests while moving the following components:

    • The wiring
    • The connectors

Moving the wires may often cause the malfunction to appear.

Refer to Interior Lamps System Check in order to diagnose the courtesy lamps.

Test Description

The numbers below refer to the step numbers on the diagnostic table.

  1. Always perform the SBM Diagnostic System Check before attempting to diagnose a DTC B0807.

  2. This step determines if there is a short to ground in CKT 1732 (ORN).

Step

Action

Value(s)

Yes

No

1

Was the Body Control Module Diagnostic System Check performed?

--

Go to Step 2

Refer to Diagnostic System Check - Body Control System

2

  1. Disconnect the body control module (SBM) connector C1.
  2. Connect a test lamp from cavity D1 of CKT 1732 (ORN) to battery positive voltage (B+).

Does the test lamp light?

--

Go to Step 3

Go to Step 4

3

Repair the short to ground in CKT 1732 (ORN). Refer to Wiring Repairs in Wiring Systems.

Is the circuit repair complete?

--

Go to Step 5

--

4

  1. Replace the SBM. Refer to Body Control Module Replacement .
  2. Program the SBM. Refer to Body Control Module (BCM) Programming/RPO Configuration .

Is the SBM repair complete?

--

Go to Step 5

--

5

  1. Turn the ignition switch to the OFF position.
  2. Connect all of the connectors.
  3. Install all of the components.
  4. Clear all of the DTCs.

Are all DTCs cleared?

--

Refer to Diagnostic System Check - Body Control System

--