GM Service Manual Online
For 1990-2009 cars only

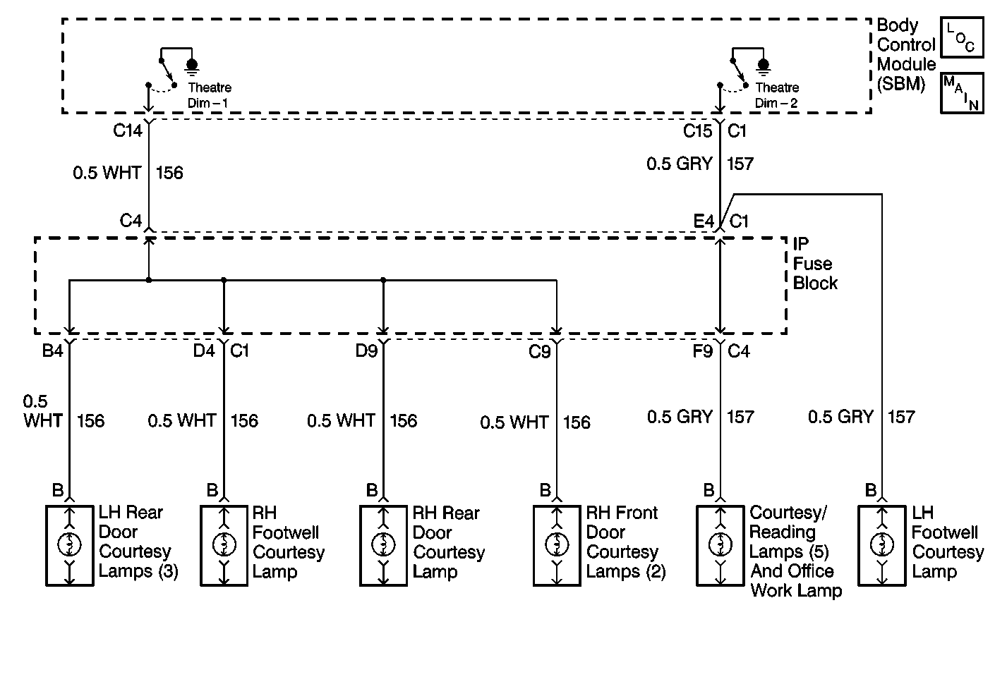
Object Number: 324019  Size: MF
Body Control Module Components
Body Control System Schematics

Circuit Description

The SBM controls the theater dimming. The SBM grounds the lamps directly. The output fades out in order to turn the lamps to the OFF position. If there is an open or a short to ground in CKT 157, a fault condition is present and a DTC will set.

Conditions for Setting the DTC

The SBM detects a short to ground or an open in CKT 157 for more than 0.15 seconds.

Action Taken When the DTC Sets

    • Stores the DTC B2457 in the SBM memory
    • No driver warning message will be displayed for this DTC.

Conditions for Clearing the DTC

    • A short to ground is no longer detected by the SBM on CKT 157.
    • An open is no longer detected by the SBM on CKT 157.
    • A history DTC clears after 50 consecutive ignition cycles if the condition for the fault is no longer present.
    • Using the on-board diagnostic (clearing DTC) feature.
    • Using a scan tool.

Diagnostic Aids

The following conditions may cause an intermittent malfunction to occur:

    • An intermittent short to ground in CKT 157
    • An intermittent open in CKT 157
    • A short to ground or an open internal to the SBM

If the DTC is a history DTC, the problem may be intermittent. Perform the tests shown while wiggling the wiring and connectors. This can often cause the malfunction to appear.

Test Description

The number(s) below refer to the step number(s) on the diagnostic table.

  1. Always perform the SBM Diagnostic System Check before attempting to diagnose a DTC B2457.

  2. This test inspects for a short to ground in CKT 157 (GRY).

  3. This test inspects for an open in CKT 157 (GRY).

Step

Action

Value(s)

Yes

No

1

Did you perform the Body Control Module (SBM) Diagnostic System Check?

--

Go to Step 2

Go to Diagnostic System Check - Body Control System

2

  1. Disconnect the body control module (SBM) connector C2.
  2. Connect a J 39200 DMM from cavity C15 of CKT 157 (GRY) to ground.

Is there continuity to ground in CKT 157?

--

Go to Step 3

Go to Step 4

3

Repair a short to ground in CKT 157 (GRY). Refer to Wiring Repairs in Wiring Systems.

Is the circuit repair complete?

--

Go to Step 7

--

4

Connect a DMM from cavity C15 to cavity E4 of CKT 157 (GRY).

Is there continuity in CKT 157?

--

Go to Step 5

Go to Step 6

5

  1. Replace the SBM. Refer to Body Control Module Replacement .
  2. Program the SBM. Refer to Body Control Module (BCM) Programming/RPO Configuration .

Is the SBM replacement complete?

--

Go to Step 7

--

6

Repair the poor connection or the open in CKT 157 (GRY). Refer to Wiring Repairs in Wiring Systems.

Is the circuit repair complete?

--

Go to Step 7

--

7

  1. Turn the ignition switch to the OFF position.
  2. Connect or install any connectors or components that were disconnected or removed.
  3. Clear all DTCs. Refer to Clearing DTCs.

Are all of the DTCs cleared?

--

Go to Diagnostic System Check - Body Control System

--