GM Service Manual Online
For 1990-2009 cars only

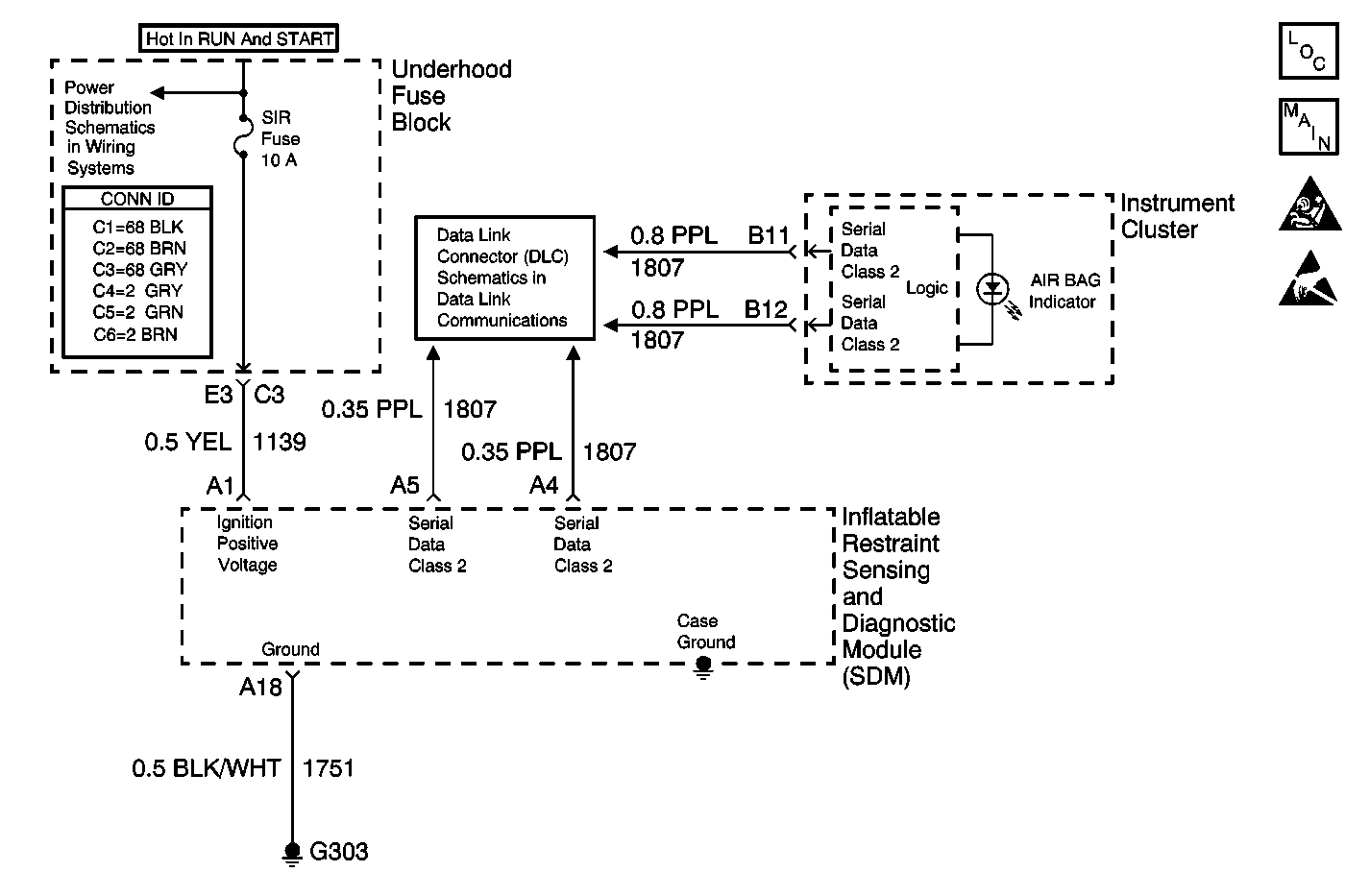
Object Number: 561557  Size: MF
SIR Components
SIR Schematics
SIR Handling Caution
Handling ESD Sensitive Parts Notice
Underhood Fuse Block, PCM, SDM and INJ Fuses
Data Link Connector Schematics

Circuit Description

The ignition switch supplies Ignition voltage to the Inflatable Restraint Sensing and Diagnostic Module (SDM) at terminal A1 using the SIR (Air Bag) Fuse. The ignition switch also supplies Ignition 1 voltage to the instrument panel cluster (IPC). The AIR BAG warning lamp is controlled by the SDM via Class 2 serial data. When the ignition switch is first turned ON, the SDM responds by performing tests on the SIR system and then commanding the AIR BAG warning lamp OFF after the lamp has flashed seven times if no DTCs are present.

Diagnostic Aids

If battery voltage is outside of the normal operating voltage range (9-16 volts), the AIR BAG warning lamp will come ON solid with no DTCs set.

Step

Action

Value(s)

Yes

No

DEFINITION: AIR BAG Warning Indicator Circuit Malfunction, No DTCs set.

1

Did you perform the SIR Diagnostic System Check?

--

Go to Step 2

Go to Diagnostic System Check - SIR

2

  1. Using a scan tool communicate with the Instrument Panel Cluster (IPC).
  2. Use the scan tool to request the IPC diagnostic trouble code (DTC) display.

Does the scan tool display DTC B1510?

--

Go to DTC B1510 Air Bag TT Fault in Instrument Panel, Gauges, and Console

Go to Step 3

3

  1. Using the scan tool pull up Special Functions in Instrument Panel Cluster.
  2. Go to WOW Instrument Cluster in Output Control.
  3. In the WOW mode you can turn ON or OFF the instrument panel indicators.
  4. All indicators will turn ON when commanded on.

Does scan tool command the AIR BAG Warning Indicator ON then OFF?

--

Go to Step 4

Go to Step 5

4

Replace the inflatable restraint sensing and diagnostic module (SDM). Refer to Inflatable Restraint Sensing and Diagnostic Module Replacement .

Did you complete the replacement?

--

Go to Diagnostic System Check - SIR

--

5

Replace the AIR BAG lamp/indicator located in instrument panel cluster (IPC). Refer to Instrument Cluster Bulb Replacement in Instrument Panel, Gauges, and Console.

Did you complete the repair?

--

Go to Diagnostic System Check - SIR

--