GM Service Manual Online
For 1990-2009 cars only
Makes
🢒
Buick
🢒
2000
🢒
Park Avenue
🢒
Body and Accessories
🢒
Body Control System
🢒 Keyless Entry Schematics
RFA Power, Ground and DLC
Keyless Entry Components
Keyless Entry System Description
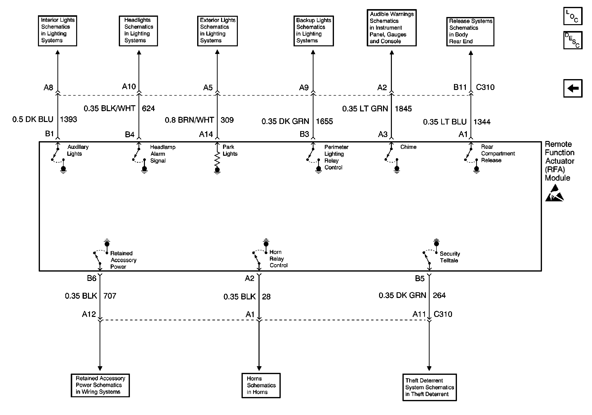
RFA Inputs and Outputs
Handling ESD Sensitive Parts Notice
Underhood Fuse Block, OXYGEN SENSOR and IGN-1 Fuses
Underhood Fuse Block, OXYGEN SENSOR and IGN-1 Fuses
IP Fuse Block, RFA/RAIN SENSOR and WIPER Fuses
IP Fuse Block, RFA/RAIN SENSOR and WIPER Fuses
Class 2 Serial Data Line
G400, 1 of 2
Underhood Fuse Block, OXYGEN SENSOR and IGN-1 Fuses
RFA Inputs and Outputs
Keyless Entry Components
Keyless Entry System Description
RFA Power, Ground and DLC
Handling ESD Sensitive Parts Notice
Auxiliary Lighting Control, RH Door Courtesy Lamps, and Rear Compartment LAmp
Low Beam Headlamps
RH Park Lamps
C-car Backup Lamps
00 C Audible Warning Schematics
Rear Compartment Lid Release
00 C-Car RAP Cell 15
00 C-Car Horns Schmatics Cell 40
Content Theft Deterrent