GM Service Manual Online
For 1990-2009 cars only
Makes
🢒
Buick
🢒
2000
🢒
Park Avenue
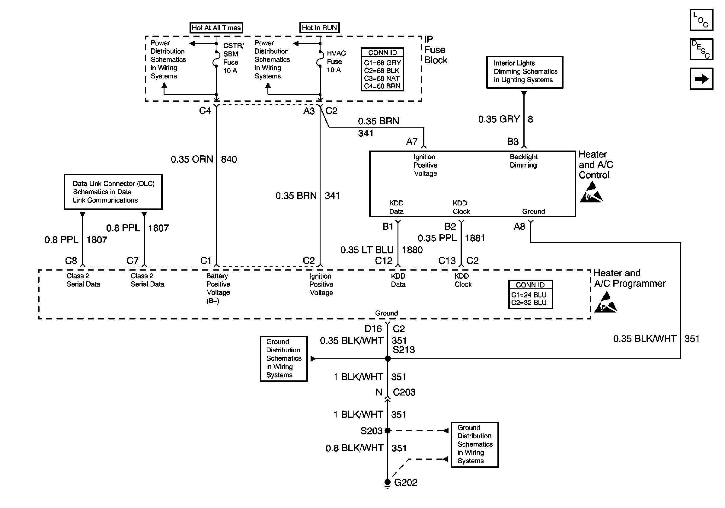
🢒 IP Fuse Block
IP Fuse Block
IP Fuse Block
HVAC Components
HVAC Compressor Controls Circuit Description
Compressor Control
Underhood Fuse Block, BAT 1 Fuse/Rear Fuse Block, RDM, C/LTR, DDM, HTDST L and TRK REL Fuses/ IP Fuse Block, PDM, SBM and CSTR/SBM Fuses
IP Fuse Block, HVAC and A/C Fuses
IP and Front Door Backlighting
Handling ESD Sensitive Parts Notice
Handling ESD Sensitive Parts Notice
Class 2 Serial Data Line
G202, 2 of 4
G202, 1 of 4