GM Service Manual Online
For 1990-2009 cars only
Makes
🢒
Buick
🢒
2001
🢒
Park Avenue
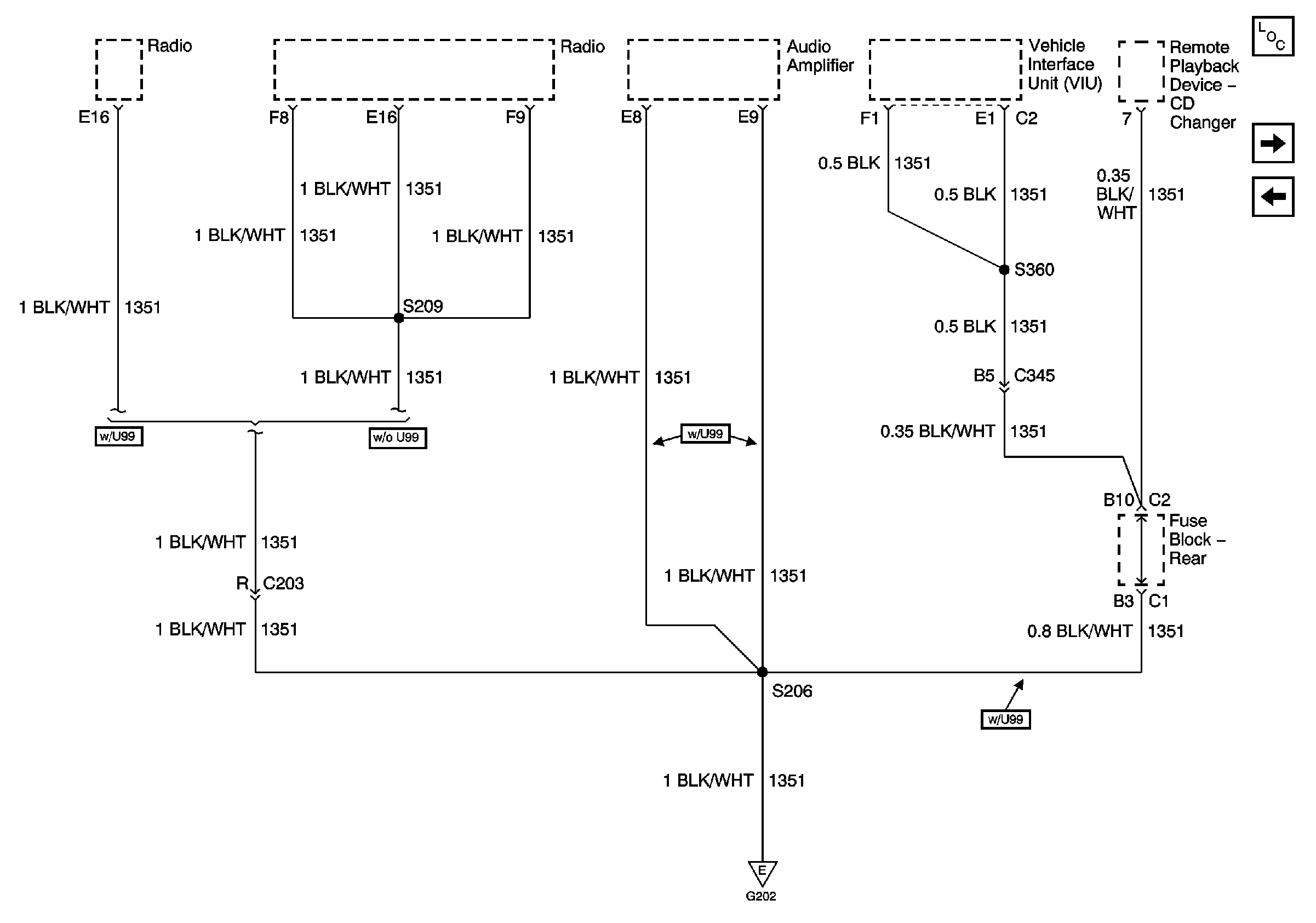
🢒 G202 (3 of 4)
G202 (3 of 4)
G202 (3 of 4)
Master Electrical Component List
G202 (4 of 4)
G202 (2 of 4)
G202 (1 of 4)