GM Service Manual Online
For 1990-2009 cars only
Makes
🢒
Buick
🢒
2001
🢒
Park Avenue
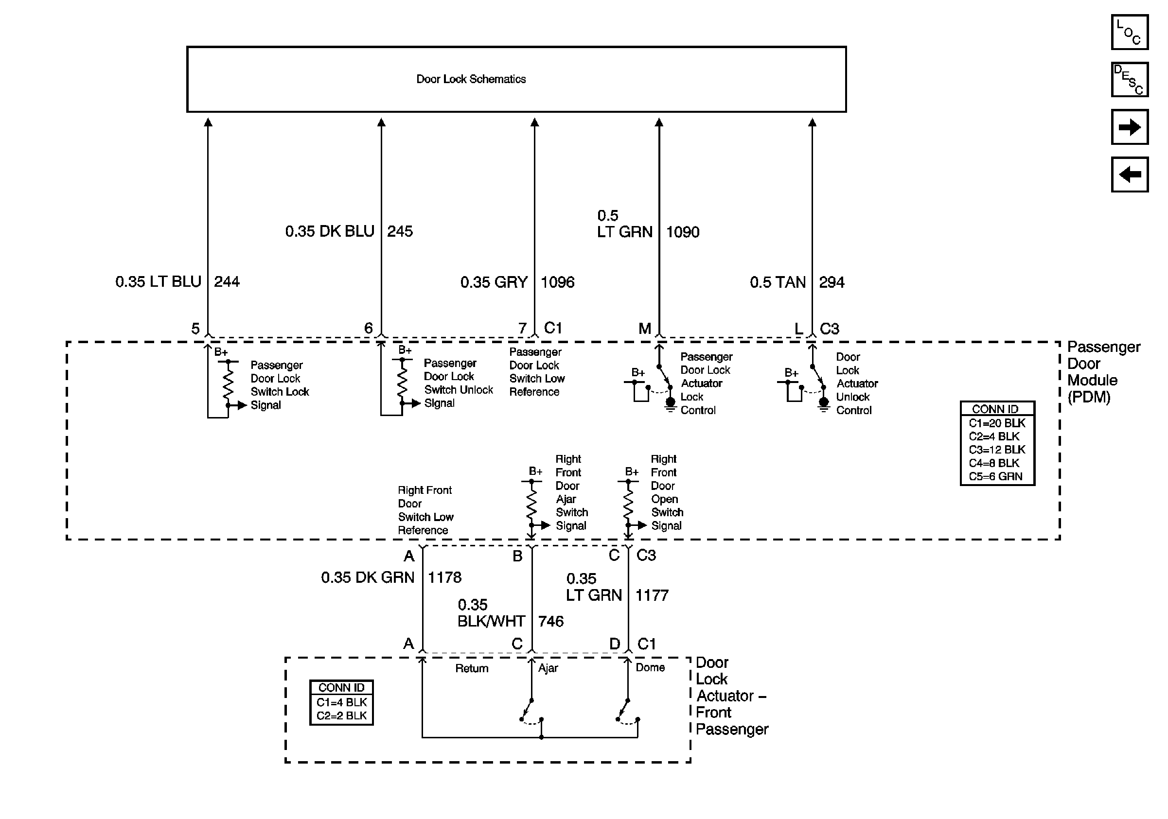
🢒 Passenger Door Module Inputs and Outputs
Passenger Door Module Inputs and Outputs
Passenger Door Module Inputs and Outputs
Master Electrical Component List
Power Door Locks Description and Operation
Rear Door Module
Passenger Door Module
Right Front Power Door Lock Components