GM Service Manual Online
For 1990-2009 cars only
Makes
🢒
Buick
🢒
2001
🢒
Park Avenue
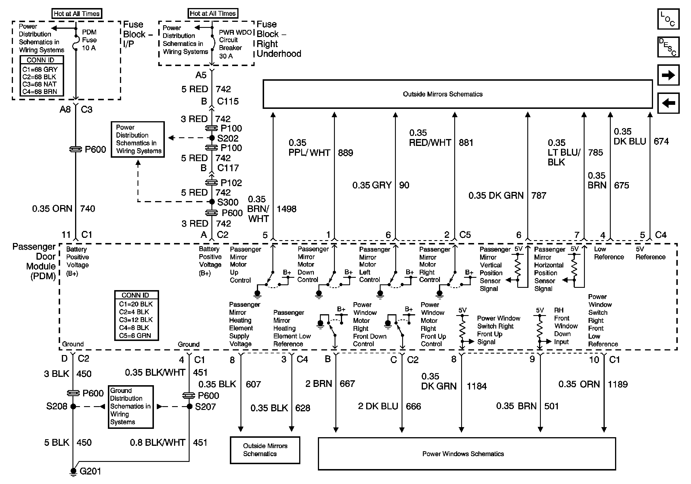
🢒 Passenger Door Module
Passenger Door Module
Passenger Door Module
Master Electrical Component List
Outside Mirror Description and Operation
Passenger Door Module Inputs and Outputs
Driver Door Module Inputs and Outputs
Underhood Fuse Block- BAT 1/ Rear Fuse Block- RDM, C/LTR, DDM, HTDSTL, TRK REL Fuses and Trunk Lid Release Relay/ IP Fuse Block- PDM, SBM, CSTR/SBM Fuses
Underhood Fuse Block and Underhood Maxi-Fuse Block
Underhood Maxi-Fuse Block- PWR WDO Circuit Breaker/Rear Fuse Block-RDO/PH, SUNRF Fuses and RAP Relay
Right Outside Power Mirror
G201 (1 of 2)
Right Outside Power Mirror
Front Power Window Components