GM Service Manual Online
For 1990-2009 cars only
Makes
🢒
Buick
🢒
2002
🢒
Park Avenue
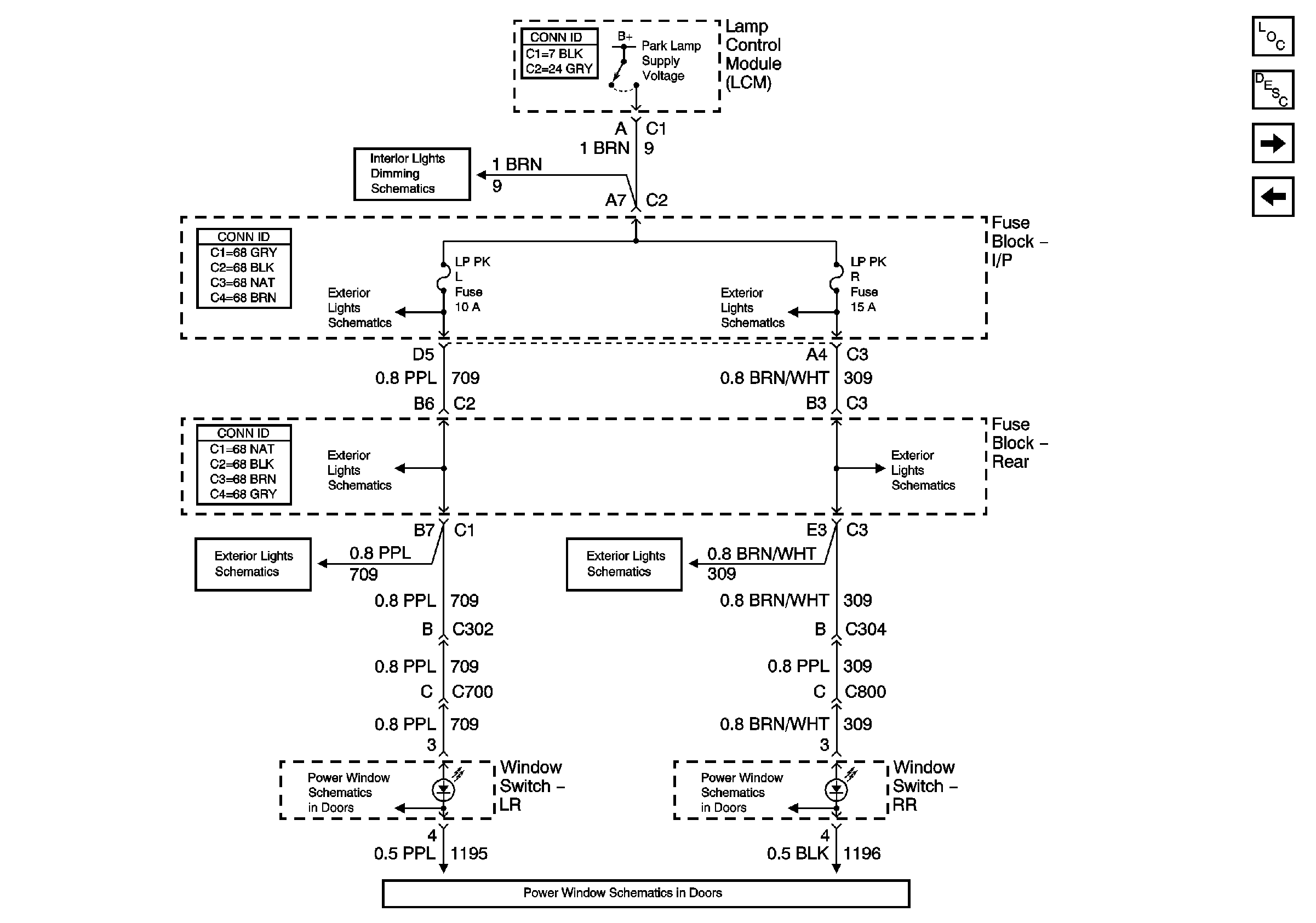
🢒 Rear Window Switches
Rear Window Switches
Rear Window Switches
Master Electrical Component List
Exterior Lighting Systems Description and Operation
Auxiliary Lighting Control, Right Door Courtesy Lamps, and Rear Compartment Lamp
Vanity Mirrors, Courtesy/Reading Lamps and Office Work Lamps
Dimming Control: Right Air Temperature Assembly, Ashtray, and Heated Seat Switch Backlighting
Left Park Lamps
Left Park Lamps
Left Park Lamps
Right Park Lamps
Right Park Lamps
Right Park Lamps
Rear Power Window Components