GM Service Manual Online
For 1990-2009 cars only
Makes
🢒
Buick
🢒
2005
🢒
Park Avenue
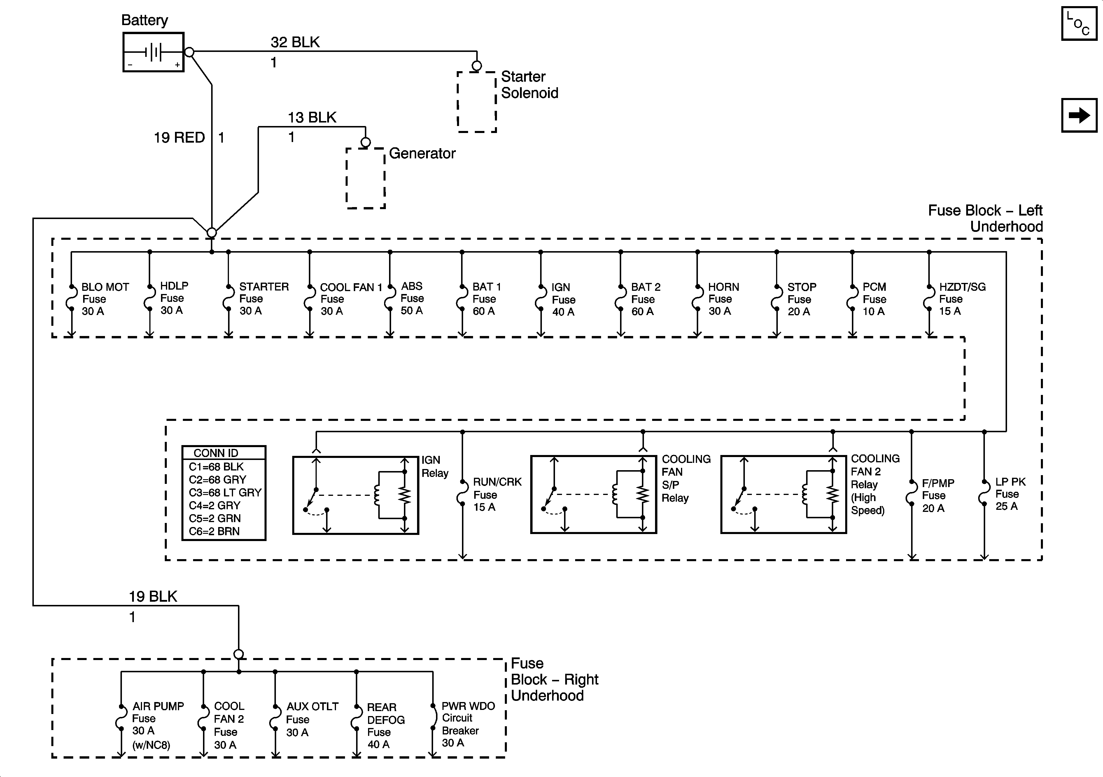
🢒 Battery Feed to Left and Right Underhood Fuse Blocks
Battery Feed to Left and Right Underhood Fuse Blocks
Battery Feed to Left and Right Underhood Fuse Blocks
Master Electrical Component List
RUN/CRK Fuse
G100, G101, G102, and G103