GM Service Manual Online
For 1990-2009 cars only
Makes
🢒
Buick
🢒
1997
🢒
Regal
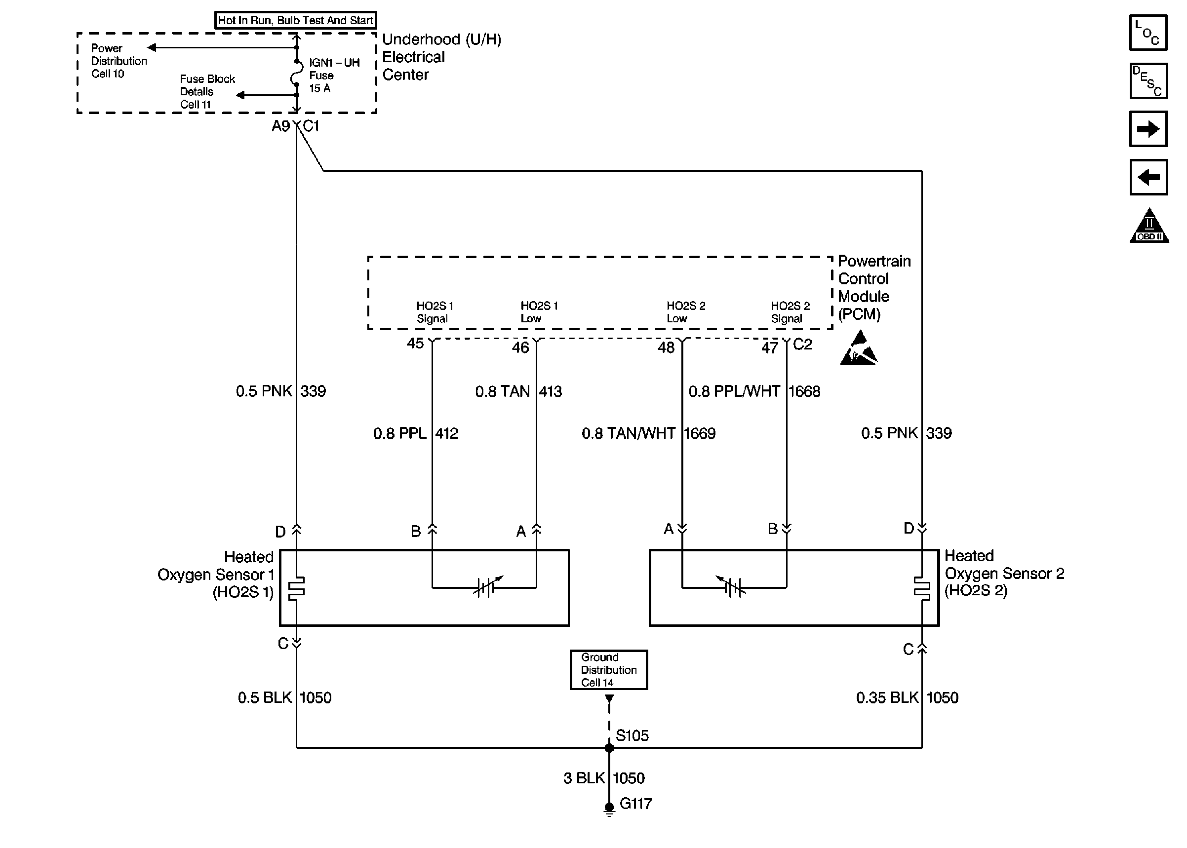
🢒 Engine Data Sensors-HO2S #1, HO2S #2
Engine Data Sensors-HO2S #1, HO2S #2
Engine Data Sensors-HO2S #1, HO2S #2
Engine Controls Components
Information Sensors
Vehicle Speed Sensor, Cruise
Engine Data Sensors-MAF, EVAP purge, EVAP vacuum, EGR
OBD II Symbol Description Notice
Handling ESD Sensitive Parts Notice