GM Service Manual Online
For 1990-2009 cars only
Makes
🢒
Buick
🢒
1997
🢒
Regal
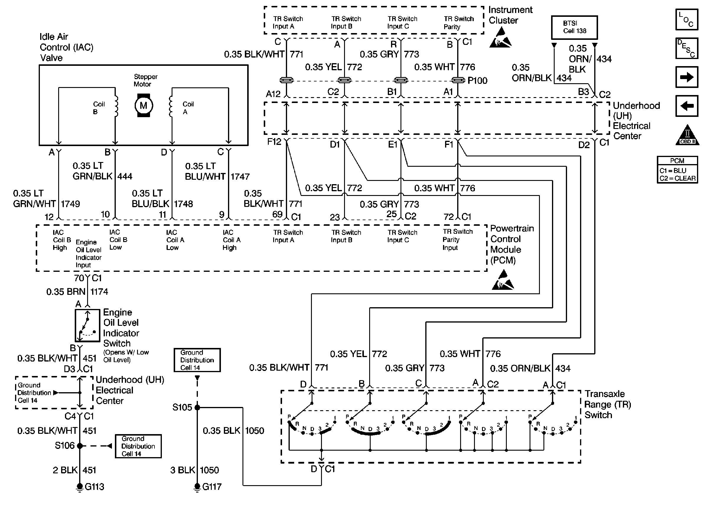
🢒 Transaxle Range Switch, IAC, Engine Oil Level
Transaxle Range Switch, IAC, Engine Oil Level
Transaxle Range Switch, IAC, Engine Oil Level
Engine Controls Components
Information Sensors
Automatic Transaxle (4T60-E), TCC switch
Vehicle Speed Sensor, Cruise
OBD II Symbol Description Notice
Handling ESD Sensitive Parts Notice
Handling ESD Sensitive Parts Notice