GM Service Manual Online
For 1990-2009 cars only

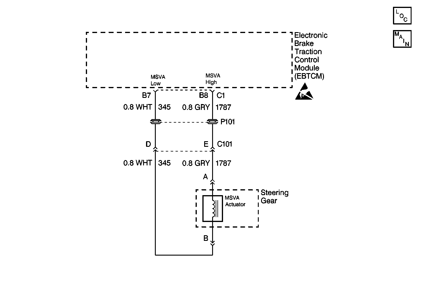
Object Number: 523741  Size: MF
Steering Controls Components
Cell 45: Power and Ground Distribution, Class II, and MSVA Actuator
Handling Electrostatic Discharge Sensitive Parts Notice

Circuit Description

When the Electronic Brake Traction Control Module (EBTCM) commands the electronic brake control relay ON, B+ is supplied through the EBTCM connector C1 terminal B8 to the MAGNASTEER actuator connector terminal A. Ground/control for the MAGNASTEER actuator is provided through the EBTCM connector C1 terminal B7 to MAGNASTEER actuator connector terminal B. The EBTCM controls the amount of current supplied to the MAGNASTEER actuator based on the input from the wheel speed sensors.

Conditions for Setting the DTC

    • DTC C1274 can be set once the electronic brake control relay is commanded ON.
    • Voltage drop is greater than 2.5V across the MAGNASTEER actuator driver.

Action Taken When the DTC Sets

    • The EBTCM stores DTC C1274 in memory.
    • The Antilock Brake System (ABS) is not disabled.
    • The amber ABS warning indicator lamp does not turn on.
    • The power steering returns to full assist.

Conditions for Clearing the DTC

DTC C1274 setting conditions no longer exist when the ignition switch is turned off.

Diagnostic Aids

The following conditions may cause this malfunction to occur:

    • A short to B+ in circuit 345 or 1787.
    • Circuit 345 and 1787 shorted together.
    • Faulty MSVA actuator.
    • Rubbed-through wire insulation.
    • Improperly formed or damaged terminals.
    • Physical damage to the wiring harness.

Ensure that all the ABS DTCs are diagnosed and corrected prior to cleaning VES DTCs. Cleaning the VES DTCs will automatically clear the ABS DTCs resulting in a loss of DTC history data. Refer to Diagnostic System Check in Antilock Brake System for more information.

Use the enhanced diagnostic function of the scan tool in order to measure the frequency of the malfunction. Refer to Enhanced Diagnostics for more information.

Important: Zero the J 39200 digital multimeter (DMM) test leads prior to making any resistance measurements. Refer to J 39200 user's manual.

Clear the DTCs after completing the diagnosis. Test drive the vehicle for three drive cycles in order to verify that the DTC does not reset. Use the following procedure in order to complete one drive cycle:

  1. Start the vehicle.
  2. Drive the vehicle over 16 km/h (10 mph).
  3. Stop the vehicle.
  4. Turn the ignition switch off.

Test Description

The number(s) below refer to the step number(s) on the diagnostic table.

  1. This step checks for a short to B+ in circuit 345.

  2. This step checks for proper resistance value of the MSVA actuator.

  3. This step determines whether the EBTCM is faulty or the malfunction is intermittent.

  4. This step determines whether the MSVA actuator is faulty or circuits 345 and 1787 are shorted together.

Step

Action

Value(s)

Yes

No

1

Was the ABS Diagnostic System Check performed?

--

Go to Step 2

Go to Diagnostic System Check in Antilock Brake System

2

  1. Turn the ignition switch off.
  2. Disconnect the Electronic Brake Traction Control Module (EBTCM) harness connectors.
  3. Turn the ignition switch on.
  4. Using a J 39200 DMM, measure the voltage between the EBTCM harness connector C1 terminal B7 and ground.

Is the measured voltage within the specified range?

Less than 2V

Go to Step 3

Go to Step 6

3

  1. Turn the ignition switch off.
  2. Using a J 39200 DMM, measure the resistance between the EBTCM harness connector C1 terminal B7 and C1 terminal B8.

Is the measured resistance within the specified range?

7-19ohms

Go to Step 4

Go to Step 5

4

  1. Inspect the EBCM harness connectors and the MSVA actuator harness connector for damage which may result in a short to voltage or an open with all the connectors connected. Repair the damage if evident.
  2. Reconnect all the connectors.
  3. Clear Variable Effort Steering (VES) Diagnostic Trouble Codes (DTCs). Refer to Clearing DTCs for more information.
  4. Start the engine. Wait 10 seconds.
  5. Check for VES DTCs. Refer to Displaying Diagnostic Trouble Codes (DTC) for more information.

Does DTC C1274 reset as a current DTC?

--

Go to Step 9

Go to Step 10

5

  1. Disconnect the MSVA actuator connector.
  2. Using a DMM, measure the resistance between the EBTCM harness connectors C1 terminal B7 and C1 terminal B8.

Is the measured resistance within the specified range?

Go to Step 8

Go to Step 7

6

Repair short to voltage in circuit 345.

Is the repair complete?

--

Go to Step 11

--

7

Repair short between circuits 345 and 1787.

Is the repair complete?

--

Go to Step 11

--

8

Replace the MSVA actuator. Refer to Variable Effort Steering Actuator Replacement for service procedure.

Is the repair complete?

--

Go to Step 11

--

9

Replace the EBTCM. Refer to Electronic Brake and Traction Control Module Replacement in Antilock Brake System for service procedure.

Is the repair complete?

--

Go to Step 11

--

10

The malfunction is not present at this time. Refer to Diagnostic Aids for additional information regarding this DTC.

Is the action complete?

--

System OK

--

11

  1. Turn the ignition switch off.
  2. Reconnect connectors/components removed.

Is the action complete?

--

Go to Diagnostic System Check in Antilock Brake System

--