GM Service Manual Online
For 1990-2009 cars only

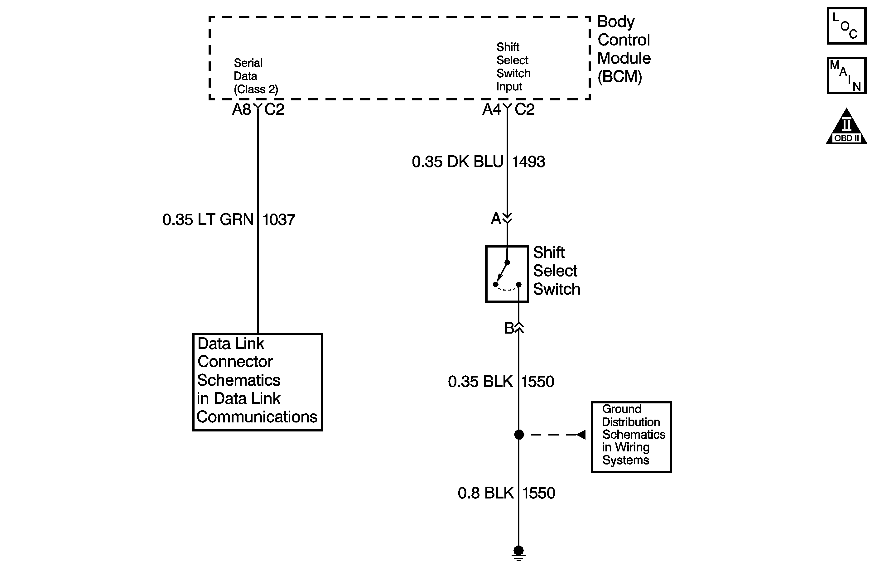
Object Number: 727144  Size: MF
Master Electrical Component List
Automatic Transmission Controls Schematics
OBD II Symbol Description Notice

Circuit Description

The shift select system allows the driver to select one of two shift patterns, NORMAL or PERFORMANCE. Pressing the shift select switch button on the shifter handle changes the shift pattern.

When the driver selects the PERFORMANCE shift pattern, the performance shift switch closes, which provides a ground signal to the body control module (BCM). When the BCM receives this input, it sends a message to the PCM and the instrument panel control (IPC) module. This signal activates the performance shift control program in the PCM and commands the IPC module to illuminate the PERF SHIFT indicator on the instrument panel.

The PERFORMANCE shift pattern has the following characteristics:

    • Upshifts occur at a higher vehicle speed.
    • Downshifts occur at a lower percentage throttle position.
    • Engine torque output is increased in 2nd and 3rd gear.

Test Description

The numbers below refer to the step numbers on the diagnostic table.

  1. This step verifies the repair by comparing the characteristics of the shift at a specific throttle angle in each shift mode.

Shift Performance Switch Inoperative

Step

Action

Value(s)

Yes

No

1

  1. Install a Scan Tool .
  2. Turn ON the ignition with the engine OFF.
  3. With the Scan Tool , observe Shift Mode while turning the shift select switch ON and OFF.

Does the Scan Tool display indicate both PERFORMANCE and NORMAL modes?

--

Go to Intermittent Conditions in Engine Controls

Go to Step 2

2

Does the Scan Tool always display PERFORMANCE mode?

--

Go to Step 7

Go to Step 3

3

  1. Disconnect the shift select shift switch.
  2. Connect a fused jumper wire between terminal A and terminal B of the switch connector.
  3. Turn ON the ignition with the engine OFF.

Does the Scan Tool display PERFORMANCE mode?

--

Go to Step 8

Go to Step 4

4

  1. Connect terminal A to a good ground.
  2. Turn ON the ignition with the engine OFF.

Does the Scan Tool display PERFORMANCE mode?

--

Go to Step 5

Go to Step 6

5

Test the ground circuit (CKT 1550) of the shift select switch for an open between the switch and the chassis.

Refer to Circuit Testing and Wiring Repairs in Wiring Systems.

Did you find and correct a condition?

--

Go to Step 9

Go to Step 6

6

Test the input circuit (CKT 1493) of the shift select switch for an open between the BCM and the switch.

Refer to Circuit Testing and Wiring Repairs in Wiring Systems.

Did you find and correct a condition?

--

Go to Step 9

Go to A Diagnostic System Check - Body Control System in Body Control System

7

Test the input circuit (CKT 1493) of the shift select switch for a short to ground between the BCM and the switch.

Refer to Circuit Testing and Wiring Repairs in Wiring Systems.

Did you find and correct a condition?

--

Go to Step 9

Go to A Diagnostic System Check - Body Control System in Body Control System

8

Replace the shift select switch.

Refer to Shift Select Switch Replacement.

Is the replacement complete?

--

Go to Step 9

--

9

Perform the following procedure in order to verify the repair:

    • Drive the vehicle in D4 with a throttle angle of 50%.
    • Using NORMAL shift mode, accelerate the vehicle.
    • Using PERFORMANCE shift mode, accelerate the vehicle.

Are the shift speeds higher and more firm in the PERFORMANCE mode?

--

System OK

Go to Step 1