GM Service Manual Online
For 1990-2009 cars only

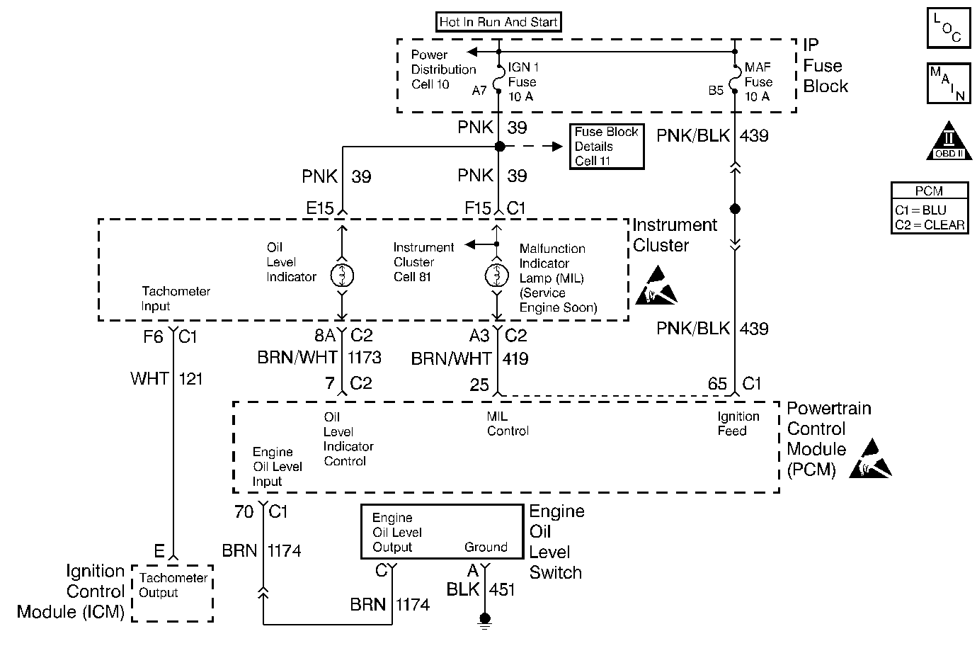
Object Number: 58381  Size: MF
Engine Controls Components
PCM Ignition Control VIN 1 and K
OBD II Symbol Description Notice
Handling ESD Sensitive Parts Notice
Handling ESD Sensitive Parts Notice

Circuit Description

The engine oil level switch is a float switch that is grounded when the engine oil level is OK. The PCM checks engine oil level at startup. Before checking the state of the engine oil level switch, the PCM performs a test routine based on time and engine coolant temperature to ensure that the engine oil has drained back into the sump. To test for low oil level at startup, the following conditions must be present:

    • Startup engine coolant temperature must be greater than 15° C (59° F).
    • Startup engine coolant temperature must be at least 12° C (22° F) cooler than the engine coolant temperature was at the last key OFF.

The low engine oil level lamp will be illuminated for about a minute when the PCM checks for low oil level and the engine oil level switch indicates that a low oil level condition exists (engine oil level switch circuit not grounded). When the ignition is first turned ON, the PCM commands the low engine oil level lamp ON for a brief period of time to test the bulb.

Diagnostic Aids

For diagnosis of the instrument panel, refer to the Instrument Panel System Check in Electrical Diagnosis.

Check for the following conditions:

    • Poor connection at the PCM or the engine oil level switch.
        Inspect harness connectors for backed out terminals, improper mating, broken locks, improperly formed or damaged terminals, and poor terminal to wire connection.
    • Damaged harness.
        Inspect the wiring harness for damage. If the harness appears to be OK, disconnect the PCM and turn the ignition ON. Observe a digital multimeter connected to measure voltage on the affected circuit while moving connectors and wiring harnesses related to the engine oil level switch. A change in voltage will indicate the location of the fault.
    • Low engine oil level lamp control circuit.
        If a problem with the low engine oil level lamp can not be isolated using the Engine Oil Level Switch diagnostic table, refer to Powertrain Control Module Controlled Warning Lamps Diagnosis .

Test Description

Number(s) below refer to the step number(s) on the Diagnostic Chart.

  1. This vehicle is equipped with a PCM which utilizes an Electrically Erasable Programmable Read Only Memory (EEPROM). When the PCM is being replaced, the new PCM must be programmed.

  2. For the PCM to check engine oil level, startup engine coolant temperature must be at least 12° C (22° F) cooler than the engine coolant temperature was last time the ignition was turned OFF. Allowing the engine to warm and then cool ensures that the PCM checks the engine oil level switch and that the information displayed on the scan tool is current.

Engine Oil Level Switch Diagnosis

Step

Action

Value(s)

Yes

No

1

Important: Ensure that engine oil level is not low (as indicated on engine oil level indicator) before continuing diagnosis.

Was the Powertrain On-Board Diagnostic (OBD) System Check performed?

--

Go to Step 2

Go to Powertrain On Board Diagnostic (OBD) System Check

2

Observe Engine Oil Level displayed on the scan tool.

Does Engine Oil Level display OK?

--

Go to Powertrain Control Module Controlled Warning Lamps Diagnosis

Go to Step 3

3

  1. Ignition OFF, disconnect the PCM connector.
  2. With a J 35616-200 Unpowered Test Light to B+, probe the engine oil level switch signal circuit at the PCM.

Is the test light ON?

--

Go to Step 7

Go to Step 4

4

  1. Ignition OFF, reconnect the PCM.
  2. Ignition ON.
  3. Raise the vehicle.
  4. Disconnect the engine oil level switch connector.
  5. Connect a J 39200 digital multimeter to measure voltage between the engine oil level switch terminals.

Does the DVM display voltage near the specified value?

B+

Go to Step 8

Go to Step 5

5

Connect the digital multimeter to measure voltage between the engine oil level switch signal circuit and chassis ground.

Does the digital multimeter display a voltage near the specified value?

B+

Go to Step 9

Go to Step 6

6

  1. Check the engine oil level switch signal circuit for an open.
  2. If a problem is found, repair as necessary. Refer to Repair Procedures in Electrical Diagnosis.

Was a problem found?

--

Go to Step 12

Refer to Diagnostic Aids

7

  1. Check for poor terminal connections at the PCM.
  2. If a problem is found, repair as necessary. Refer to Repair Procedures in Electrical Diagnosis.

Was a problem found?

--

Go to Step 12

Go to Step 11

8

  1. Check for poor terminal connections at the engine oil level switch.
  2. If a problem is found, repair as necessary. Refer to Repair Procedures in Electrical Diagnosis.

Was a problem found?

--

Go to Step 12

Go to Step 10

9

Locate and repair open in the engine oil level switch ground circuit (CKT 451). Refer to Repair Procedures in Electrical Diagnosis.

Is action complete?.

--

Go to Step 12

--

10

Replace the engine oil level switch. Refer to Engine Oil Level Switch .

Is action complete?

--

Go to Step 12

--

11

Replace the PCM.

Important: Replacement PCM must be programmed. Refer to Powertrain Control Module Replacement/Programming .

Is action complete?

--

Go to Step 12

--

12

  1. Start the engine and allow it to warm until engine coolant temperature is at least 70° C (158° F).
  2. Turn OFF the ignition switch and allow the engine to cool for at least 15 minutes.
  3. Turn ON the ignition switch.
  4. Observe Engine Oil Level display on the scan tool.

Does Engine Oil Level display OK?

--

System OK

Go to Step 3