GM Service Manual Online
For 1990-2009 cars only
Makes
🢒
Buick
🢒
1997
🢒
Riviera
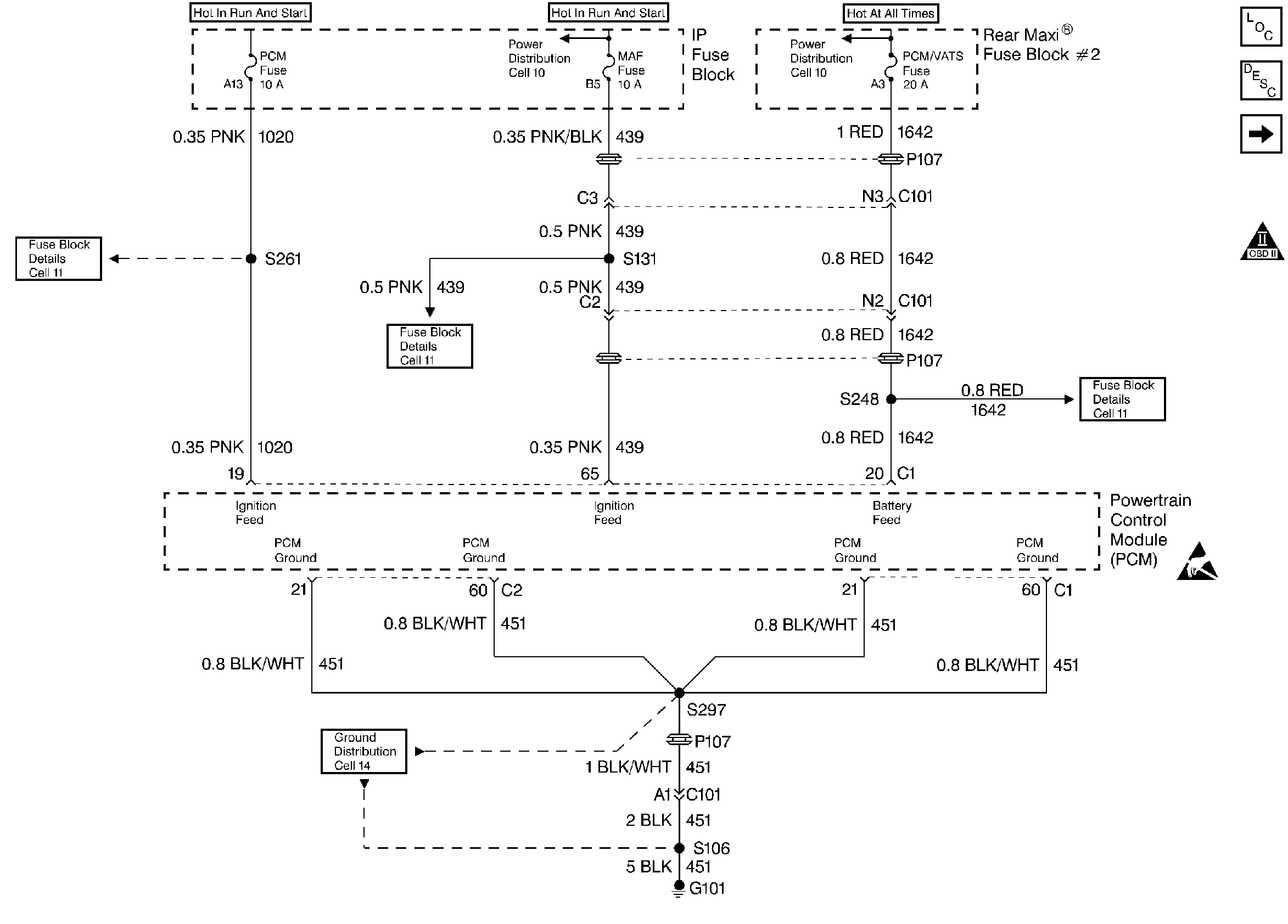
🢒 PCM Battery Feed, Ignition Feed, Grounds
PCM Battery Feed, Ignition Feed, Grounds
PCM Battery Feed, Ignition Feed, Grounds
Engine Controls Components
Malfunction Indicator Lamp (MIL) Inoperative
5 Volt Reference A
OBD II Symbol Description Notice
Handling ESD Sensitive Parts Notice