GM Service Manual Online
For 1990-2009 cars only
Makes
🢒
Buick
🢒
1997
🢒
Riviera
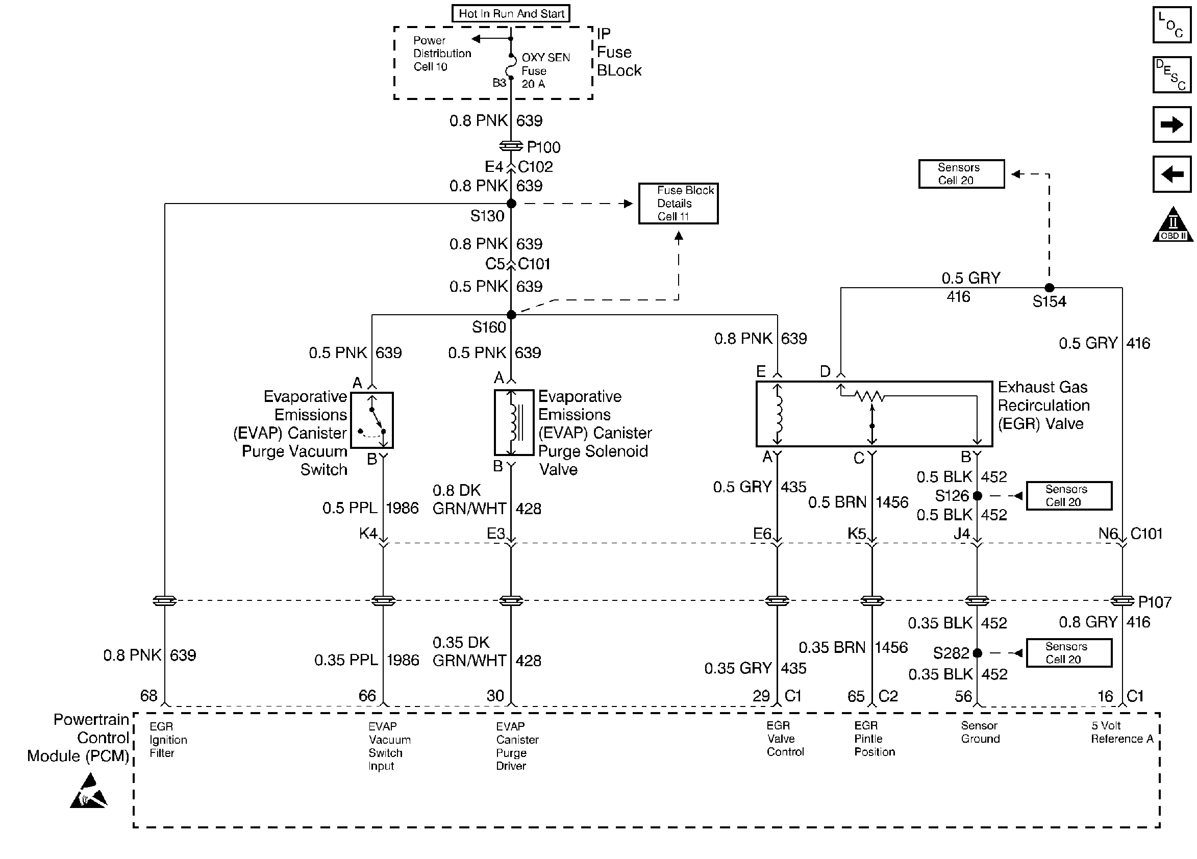
🢒 EVAP System, EGR Valve
EVAP System, EGR Valve
EVAP System, EGR Valve
Engine Controls Components
Information Sensors
Idle Air Control Valve, MAF Sensor, Knock Sensors
PCM Sensors
OBD II Symbol Description Notice
Handling ESD Sensitive Parts Notice