GM Service Manual Online
For 1990-2009 cars only
Makes
🢒
Buick
🢒
1998
🢒
Riviera
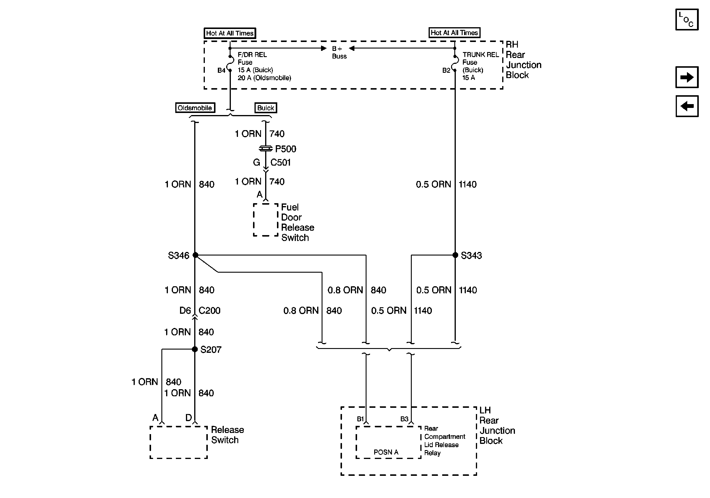
🢒 Cell 10: F/DR REL and TRUNK REL Fuses
Cell 10: F/DR REL and TRUNK REL Fuses
Cell 10: F/DR REL and TRUNK REL Fuses
Power and Grounding Components
Cell 10: IP 2 Fuse and HTD ST Fuses
Cell 10: F/PMP, HZRD/STOP and INTR LP Fuses
Cell 10: Battery Power