GM Service Manual Online
For 1990-2009 cars only
Makes
🢒
Buick
🢒
1998
🢒
Riviera
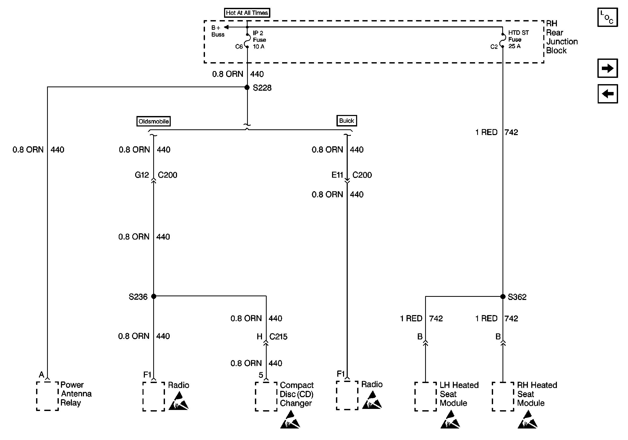
🢒 Cell 10: IP 2 Fuse and HTD ST Fuses
Cell 10: IP 2 Fuse and HTD ST Fuses
Cell 10: IP 2 Fuse and HTD ST Fuses
Power and Grounding Components
Cell 10: IP 1 Fuse (Buick)
Cell 10: F/DR REL and TRUNK REL Fuses
Handling ESD Sensitive Parts Notice
Handling ESD Sensitive Parts Notice
Handling ESD Sensitive Parts Notice
Handling ESD Sensitive Parts Notice
Handling ESD Sensitive Parts Notice
Cell 10: Battery Power