GM Service Manual Online
For 1990-2009 cars only

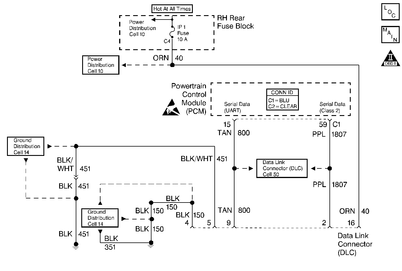
Object Number: 406559  Size: MF
Engine Controls Components
Engine Controls Schematics
OBD II Symbol Description Notice
Handling ESD Sensitive Parts Notice

Circuit Description

The Class 2 serial data circuit to the DLC allows bi-directional communication between the PCM and the scan tool. If communication between the scan tool and the PCM cannot be established, the procedure in the DLC Diagnosis table should be used to diagnose the condition.

Diagnostic Aids

Check the following items:

    • For the PCM to establish communication with the scan tool, system voltage must be between 9.0 and 16.0 volts. If system voltage is not within this range, refer to Charging System Check .
    • Ensure that the correct application (model year, carline, VIN code) has been selected on the scan tool; if communication still cannot be established try the scan tool on another vehicle to ensure that the scan tool or cables are not the cause of the condition.
    • An intermittent may be caused by a poor connection, rubbed through wire insulation or a wire broken inside the insulation. Check for poor connections or a damaged harness. Inspect the PCM harness and connectors for improper mating, broken locks, improperly formed or damaged terminals, poor terminal to wire connection, and damaged harness.

Test Description

Number(s) below refer to the Step number(s) on the Diagnostic Table:

  1. This vehicle is equipped with a PCM which utilizes an Electrically Erasable Programmable Read Only Memory (EEPROM). When the PCM is being replaced, the new PCM must be programmed.

DLC Diagnosis

Step

Action

Value(s)

Yes

No

1

Was the Powertrain On-Board Diagnostic (OBD) System Check performed?

--

Go to Step 2

Go to Powertrain On Board Diagnostic (OBD) System Check

2

  1. Disconnect the scan tool.
  2. Turn ON the ignition.
  3. Probe the DLC battery positive voltage circuit (cavity 16) with a test lamp to chassis ground.

Is the test lamp ON?

--

Go to Step 3

Go to Step 10

3

Probe both of the DLC ground circuits (cavities 4 and 5) with a test lamp to B+.

Is the test lamp ON at both ground circuits?

--

Go to Step 4

Go to Step 9

4

Probe the Class 2 serial data circuit at the DLC with a Digital Multimeter to ground.

Is the voltage near the specified value?

0 V

Go to Step 5

Go to Step 7

5

  1. Turn OFF the ignition.
  2. Disconnect the PCM.
  3. Turn ON the ignition.
  4. Probe the Serial Data (Class 2) circuit at the DLC with a test lamp to B+.

Is the test lamp ON?

--

Go to Step 8

Go to Step 6

6

  1. Check the Serial Data (Class 2) circuit for an open between the DLC and the PCM.
  2. If a problem is found, repair as necessary. Refer to Wiring Repairs .

Was a problem found?

--

Go to Powertrain On Board Diagnostic (OBD) System Check

Go to Step 11

7

  1. Check the Serial Data (Class 2) circuit for a short to voltage.
  2. If a problem is found, repair as necessary. Refer to Wiring Repairs .

Was a problem found?

--

Go to Powertrain On Board Diagnostic (OBD) System Check

Go to Step 11

8

Locate and repair the short to ground in the Serial Data (Class 2) circuit. Refer to Wiring Repairs .

Is the action complete?

--

Go to Powertrain On Board Diagnostic (OBD) System Check

--

9

Locate and repair the open in the affected DLC ground circuit. Refer to Wiring Repairs .

Is the action complete?

--

Go to Powertrain On Board Diagnostic (OBD) System Check

--

10

Locate and repair the open or short to ground in the DLC battery positive voltage circuit. Refer to Wiring Repairs .

Is the action complete?

--

Go to Powertrain On Board Diagnostic (OBD) System Check

--

11

Check for a poor connection at the PCM and DLC connection. Refer to Intermittents and Poor Connections Diagnosis .

Was a problem found.

--

Go to Powertrain On Board Diagnostic (OBD) System Check

Go to Step 12

12

Important:: Replacement PCM must be programmed.

Replace the PCM. Refer to Powertrain Control Module Replacement/Programming .

Is the action complete?

--

Go to Powertrain On Board Diagnostic (OBD) System Check

--