GM Service Manual Online
For 1990-2009 cars only
Figure 1:

Cell 44: PWR, GND, and ABS Relays


Object Number: 378091  Size: FS
ABS Components
ABS Description
Cell 44: Stoplamp/BTSI Switch, Inlet/Outlet Solenoid Valve, and WHEEl Speed Sensors
Handling ESD Sensitive Parts Notice
Cell 14: G102, G104, G106, G110, and G301 (Battery Ground)
Cell 14: G202 (Buick 1 of 3)
Cell 14: G202 (Oldsmobile 2 of 3)
Cell 14: G102, G104, G106, G110, and G301 (Battery Ground)
Cell 50: Serial Data UART
Cell 44: Stoplamp/BTSI Switch, Inlet/Outlet Solenoid Valve, and WHEEl Speed Sensors
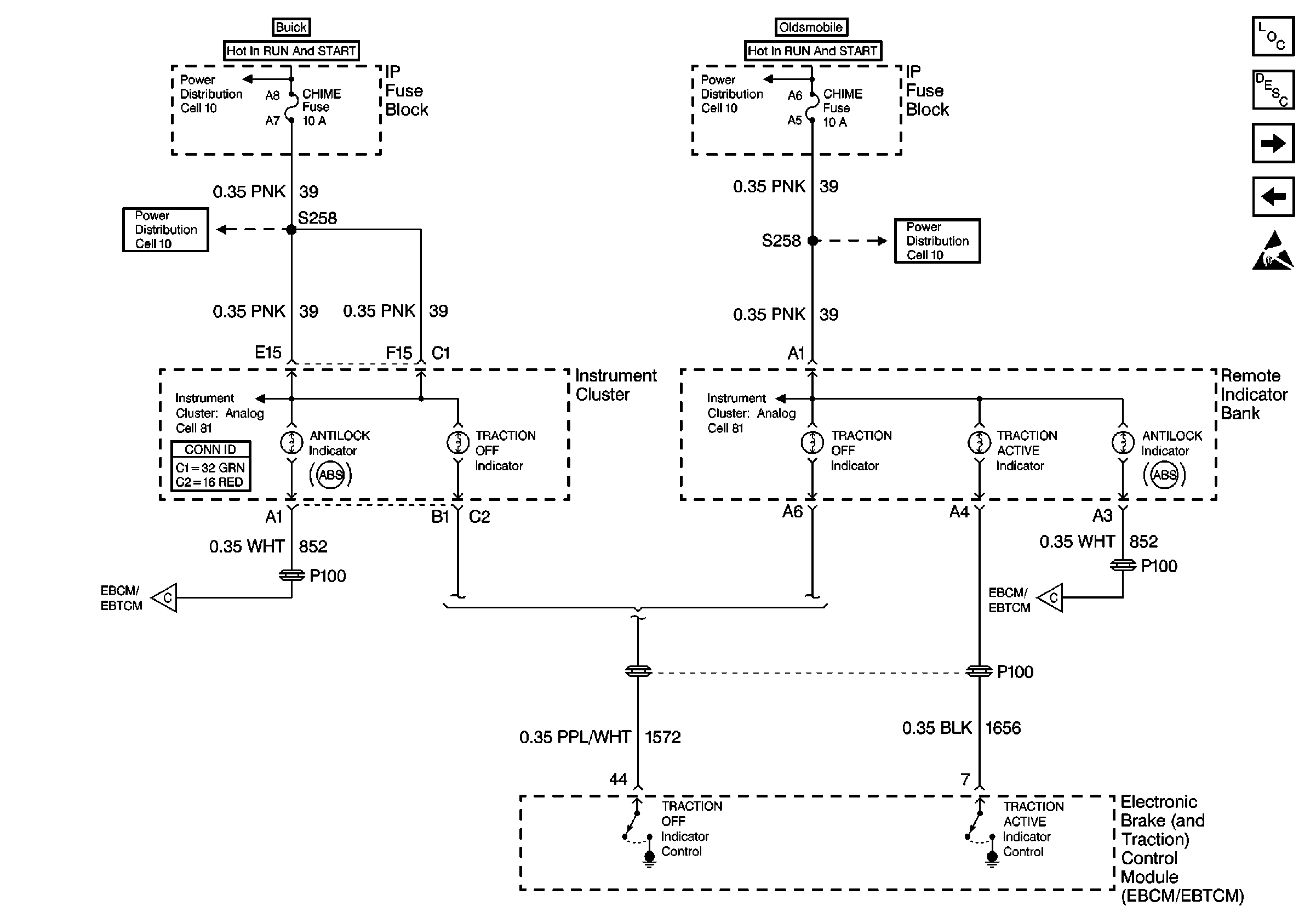
Cell 44: ABS and Traction Control Indicators
Figure 2:

Cell 44: Stoplamp/BTSI Switch, Inlet/Outlet Solenoid Valve, and Wheel Speed Sensors


Object Number: 378152  Size: FS
ABS Components
ABS Description
Cell 44: ABS and Traction Control Indicators
Cell 44: PWR, GND, and ABS Relays
Handling ESD Sensitive Parts Notice
Cell 110: Turn/Hazard Switch and Stoplamp/BTSI Switch
Cell 110: Turn/Hazard Switch and Stoplamp/BTSI Switch
Cell 10: HTD ST/IP Fuse and EXT LP Fuse
Cell 44: PWR, GND, and ABS Relays
Cell 44: ABS/TCS Switch, Isolation Valve Solenoids, and PCM
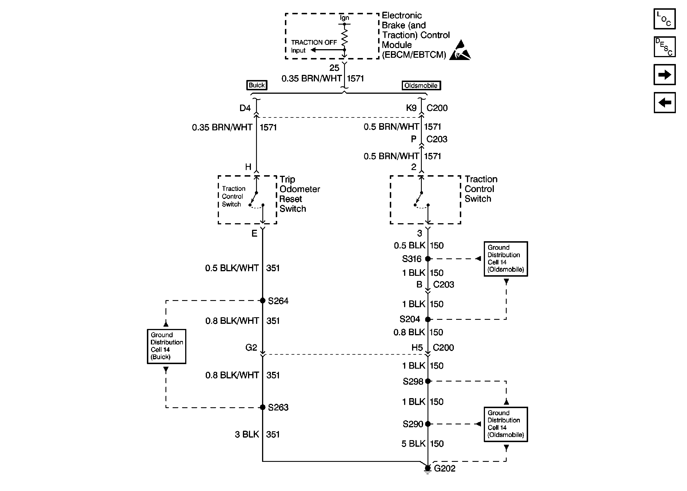
Figure 3:

Cell 44: ABS and Traction Control Indicators


Object Number: 378156  Size: FS
ABS Components
ABS Description
Cell 44: Traction Control Switch
Cell 44: Stoplamp/BTSI Switch, Inlet/Outlet Solenoid Valve, and WHEEl Speed Sensors
Handling ESD Sensitive Parts Notice
Cell 10: CHIME(IGN 1) Fuse (Oldsmobile)
Cell 81: Traction Off Indicator
Cell 10: IGN 3 Fuse, Ignition Switch (Oldsmobile)
Cell 81: Airbag Indicator
Cell 10: CHIME(IGN 1) Fuse (Buick)
Cell 10: IGN 3 Fuse, Ignition Switch (Buick)
Cell 44: PWR, GND, and ABS Relays
Cell 44: PWR, GND, and ABS Relays
Figure 4:

Cell 44: Traction Control Switch


Object Number: 378157  Size: FS
ABS Components
ABS Description
Cell 44: ABS/TCS Switch, Isolation Valve Solenoids, and PCM
Cell 44: ABS and Traction Control Indicators
Handling ESD Sensitive Parts Notice
Cell 14: G202 (Oldsmobile 3 of 3)
Cell 14: G202 (Oldsmobile 1 of 3)
Cell 14: G202 (Buick 1 of 3)
Figure 5:

Cell 44: ABS/TCS Switch, Isolation Valve Solenoids, and PCM


Object Number: 378161  Size: FS
ABS Components
ABS Description
Cell 44: Traction Control Switch
Handling ESD Sensitive Parts Notice
Cell 44: PWR, GND, and ABS Relays