GM Service Manual Online
For 1990-2009 cars only
Makes
🢒
Buick
🢒
1999
🢒
Riviera
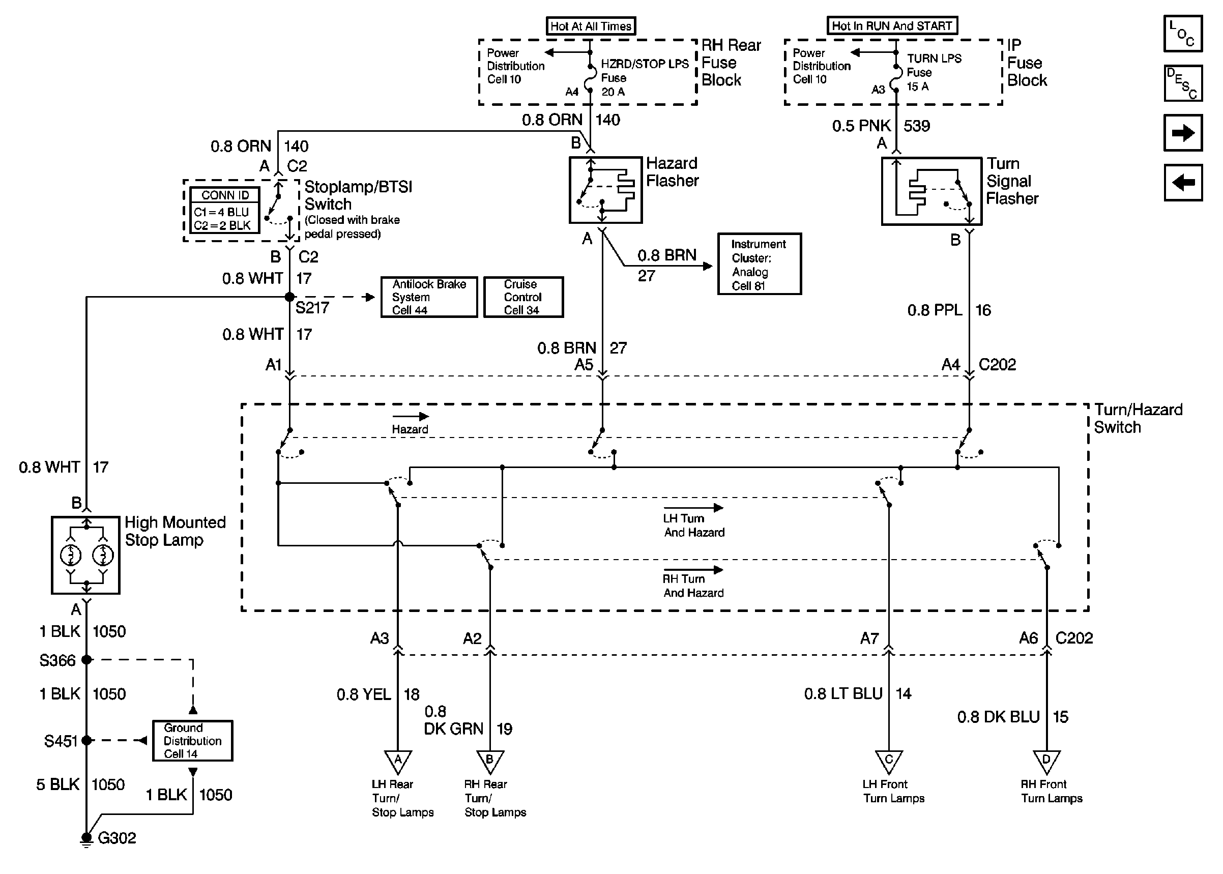
🢒 Cell 110: Turn/Hazard Switch and Stoplamp/BTSI Switch
Cell 110: Turn/Hazard Switch and Stoplamp/BTSI Switch
Cell 110: Turn/Hazard Switch and Stoplamp/BTSI Switch
Lighting Systems Components
Exterior Lights Circuit Description
Cell 110: RH Lamps
Cell 110: Headlamp Switch and Park Lamp Control
Power Distribution Schematics
Power Distribution Schematics
Cell 44: Stoplamp/BTSI Switch, Inlet/Outlet Solenoid Valve, and WHEEl Speed Sensors
Cell 34: Cruise Control Module - Power, Ground and VSS
Cell 81: Traction Off Indicator
Ground Distribution Schematics
Cell 110: LH Lamps
Cell 110: RH Lamps
Cell 110: LH Lamps
Cell 110: RH Lamps