GM Service Manual Online
For 1990-2009 cars only

Removal Procedure

  1. Remove the trim panel. Refer to one of the following procedures:
  2. •  Door Trim Panel Replacement
    •  Front Side Door Trim Panel Replacement
    •  Rear Side Door Trim Panel Replacement
  3. Remove the upper part of the water deflector. Refer to Door Water Deflector Replacement .

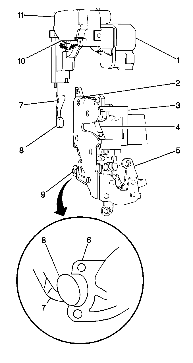
  4. Object Number: 284135  Size: LH
  5. Remove the harness from the latch (3).
  6. Remove the lock rods from the latch (3).
  7. Remove the 3 screws.
  8. Remove the lock assembly (1).

Installation Procedure


    Object Number: 284135  Size: LH
  1. Install the lock assembly (1).
  2. Notice: Use the correct fastener in the correct location. Replacement fasteners must be the correct part number for that application. Fasteners requiring replacement or fasteners requiring the use of thread locking compound or sealant are identified in the service procedure. Do not use paints, lubricants, or corrosion inhibitors on fasteners or fastener joint surfaces unless specified. These coatings affect fastener torque and joint clamping force and may damage the fastener. Use the correct tightening sequence and specifications when installing fasteners in order to avoid damage to parts and systems.

  3. Install the 3 screws.
  4. Tighten
    Tighten the screws to 7 N·m (62 lb in).

  5. Install the lock rods to the latch (3).
  6. Install the harness to the latch (3).
  7. Install the upper part of the water deflector. Refer to Door Water Deflector Replacement .
  8. Install the trim panel. Refer to one of the following procedures:
  9. •  Door Trim Panel Replacement
    •  Front Side Door Trim Panel Replacement
    •  Rear Side Door Trim Panel Replacement