GM Service Manual Online
For 1990-2009 cars only

Power Seats Schematics Buick

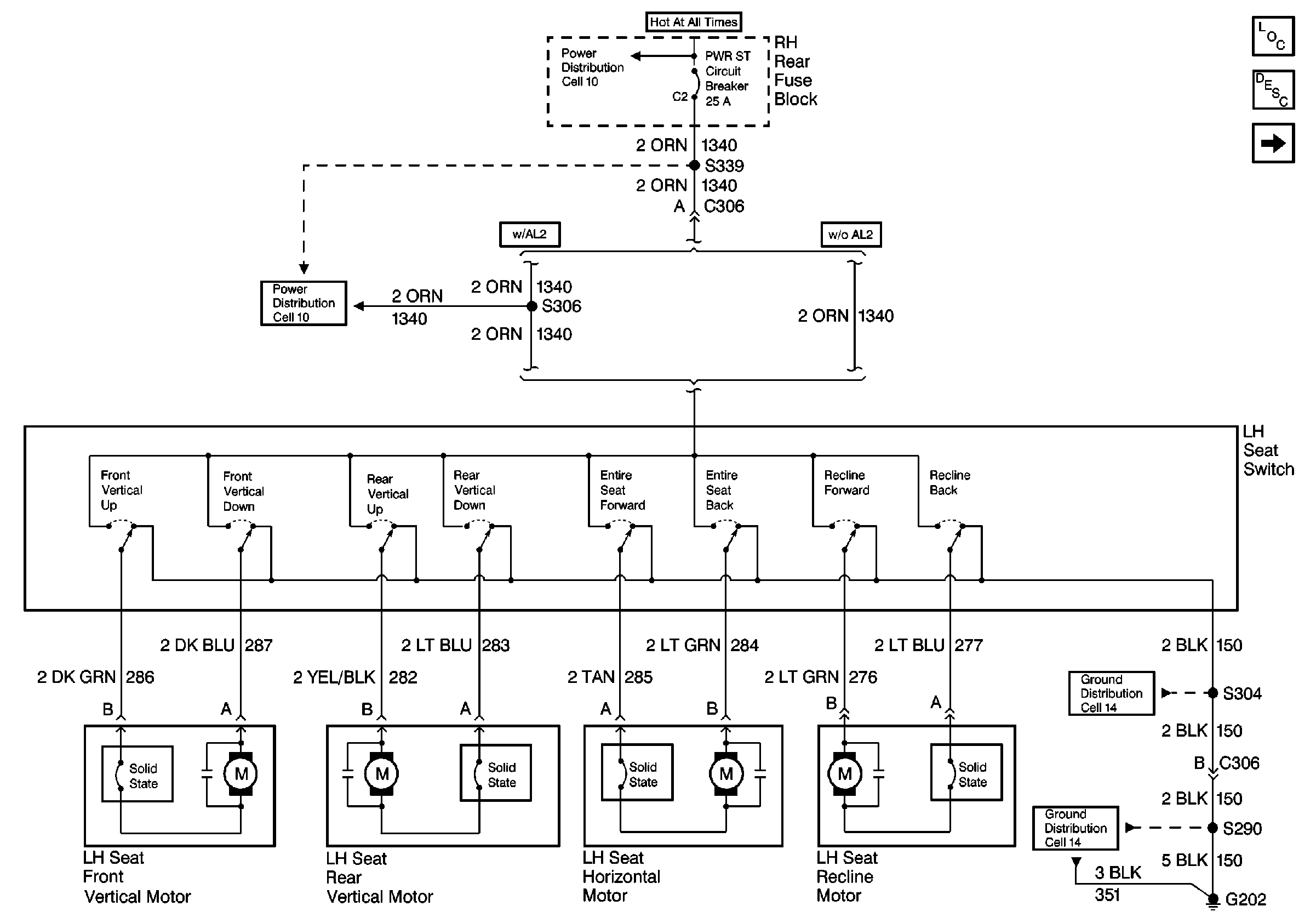
Figure 1:

Cell 140: LH Power Seat w/o A45


Object Number: 342337  Size: FS
Power Seat Component Views
Power Seats Circuit Description
Cell 140: RH Power Seat
Power Distribution Schematics
Power Distribution Schematics
Ground Distribution Schematics
Ground Distribution Schematics
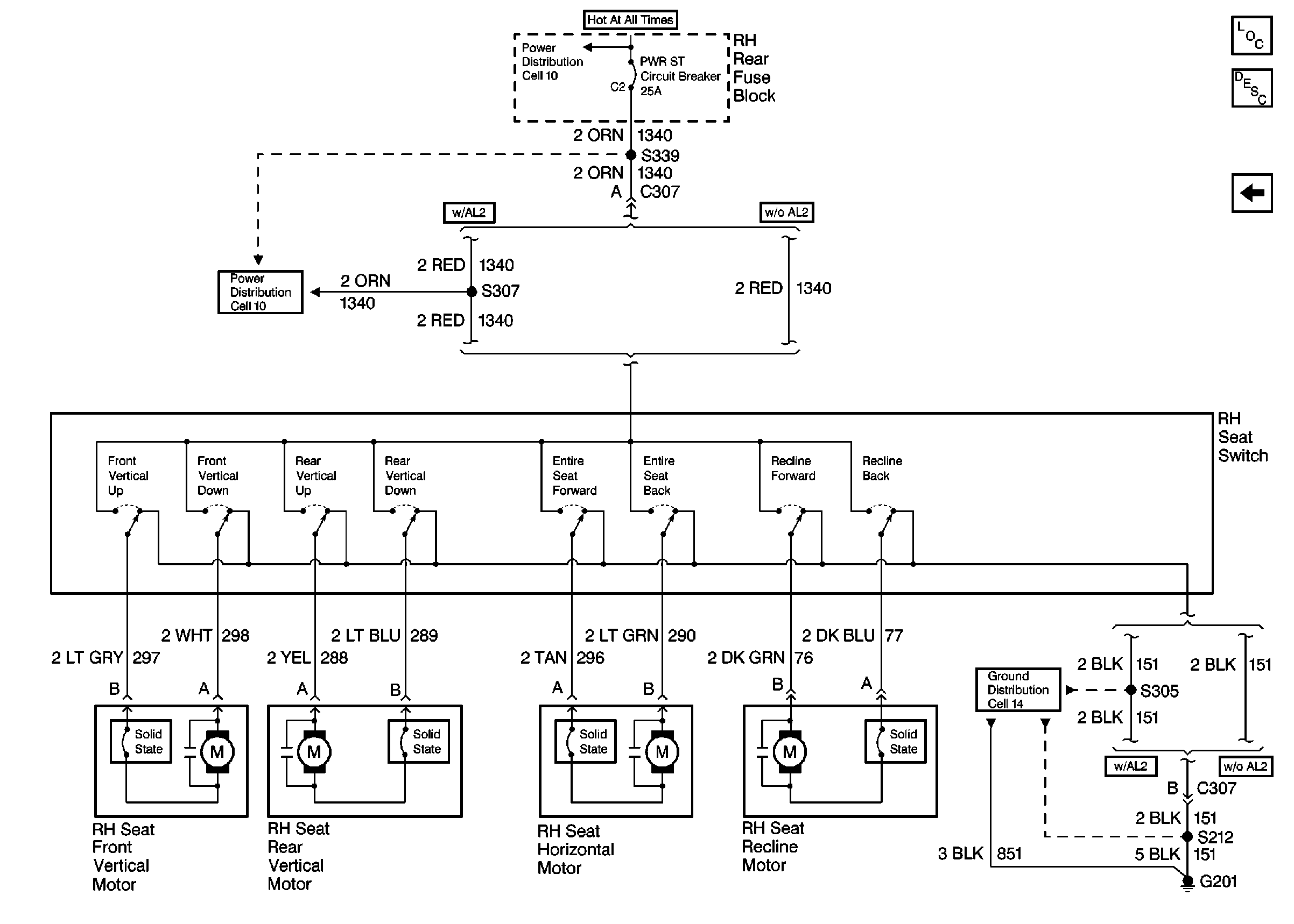
Figure 2:

Cell 140: RH Power Seat


Object Number: 342339  Size: FS
Power Seat Component Views
Power Seats Circuit Description
Cell 140: LH Power Seat w/o A45
Power Distribution Schematics
Power Distribution Schematics
Ground Distribution Schematics

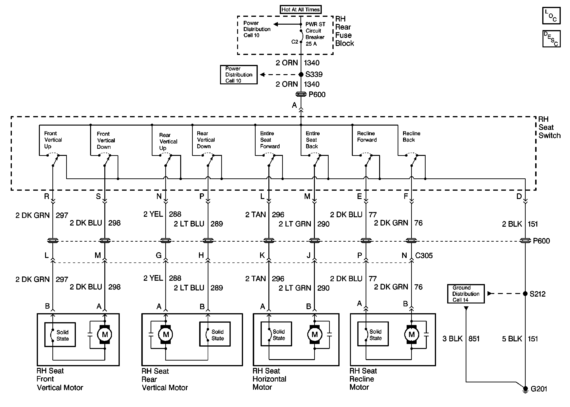
Power Seats Schematics Oldsmobile

Cell 140: RH Power Seat


Object Number: 342340  Size: FS
Power Seat Component Views
Power Seats Circuit Description
Power Distribution Schematics
Power Distribution Schematics
Ground Distribution Schematics